Starlink星链安装支架保护套 发明专利侵权预警
【卖家精灵&跨境侵权哥折扣码】:
QQG72:单人版(1个账号)原价72折,2688立减760,优惠价1928
QQG78:标准版(1+3)原价78折,4416立减971,优惠价3445(标准版以上也是78折码)
使用流程:
https://www.sellersprite.com/cn/price
1.选择包年——支付宝/对公账户购买
2.在折扣券输入优惠码,点击检测有效性
3.检查订单价格,提交订单并支付。
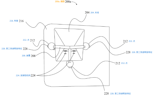
这个基础版的天线支架,必须包含以下所有部分:
-
一个中央主体: 就像蜘蛛的身体,是整个支架的核心,负责协调天线的移动和定位。
-
一个天线连接口: 连接在主体上,用来固定天线本身。
-
一个快速拆卸按钮:
-
功能: 能让你快速把天线从这个连接口上取下来。
-
设计: 是一个“一按即弹”的按钮,带弹簧,通常装在支架的后面(方便操作)。
-
至少三条“腿”(支臂):
-
每条“腿”都连接在中央主体上,并向外延伸。
-
每条“腿”都有连接身体的一端(近端)和远离身体的一端(远端)。
-
至少三个固定点:
-
每个固定点都在一条“腿”的末端。
-
关键功能: 用吸盘来把整个支架固定在一个平面上。至少有两个固定点必须装有吸盘。
简单总结基础版: 这是一个至少三条腿的支架,其中至少两条腿的末端有吸盘,支架中央有个接口用来装天线,并且可以通过按后面的按钮把天线快速拆下来。任何包含所有这些特征的天线支架,都落入了这个权利要求的保护范围。
优质服务推荐

抱团交流
一个集大神卖家与逗趣同行于一体的交流群,扫码添加客服微信(备注“进群”哦)。
目前100000+人已关注加入我们
文章为作者独立观点,不代表AMZ520立场。如有侵权,请联系我们。
