爆品维权!网红多肉抱枕、奶酪开瓶器、蜂鸟喂食器
销售创意产品需谨慎!
这些看似有趣的商品涉及侵权
目前已有品牌方提起诉讼了
案件号:25-cv-03157
立案时间:2025年3月25日
原告:Innovation Industries, LLC
原告官网:hummerhearth.com/
原告律所:Sullivan & Carter, LLP
Hummer Hearth蜂鸟喂食加热器,采用智能温控技术,轻柔加热花蜜,避免冻结,同时适配各类喂食器,让蜂鸟在严寒中仍能享用新鲜食物。简单安装,安心使用。
维权的版权&商标
▼
案件号:25-cv-03803
立案时间:2025年4月9日
原告:Merrigo Life LLC
原告官网:greenphilosophy.co/
代理律所:Dickinson Wright
GREEN PHILOSOPHY 以自然为灵感源泉,致力于打造风格统一的家居装饰品牌,让植物的美好融入日常生活的每个角落。其产品线丰富多元,既有温馨实用的家居装饰(如抱枕、毯子、杯垫),也有充满艺术气息的植物主题画作与摆件。
需要说明的是,尽管原告未明确主张具体权利,但根据官方登记信息显示,原告实际持有8件有效注册商标及5项著作权登记。经初步比对,以下知识产权存在涉诉可能性:
涉及的版权
(包括但不限于)
▼
涉及的商标
▼
案件号:25-cv-03944
立案时间:2025年4月11日
原告:My Oil Key, LLC
代理律所:Keener & Associates
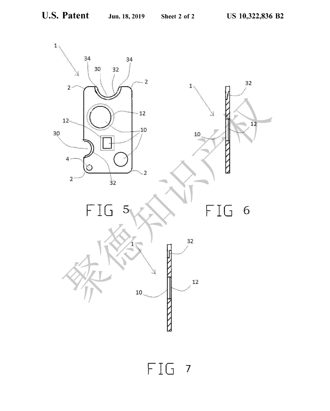
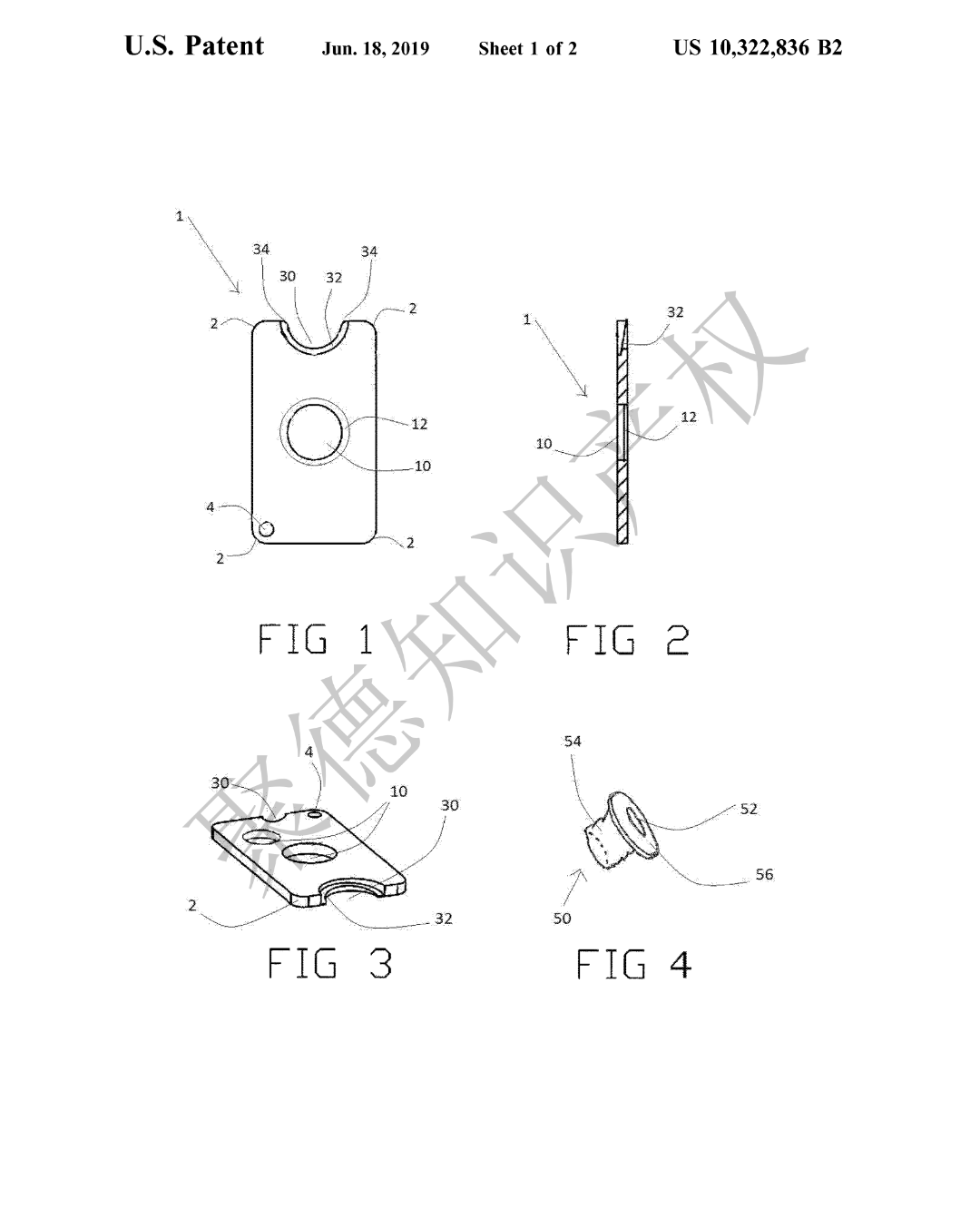
原告旗下Big Cheese开瓶器,以瑞士奶酪为灵感,获专利。其“三孔双弧”结构,矩形铝合金匙身,三孔三角支撑,开盖轻松;两端半圆切口贴合指腹,单手“旋—撬—扣”,告别刀撬、牙咬的尴尬。
维权的专利
▼
赔偿标准的确定是一个多方因素综合衡量的过程。侵权产品的销售规模及金额是最核心的考量指标;账户冻结资金额度直接影响赔偿基准;侵权主观故意程度、管辖法院的选择、原告取证程序的合法性等也将影响最终裁量。鉴于评估要素的多元性,案件初期难以准确预估具体赔偿数额。
实务操作中,通常需要通过与原告律师的多轮谈判,在综合评估各项因素后确定和解区间。这一过程既需要合理的时间周期,也依赖于专业律师的谈判技巧和实务经验。因此,我们强烈建议在收到侵权通知后立即寻找律师介入案件。
抱团交流
一个集大神卖家与逗趣同行于一体的交流群,扫码添加客服微信(备注“进群”哦)。
目前100000+人已关注加入我们
下一篇:超60%美国企业CEO预计:美国将在6个月内陷入经济衰退!
上一篇:改写游戏规则,Nox聚星让网红带货从“玄学”变“科学”:AI频道分析上线
文章为作者独立观点,不代表AMZ520立场。如有侵权,请联系我们。

推荐阅读


