美国外观专利第22期|3.10咖啡周边产品专利下证合集

编辑 | 哦莫
以下是近期最新获得美国专利局授权的部分外观设计以及发明专利产品,专利已下证,卖家们需注意规避,避免侵权风险!
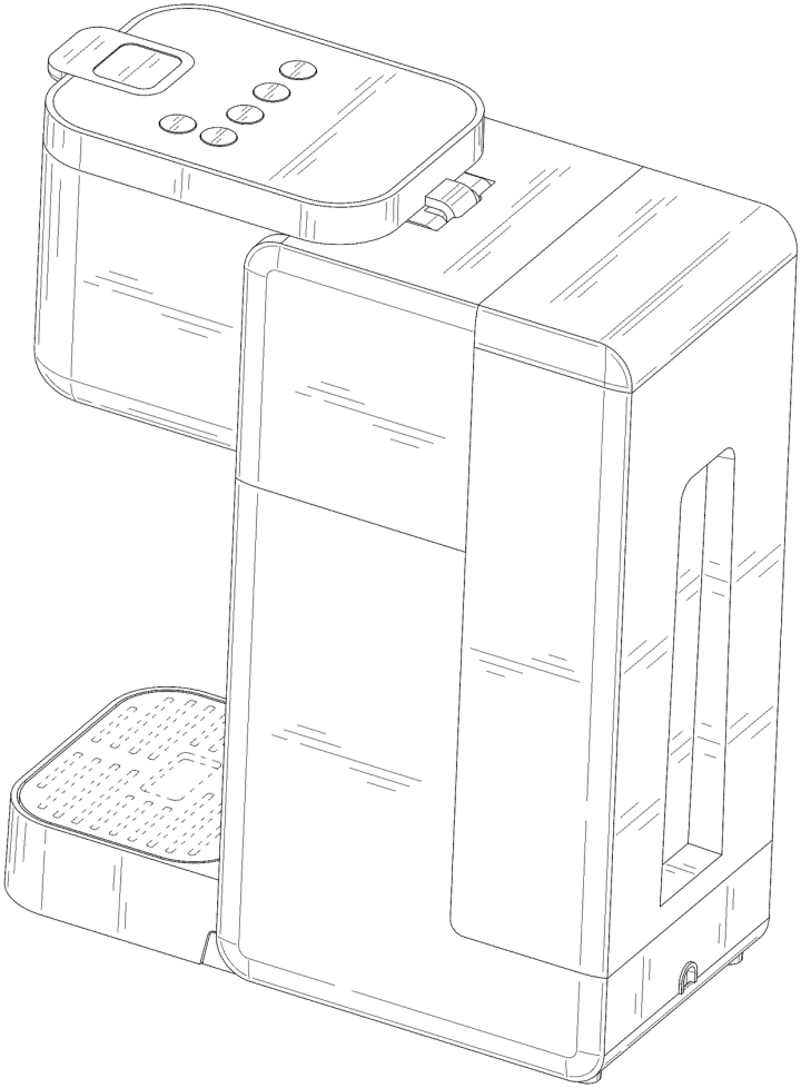
01
Portable coffee machine 便携式咖啡机
(专利图)

(相似实物)
专利信息
专利名称:Portable coffee machine 便携式咖啡机
专利权人:SHI XIANGMENG
专利号:USD1064698S1
侵权类型:外观专利
申请日:2023-11-15
下证时间:2025-03-04
(专利图)

(相似实物)
下证时间:2025-03-04
(专利图)

(相似实物)
下证时间:2025-03-04
(专利图)

(相似实物)
下证时间:2025-02-25
(专利图)

(相似实物)
下证时间:2025-02-11
(专利图)

(相似实物)
下证时间:2025-02-11
(专利图)

(相似实物)
下证时间:2025-01-28
(专利图)

(相似实物)
下证时间:2025-01-21
卖家在选品的时候,还是建议做好专利侵权规避,避免侵权踩坑。
如需了解更多专利信息,可以关注公众号,前往「专利合集」进行查看。
写道最后
如果想要了解更多商标注册以及专利等问题,可以在微信公众号里联系我们,我们将为您提供最优质的咨询服务。

亚马逊SPN服务商|斯通布里stonebridge
抱团交流
一个集大神卖家与逗趣同行于一体的交流群,扫码添加客服微信(备注“进群”哦)。
目前100000+人已关注加入我们
下一篇:墨西哥站卖得最好的品是它!TikTok反超Shein、Temu
上一篇:英国邮政与DPD扩大国际快递合作|英国皇家邮政与NewRiver合作推出包裹柜网络
文章为作者独立观点,不代表AMZ520立场。如有侵权,请联系我们。
