维权产品来咯!KROIL润滑油、饮料罐穿刺器、鸡中翅烧烤架

市场上侵权行为却屡禁不止
甚至愈演愈烈,近期
多起隐匿侵权案件被曝光
一起看看
案件号:25-cv-01788
立案时间:2025年2月20日
原告:KANO LABORATORIES, LLC
原告官网:https://www.kanolabs.com/
代理律所:Greenberg Traurig LLP
原告成立于1939年,专注于工业维护、修理和操作领域,生产高品质的渗透油、润滑油和润滑脂。其采用的配方均为专有技术,从未授权给任何第三方使用。因此,任何未经授权的商家生产或销售类似产品均构成侵权行为。


目前,原告已对部分侵权卖家提起了侵权诉讼。为避免法律风险,建议各相关方立即停止未经授权的“KROIL”商标使用行为。
维权的商标
▼

案件号:25-cv-00961
立案时间:2025年1月28日
原告:WILDMAN DRINKING COMPANY AND WILDMAN DRINKING LAB. LLC
原告官网:https://wildmandrinking.com/
代理律所:Flener Ip And Business Law
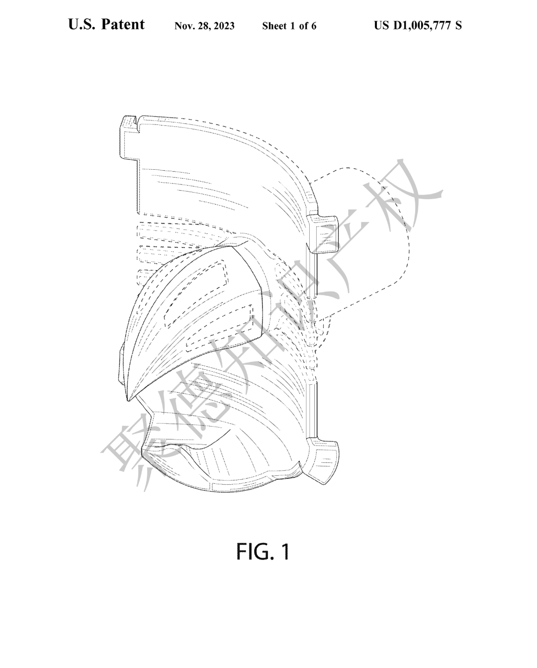
该公司推出了一款创新的饮料配件产品。这款工具能够安全地刺穿饮料罐侧面,并配备内置喷嘴,有效防止饮料溅出,让消费者能够更方便地饮用易拉罐饮料。

维权的商标
▼
维权的专利
▼

维权的版权
▼
案件号:25-01059、25-01036、25-01786、25-01771
立案时间:前两起1月30日、后两起2月20日
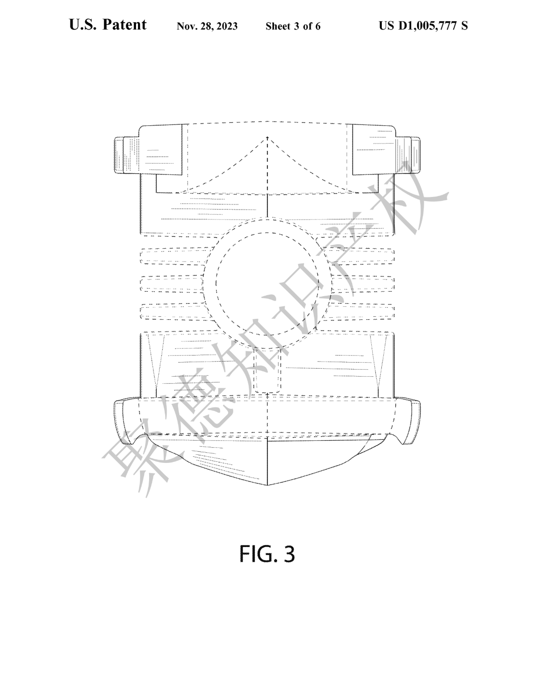
原告:Prime 4 Seasonings, LLC
原告官网:https://prime4bbq.com/
代理律所:Flener Ip And Business Law
自2017年起,该企业便致力于制作高品质的调味料。其对烹饪和烧烤的热爱,激发了对产品品质的不懈追求。企业不仅注重调味料的优质品质,还提供方便使用的烧烤工具。

上述四起侵权案件,均涉及鸡中翅烧烤工具。
维权的专利
▼

除了KROIL商标案件外,其余两个案件的临时限制令(TRO)均已获得法院批准。侵权卖家应密切关注平台邮箱,查看是否有侵权通知邮件;同时,自查提现功能是否正常。若提现无法正常进行,这通常意味着账户资金已被冻结。
一旦账户资金被冻结,大多数卖家适合和解方案。这是因为和解通常能够快速解决问题,回款速度也较快,且相对压力较小。但是,选择和解并不意味着“一刀切”。评估被告适合哪种和解方案,需要综合考虑多方面因素,包括店铺的销售数据(如侵权产品的销售数量和金额)、冻结资金的数额、原告的律所、侵权的品牌,以及是否存在恶意侵权等。只有全面分析这些因素,才能为被告制定最适合的和解策略。
别划走,后面还有精彩回顾
推荐阅读
抱团交流
一个集大神卖家与逗趣同行于一体的交流群,扫码添加客服微信(备注“进群”哦)。
目前100000+人已关注加入我们
下一篇:墨西哥站卖得最好的品是它!TikTok反超Shein、Temu
文章为作者独立观点,不代表AMZ520立场。如有侵权,请联系我们。




