夏季爆款-1,这类制冰模具几乎都要侵权了!

【卖家精灵&跨境侵权哥折扣码】:
QQG72:单人版(1个账号)原价72折,2688立减760,优惠价1928
QQG78:标准版(1+3)原价78折,4416立减971,优惠价3445(标准版以上也是78折码)
使用流程:
https://www.sellersprite.com/cn/price
1.选择包年——支付宝/对公账户购买
2.在折扣券输入优惠码,点击检测有效性
3.检查订单价格,提交订单并支付。
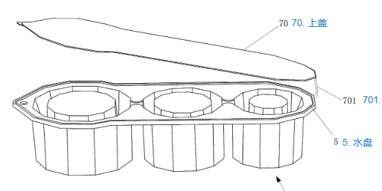
众所周知,Stanley水杯在全球都属于爆款,因此其配件也是非常好卖,比如下面这种适配Stanley杯子的制冰模具:




之前我们也分享过一些相关的外观专利,外观专利通常都能想到一些规避方法。现在有一个非常重要的信息需要告知各位卖家,这类适配Stanley杯子的制冰模具有发明专利注册下来了!
专利情况
美国发明专利US12196472B1

2025年1月14日获得授权。





类似结构需注意侵权风险!
优质服务推荐


抱团交流
一个集大神卖家与逗趣同行于一体的交流群,扫码添加客服微信(备注“进群”哦)。
目前100000+人已关注加入我们
下一篇:墨西哥站卖得最好的品是它!TikTok反超Shein、Temu
上一篇:跨境物流当前现状下,哪些方式还可以帮助跨境卖家破局?
文章为作者独立观点,不代表AMZ520立场。如有侵权,请联系我们。
