花卉图案与多款外观专利维权:鞋子、水瓶、鸡尾酒泡泡机

路边的野花虽美
却也“名花有主”
不可随意采撷
案件号:25-cv-00396、25-cv-00385
立案时间:2025年1月14日
原告:Jessica Rose Hanselmann d/b/a Studio Jessica Rose
原告官网:https://society6.com/
代理律所:Keith
原告是一位从花艺师转型的画家兼插画家,擅长创作植物与花卉设计。其丰富的花艺背景和对自然的热爱,为作品提供了源源不断的灵感。作品以精美的高质量美术印刷品和家居装饰等形式呈现,同时还经营着一系列花卉主题的贺卡。

25-cv-00396维权的版权
▼

25-cv-00385维权的版权
▼
以下是其官网展示的插画
列举小部分给大家规避
▼

案件号:25-cv-00353
立案时间:2025年1月13日
原告:Z***u
代理律所:Alioth Law LLP
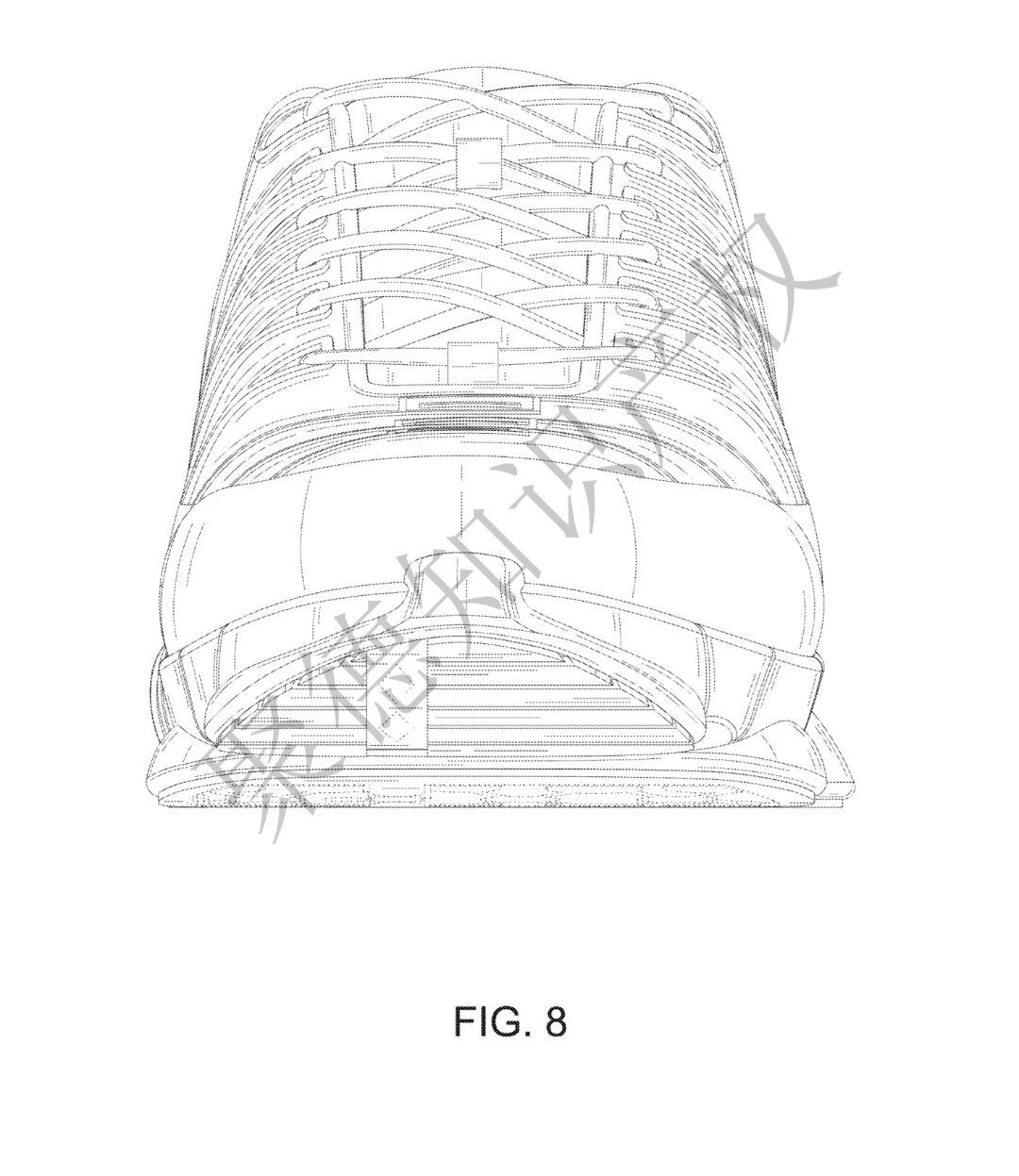
这是一起尚未明确具体维权专利的案件,被起诉的店铺有90家。小Jude在美国专利局查询发现,原告名下拥有两件美国外观专利,分别涉及鞋子和水瓶。同时,在美国商标局检索到原告注册了多个鞋类商标,并在亚马逊平台找到了对应品牌。基于这些信息,推测本次维权可能针对的是鞋子外观专利。然而,在尚未得到官方确认的情况下,建议同时规避这两件专利。
可能维权的专利1
▼


可能维权的专利2
▼


案件号:24-cv-12293
立案时间:2025年11月27日
原告:CJ LTD
代理律所:Sriplaw, P.A.
这款手持鸡尾酒泡泡机,能够轻松为您的饮品增添浓郁风味,帮您调制出既美观又美味、令人难以忘怀的鸡尾酒。

维权的专利
▼

即使仅改变鸡尾酒泡泡机的外观,若产品上出现这三个商标,依然构成侵权。

通常,被起诉的卖家大约需要半个月时间才能收到侵权通知邮件。收到邮件后,卖家应立即检查店铺是否存在侵权行为。如果确认存在侵权,卖家需要尽快联系律师介入。在律师介入之前,会分析店铺的具体情况,以确定是选择和解还是应诉。即便是在同一案件中,不同店铺的情况也可能不同,因此适用的解决方案也会有所差异,但目标始终是一致的:以最小的损失解决侵权问题。
若选择和解,被告无需经历开庭审理的过程。被告的代理律师将与原告律所进行交涉,通过谈判达成一个双方都能接受的和解金额,随后签订和解协议。在被告支付和解金及原告收到款项后,原告律所会撤销对被告的起诉。需要注意的是,和解并不涉及输赢的判定。只要能够以最低的成本恢复被冻结的账号,就可以认为是成功解决了问题。
另一方面,选择应诉的卖家将面临实际的法庭诉讼。美国律师通常按小时收费,而且诉讼过程往往耗时较长,这意味着成本会相对较高。简而言之,应诉就是一场关于时间和金钱的消耗战。除非万不得已,否则一般不建议卖家选择这种方式来解决侵权纠纷。
别划走,后面还有精彩回顾
推荐阅读
抱团交流
一个集大神卖家与逗趣同行于一体的交流群,扫码添加客服微信(备注“进群”哦)。
目前100000+人已关注加入我们
下一篇:亚马逊企业购推出游客功能,卖家可轻松查看前台展示效果
上一篇:36氪出海·关注|三个“小红书”,争夺TikTok的流量
文章为作者独立观点,不代表AMZ520立场。如有侵权,请联系我们。




