大批卖家中招!化妆镜、臀推腰带、卷发器发起专利维权!
广告招商
✦✦
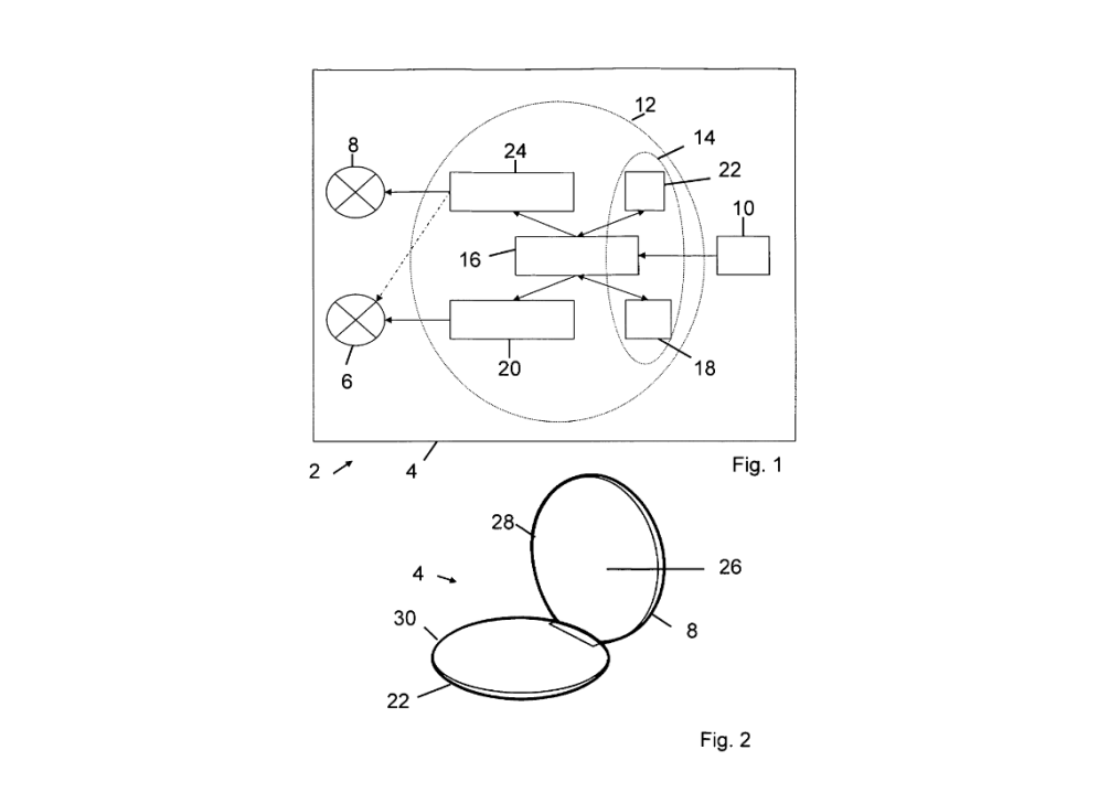
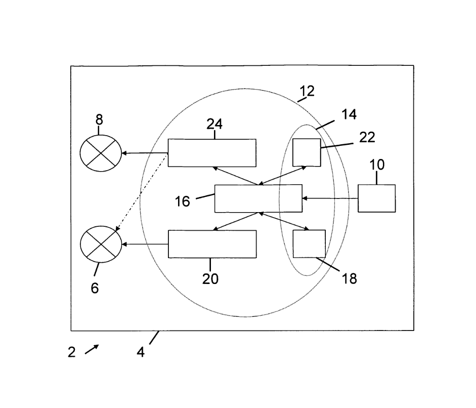
Illuminating device 照明装置
这款产品源自于Roadway Retail LLC,可折叠的紧凑型化妆镜重量轻且便于携带。非常适合学校、工作,并且是包包中必备的化妆工具,方便补妆。其纤薄的设计可轻松放入手提包、背包和化妆包中。从暖光切换到冷光或自然光,以适应室内或室外光线、白天或夜晚。触摸感应控制可无缝调暗和调整亮度。
起诉时间:2024/11/21
案件号:24-cv-12029
专利号:US9198261B2
✦✦
Hip thrust belt 臀推腰带
这款产品源自于BELLABOOTY品牌,臀推腰带只需将带子绕成环,固定重物,系紧健身腰带,即可开始锻炼,柔软的衬垫和牢固的抓握力可保护臀部并使其舒适。从推举到弓箭步及其他运动,适合臀推、深蹲、弓箭步等。
起诉时间:2025/01/10
案件号:25-cv-20162
专利号:USD983897S1
✦✦
Hair styling and hair care apparatus
头发造型和头发护理设备
这款产品源自于dyson品牌,为假期打造多变的发型。康达效应造型是戴森的一项创新技术,它利用空气吸引头发并将其包裹在滚筒或刷子表面上,打造光滑、笔直的卷发或造型,而不会受到热损伤。无热损伤。
起诉时间:2025/01/07
案件号:25-cv-00181
专利号:USD852415S1
各位卖家朋友们选品时遇到这几款产品,记得规避风险!
点击蓝字 关注我们
木瓜侵权
虚位以待ing
更多跨境广告位持续招租中
抱团交流
一个集大神卖家与逗趣同行于一体的交流群,扫码添加客服微信(备注“进群”哦)。
目前100000+人已关注加入我们
上一篇:Keith律所代理西班牙艺术家Mia Charro首次发起版权案件,涉及六张版权图
文章为作者独立观点,不代表AMZ520立场。如有侵权,请联系我们。
