三项发明!汽车收纳网兜、头发分叉修剪器、雨水收集器侵权了!
关注“跨境侵权哥”微信公众号,接收每日侵权资讯;
文末扫码添加侵权哥微信,发送“加群”进卖家交流群!
:
01
汽车收纳网兜

美国发明专利:US9428115B2

本公开提供了一种具有基板的屏障装置,该基板的尺寸被确定为大致横穿一对前座之间的空间并且略微在机动车辆的控制台后面。

第一带在一端附接到基板上部的第一横向侧并且具有可附接到一对前座中的一个的第二端。
第二条带的一端附接至基底上部的第二横向侧并且具有可附接至一对前座中的另一个的第二端。
第三条带的一端附接到基板下部的第一横向侧。
第四条带是在一端附接到基板下部的第二横向侧的条带。
第三和第四条带各自的另一端可相互连接以接合控制台的控制台盖。
简单来说,这项专利大概就是指网兜的上面两条绑带是固定在椅子上,下面的绑带是固定在中控台上,这样的结构就有侵权风险了。

如果网兜没有下面的绑带,或者下面的绑带也是固定在椅子上的,那么就不侵权这项专利了。例如下面这款:

02
雨水收集器

使用Oatey®神秘雨水收集系统,轻松收集和回收雨水。这个系统是花园的完美补充,它将雨水从落水管引导到收集桶.
美国发明专利US8528263B2

雨水分流器包括基座构件和套筒构件。底座部件包括管状导管,该导管具有上端和下端,其尺寸被设计成紧密配合在下落水管部分的上端内。围绕管状导管的是具有开口上端和封闭底部的流体室,以及邻近底部的排出口。套筒构件的下端尺寸设计成在腔室的开口上端内部具有紧密滑动配合,而上端尺寸设计成在上落水管部分的下端上具有紧密滑动配合。套筒构件被成形为在套筒构件和管状导管的上端之间提供狭窄的间隙,该间隙通向管状导管周围的腔室。
简单来说,雨水分流器安装时需要切掉原排水管的一部分,然后分流器的上下部分别插入缺口部分的两端即可,安装好后雨水将从导管处排出进入水桶中。

不过这项专利的功能并不是这么简单,如果水桶已经接满或者雨水多到分流器无法处理时,还可以控制分流器停止工作,使雨水沿原有管道继续排出。
类似结构均有侵权风险!
03
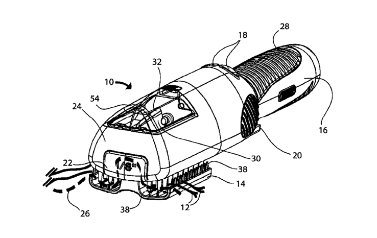
头发分叉修剪器

美国发明专利US9597811B2

本文公开和描述的装置和方法通过提供用户可配置、部件可互换的头发维护工具实现上述目标,该工具允许用户安全快速地从头发的远端安全地去除基本上相等的部分 可能已经裂开或以其他方式变得没有吸引力或外观不健康的轴。该装置可作为带有各种组件的套件提供,这些组件可以添加或替换到与主装置的可拆卸接合处,以调节头发的修剪部分的长度。在另一种配置中,它也可用于干燥头发,或允许使用加热的可接合部件,以根据需要拉直或卷曲头发的某些部分。
这项专利是2015年申请的,其实早在2001年,对方公司就已经申请过类似功能的专利,目前已经过期:

可能是对方对原本的分叉修剪功能进行了改良,所以才会在2015年又申请了一项发明专利。
类似头发分叉修剪功能的产品均有侵权风险!
优质服务推荐


抱团交流
一个集大神卖家与逗趣同行于一体的交流群,扫码添加客服微信(备注“进群”哦)。
目前100000+人已关注加入我们
文章为作者独立观点,不代表AMZ520立场。如有侵权,请联系我们。
