新年新案件!国人卖家发起多款专利维权!涉及电动自行车、热转印机桌架和回旋球玩具

电动自行车(25-cv-00081))
热转印机桌架(25-cv-00058)
全身灯光镜(24-cv-13409)
回旋球玩具(24-cv-13398)
电动自行车
原告是国内一家主营电动自行车的公司,在亚马逊上有自营店铺,名下拥有本案专利D1016678。该外观专利涉及的是一款摩托风格的电动自行车,既适合通勤,又能应对越野探险,配备变速系统和宽大轮胎,能够应对各种地形。
左右滑动查看更多

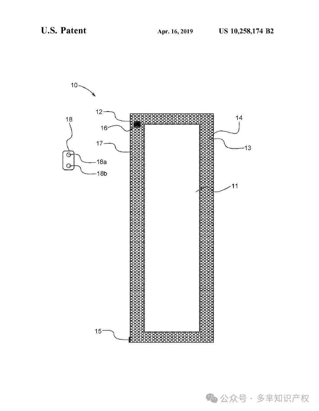
热转印机桌架
原告方:Ningbo Langyan Agel E-Commerce LTD
原告是一家位于浙江的公司,名下拥有两项去年下证的,关于热转印机支架的美国外观专利。该专利产品主要用于为热转印机提供支撑结构,确保打印机在使用过程中保持稳定,从而保证打印工作的正常进行。
左右滑动查看更多

原告方:Bling Mirror LLC
原告为一家美国公司,目前案件文件处于密封状态,小编检索到其名下只有一项灯光镜的专利。该专利涉及一种全身灯光镜,包括用于反射的镜子和环绕镜子整个边缘的边框。边框的前表面设有多个水晶,水晶内布置有多个LED灯,以及一个CPU来控制LED灯的颜色和照明设置。
左右滑动查看更多

原告是一家东莞公司,名下拥有本案涉及的美国外观专利D891522。该专利产品是一款回旋球玩具,不需要遥控器就能自己飞回手中。通过不同的投掷角度和速度,回旋球能够实现不同的飞行轨迹和技巧,并展现多种流畅的飞行模式和回旋效果。
左右滑动查看更多

以上为本期侵权案件的全部内容,请各位卖家做好排查工作,及时关注最新资讯,关注我们或者加入群聊,第一时间收看TRO案件、侵权预警文章!
如何判断产品是否涉及专利侵权,如何规避与应对侵权纠纷?可查看文章👉:美国专利侵权判定标准与赔偿机制解读,中国企业该如何规避与应对美国专利侵权诉讼纠纷?
如有不幸遇到侵权或者想要发起维权的朋友,可以第一时间联系我们,我们会针对不同案情提供最专业的服务。
↓↓多芈跨境电商新机遇探索群↓↓
欢迎各位卖家朋友入群✨
我们会分享各种跨境资讯、跨境干货、
TRO案件等文章供大家参考、交流、学习!
如果有疑问,也欢迎提出!

往期回顾
---商标注册---
---跨境平台入驻---

抱团交流
一个集大神卖家与逗趣同行于一体的交流群,扫码添加客服微信(备注“进群”哦)。
目前100000+人已关注加入我们
上一篇:同样是美国市场卖家,为什么别人流量、利润都上来了,而自己的总在半路俳徊?
文章为作者独立观点,不代表AMZ520立场。如有侵权,请联系我们。





















