这款马桶配件热度突然涨起来,来看看有什么专利!
广告招商
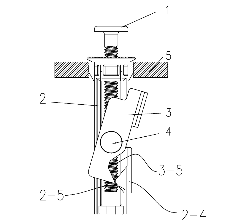
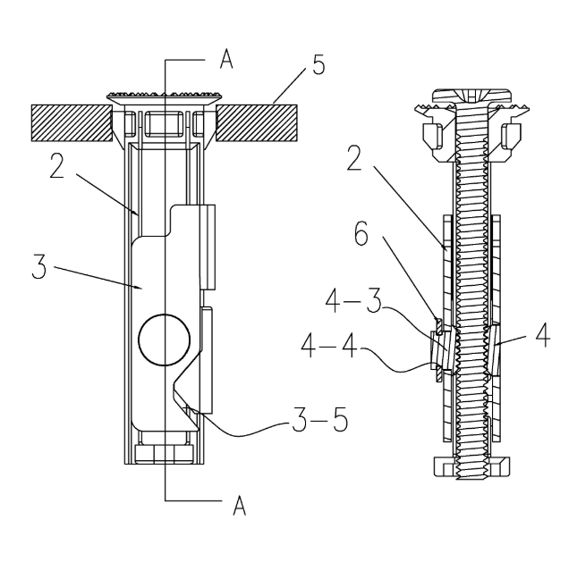
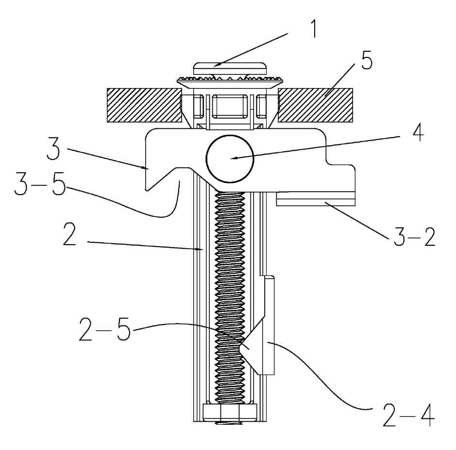
坚固可靠的安装套件,专为马桶支架设计。这款马桶座配件适合大多数带顶部安装铰链的标准马桶座。马桶座圈附件套件由高品质橡胶和不锈钢制成。它们坚固、防锈、耐腐蚀,具有高强度和耐用性。
马桶座螺丝的橡胶垫圈内有螺母,因此只需将其滑入马桶顶部的孔中即可。拧紧螺丝时,它会膨胀并拧入孔中,而无需在另一端使用螺丝。
这款马桶配件工具突然小热了一波,小瓜检索到多个站点存在发明专利是源自于GEBERIT INTERNATIONAL AG,另外还有一款国人注册的英国外观专利。
中国实用新型专利CN208740848U、CN112672668A
欧洲发明专利EP3769653B1、EP3769653A1、EP3769653A4
德国发明专利DE602019023453T2
国际海牙发明专利WO2019179455A1
英国外观专利GB6321818S
各位卖家朋友们选品时遇到这款产品,记得规避风险!
点击蓝字 关注我们
木瓜侵权
虚位以待ing
更多跨境广告位持续招租中
抱团交流
一个集大神卖家与逗趣同行于一体的交流群,扫码添加客服微信(备注“进群”哦)。
目前100000+人已关注加入我们
上一篇:运力与需求的矛盾升级,2025年航空货运、海外仓、小包专线有哪些新的增长点?
文章为作者独立观点,不代表AMZ520立场。如有侵权,请联系我们。
