小小腰包也有发明专利!看看怎么个事儿?

【卖家精灵&跨境侵权哥折扣码】:
QQG72:单人版(1个账号)原价72折,2688立减760,优惠价1928
QQG78:标准版(1+3)原价78折,4416立减971,优惠价3445(标准版以上也是78折码)
使用流程:
https://www.sellersprite.com/cn/price
1.选择包年——支付宝/对公账户购买
2.在折扣券输入优惠码,点击检测有效性
3.检查订单价格,提交订单并支付。

这种运动腰包想必都不陌生,有些爱好运动的卖家可能还购买过。但就是这么一个简单的腰包,竟然还会涉及到发明专利!
来看看是怎么个情况。
专利情况
美国发明专利:US8104654B2
欧洲发明专利:EP2114195B1
加拿大、澳大利亚等国家也有注册。


本设计提供了一种袋子,该袋子在与腰带集成的同时可扩展,并且仍然提供围绕佩戴者身体的紧密贴合。这是通过使用一块织物来制作小袋的新颖设计来实现的, 使用不对称弹性织物和/或下文所述的拉链设计允许小袋横向拉伸但不沿带的长轴拉伸。

这使得小袋在使用过程中能够紧贴佩戴者的身体,牢固地容纳小物件,同时还能扩展以容纳较大的物件。此外,这是通过经济且易于生产的设计来实现的。
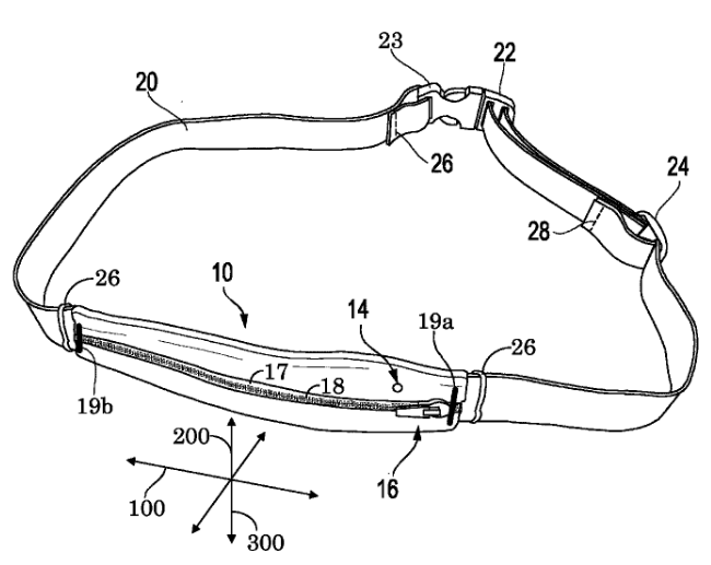
专利分析
简单来说,这个专利腰包有一个内部的折叠空间,正常情况下是折叠起来的,看起来像是双层:

需要放置大型物品时展开即可:

符合这一特征则有侵权风险!
优质服务推荐


抱团交流
一个集大神卖家与逗趣同行于一体的交流群,扫码添加客服微信(备注“进群”哦)。
目前100000+人已关注加入我们
下一篇:Etsy 平台11月份政策更新汇总(2024.11)
文章为作者独立观点,不代表AMZ520立场。如有侵权,请联系我们。
