12.5注意了!这两款很多卖家开发的产品已早有专利
广告招商
✦✦
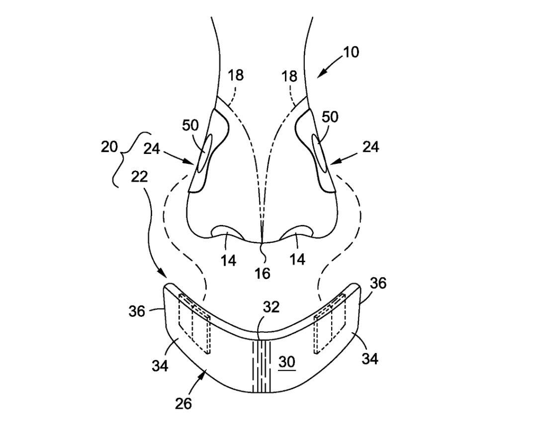
防鼾鼻夹
防打鼾鼻夹,巧妙设计的双鼻带和磁化释放带。这些元素共同作用,扩大鼻腔,促进气流,增加氧气摄入量可以缓解鼻塞,减少打鼾频率,让呼吸更轻松,从而提高睡眠质量。
这款鼻夹美国发明专利很早就下证了,其他主要站点的专利也在今年陆续下证
美国发明专利US10675174B2
本发明提供了一种呼吸系统,其增强了使用者通过使用者的鼻通道呼吸的能力。呼吸系统通常包括一个桥构件和一对可附接到使用者鼻子侧面部分的鼻贴饰。桥构件可定位在贴花附近以启动系统并将扩张力施加到使用者的鼻子上。该系统可以通过从贴花上移除桥构件来停用,从而从使用者的鼻子上移除扩张力。
英国外观专利GB6400707S、EU0150671000001S
✦✦
植物繁殖伙伴
从精致的花朵到芳香的草药,甚至是坚固的蔬菜,这些植物繁殖伙伴支持各种植物类型,为健康生长提供必要的稳定性。只需将其连接到花瓶或玻璃的边缘,并将其放置在固定的植物的茎或切割处。这种易于使用的植物支架可确保最佳生长并帮助植物茁壮成长。
这款产品的专利下证时间都比较早
欧盟外观专利EU0089262570001S,中国外观专利CN307755506S
各位卖家朋友们选品时遇到这几款产品,记得规避风险!
点击蓝字 关注我们
木瓜侵权
虚位以待ing
木瓜力荐“青枫”Tro律师函/和解应诉服务商!
更多跨境广告位持续招租中
抱团交流
一个集大神卖家与逗趣同行于一体的交流群,扫码添加客服微信(备注“进群”哦)。
目前100000+人已关注加入我们
文章为作者独立观点,不代表AMZ520立场。如有侵权,请联系我们。
