12.02跨境电商潜力品美国专利最新下证--宠物脱毛器、针钩玩具、铲夹等
广告招商
PART/ 01
专利编号:USD1052823S1
专利名称:Hay bag with windows for ventilation 带窗通风的干草袋
申请日:2020-11-25
公开(公告)日:2024-11-26
当前申请(专利权人):ROYAL***
发明人:SINGH***
PART/ 02
专利编号:USD1052448S1
专利名称:T-Rex emblem 霸王龙徽章
申请日:2022-06-02
公开(公告)日:2024-11-26
当前申请(专利权人):SHENZHEN***
PART/ 03
专利编号:USD1052450S1
专利名称:Solar turtle ornament 太阳能龟摆件
申请日:2024-07-11
公开(公告)日:2024-11-26
当前申请(专利权人):ZHAO***
PART/ 04
专利编号:USD1052827S1
专利名称:Pet hair remover 宠物除毛器
申请日:2024-06-14
公开(公告)日:2024-11-26
当前申请(专利权人):WEI***
PART/ 05
专利编号:USD1052661S1
专利名称:Crochet toy 钩针玩具
申请日:2024-05-31
公开(公告)日:2024-11-26
当前申请(专利权人):YU***
PART/ 06
专利编号:USD1052451S1
专利名称:Solar decoration 太阳能装饰
申请日:2024-08-12
公开(公告)日:2024-11-26
当前申请(专利权人):QUANZHOU***
发明人:KANG***
PART/ 07
专利编号:USD1052446S1
专利名称:Solar decoration 太阳能装饰
申请日:2024-08-12
公开(公告)日:2024-11-26
当前申请(专利权人):QUANZHOU***
发明人:KANG***
PART/ 08
专利编号:USD1052685S1
专利名称:Bird repellent device 驱鸟装置
申请日:2024-05-16
公开(公告)日:2024-11-26
当前申请(专利权人):XIAO***
PART/ 09
专利编号:USD1052743S1
专利名称:Led light therapy mask LED光疗面罩
申请日:2024-04-27
公开(公告)日:2024-11-26
当前申请(专利权人):GODDESSS***
发明人:YI***
PART/ 10
专利编号:USD1052346S1
专利名称:Travel tray for kids toddler car seat 儿童汽车座椅旅行托盘
申请日:2024-04-12
公开(公告)日:2024-11-26
当前申请(专利权人):CHENGDU***
发明人:FEI***
PART/ 11
专利编号:USD1052364S1
专利名称:Spatula clip 铲夹
申请日:2024-03-12
公开(公告)日:2024-11-26
当前申请(专利权人):XIE***
PART/ 12
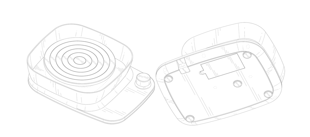
专利编号:USD1052625S1
专利名称:Pottery wheel 陶轮
申请日:2024-02-02
公开(公告)日:2024-11-26
当前申请(专利权人):SHENZHEN***
点击蓝字 关注我们
木瓜侵权
虚位以待ing
木瓜力荐“青枫”Tro律师函/和解应诉服务商!
更多跨境广告位持续招租中
抱团交流
一个集大神卖家与逗趣同行于一体的交流群,扫码添加客服微信(备注“进群”哦)。
目前100000+人已关注加入我们
下一篇:别再忽视!GBC律师所代理DIOR 迪奥品牌商标发案,案件号:24-cv-12272
上一篇:2024.12.02亚马逊选品推荐(仅供参考):猫咪玩具
文章为作者独立观点,不代表AMZ520立场。如有侵权,请联系我们。
