5个发明!床单固定器、磁性积木、孵化器、绘图投影仪、花盆插入物

【卖家精灵&跨境侵权哥折扣码】:
QQG72:单人版(1个账号)原价72折,2688立减760,优惠价1928
QQG78:标准版(1+3)原价78折,4416立减971,优惠价3445(标准版以上也是78折码)
使用流程:
https://www.sellersprite.com/cn/price
1.选择包年——支付宝/对公账户购买
2.在折扣券输入优惠码,点击检测有效性
3.检查订单价格,提交订单并支付。
儿童绘图投影仪

美国发明专利:US20220215773A1(申请中)

专利公开了一种向用户提供挑战的方法,该方法包括接收对要呈现给用户的选定挑战的选择,该挑战是从挑战储存库中选择的,并且将选定挑战提供给投影设备。处理选择的挑战以形成可投影的挑战,使用投影设备将其投影到投影表面上。用户与计划的挑战交互以完成挑战,并且响应捕获设备捕获对挑战的至少一个用户响应。分析捕获的响应以确定它是否是对挑战的正确响应,并且基于分析,向用户提供关于响应或关于响应挑战的方式的反馈。
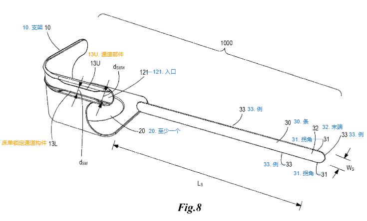
床单固定器

PCT国际申请:WO2024112519A1

根据该优先权信息我们可以知道美国也有相关专利在申请中。


花盆插入物

美国发明专利:US20230346143A1(申请中)

专利公开了一种将第一花盆固定在第二花盆中的框架。框架可包括一对彼此联接的U形构件,其中每个相应的U形构件包括分别从横向构件的相对端向上突出到第一吊架和第二吊架的第一垂直构件和第二垂直构件, 每个相应的吊架构造成可拆卸地连接至第二花盆的边缘。该对U形构件可在相应横向构件的中心位置处彼此联接,形成构造成接收第一花盆的内部空间。框架可包括可移除环,该可移除环构造成围绕框架周向延伸并接触每个相应U形构件的第一垂直构件和第二垂直构件。
此外还有另一个发明专利US11696655B2:

结构类似,也需要注意。
孵化器

美国发明专利:US12144324B1

本实用新型涉及孵化器技术领域,公开了一种孵化器底座,包括:驱动机构、供水装置、盛放蛋的底座以及驱动蛋旋转的旋转座。本发明实施例中的第一子腔体、第二腔体与供水装置的配合,可以在不打开孵化器的情况下,为孵化器提供两种不同的湿度环境进行操作,实现孵化器不同环境湿度的要求。孵化器的不同时间段。其次,本发明还提供了第二子腔内的驱动机构,使得能够进一步优化容纳腔内的安装空间。
磁性积木玩具

美国发明专利:US10722809B1
欧洲发明专利:EP3689430B1

本发明涉及一种积木玩具,尤其涉及一种组装方便、适用于各种拼装的积木玩具。


优质服务推荐


抱团交流
一个集大神卖家与逗趣同行于一体的交流群,扫码添加客服微信(备注“进群”哦)。
目前100000+人已关注加入我们
上一篇:红线!Shopee印尼严禁发布非法内容;印尼企业和劳工反对增值税上调计划丨东南亚日报
文章为作者独立观点,不代表AMZ520立场。如有侵权,请联系我们。
