11.22避雷!这款3合1折叠测量勺已早有专利和版权
广告招商
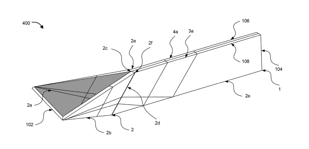
(图源:getpolygons)
多边形扁平3合1折叠测量勺源自于getpolygons品牌,是一款创新的厨房小工具,2勺子6个不同的大小,测量勺扁平,0.1英寸厚度,使它们便于存储在抽屉或磁化条上,节省宝贵的柜台和存储空间。量勺由高品质材料制成,经过10万次折叠测试,坚固耐用,设计便于清洁,磁性设计可粘在冰箱、橱柜等。
这款折叠测量勺存在独立站的同时,也在Kickstarter上售卖,感兴趣的小伙伴可以去看看
官网:https://www.getpolygons.com/
小瓜还检索到该产品存在美国发明专利US10175084B2、US20160370218A1,这两个专利下证时间都很早。
独立站版权+美国专利,妥妥的侵权!
点击蓝字 关注我们
木瓜侵权
虚位以待ing
木瓜力荐“青枫”Tro律师函/和解应诉服务商!
多跨境广告位持续招租中
抱团交流
一个集大神卖家与逗趣同行于一体的交流群,扫码添加客服微信(备注“进群”哦)。
目前100000+人已关注加入我们
下一篇:精选10款11月21日最新下证欧盟外观专利,警惕侵权!
上一篇:Keith律所首次代理艺术家RONALD KUANG 发起版权案件,涉及11张版权图
文章为作者独立观点,不代表AMZ520立场。如有侵权,请联系我们。
