这些品千万不要做!都会踩坑!
说起磁悬浮,我们第一印象应该是2006年在上海开通的第一条磁悬浮列车。利用轨道的磁力使列车悬浮在空中,减少了列车与轨道的摩擦力,使列车行驶时只受到来自空气的阻力,从而提高列车行驶速度。
然而磁悬浮的技术也已经渗透到我们生活中,各类磁悬浮产品应运而生,有“磁悬浮台灯”、“磁悬浮地球仪”、“磁悬浮蓝牙音响”、磁悬浮各类……为生活增添了不少科技趣味。这期讲解的案件中就有和磁悬浮有关的灯,卖家需抓紧自查,发现不妥及时下架。
1.热销磁悬浮灯
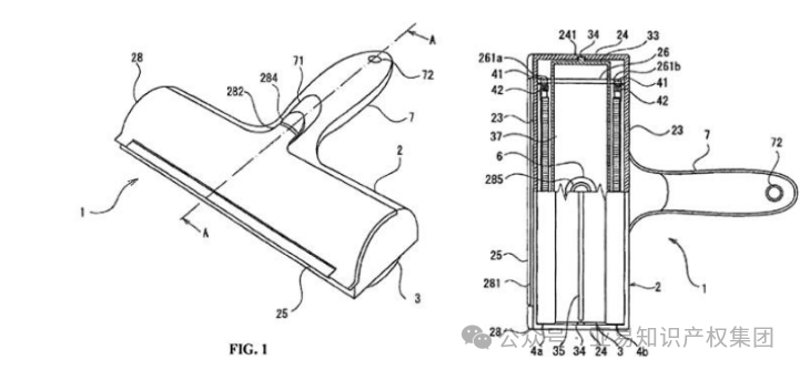
本案维权原告是一位国人卖家,维权产品是磁悬浮灯,这款磁悬浮灯包括磁基和悬浮体的磁悬浮装置;其作用原理是悬浮体悬浮在磁基之上,悬浮体设有接收线圈和至少一个发光体;磁基设有发射线圈,发射线圈向接收线圈发射交流线圈;将发射线圈传输的交流信号转换为电能并将电能提供给发光体发光,其中悬浮体具有多个发光体;发光体采用LED灯,布置在悬挂体内部或悬挂体上,并通过与接收线圈连接电连接,其中永磁体设置在悬架体内部,永磁体围绕悬架体的重心垂直方向对称设置,其中悬架体包括上壳体、下壳体和设置在上壳体和下壳体之间的安装环;安装部分设置在安装环的中间,发光体安装到安装部分,并通过连接线与接收线圈连接;永磁体为磁体组件,下端为圆柱磁体,上端为多个重叠的圆形磁体,接收线圈中间设有与永磁体的圆柱磁体对应的通孔,下壳设有与圆柱磁体对应的固定柱,固定柱的中间设有固定孔;圆柱形磁体穿过接收线圈的通孔,然后插入固定孔,永磁体固定在小壳体的下端,接收线圈依次设置在圆柱形磁铁的外侧。
该产品极具科技感,利用磁悬浮的技术,将灯球和底座分开,不仅仅能够照明,而且观赏价值极高。
在上一年10月份,品牌方曾经针对本次维权的专利也发起过维权,案件当时有卖家被判决5万美金;时隔一年,品牌方再次委托Getech Law LLC律所代理发起专利维权,卖家们速速自查!
案件信息:
起诉时间:2024.11.6
案件号:24-cv-11470
维权类型:发明专利
专利号:US8294542B2
原告品牌:热销磁悬浮灯
品牌:Xiaobing Wang and Liangqing Li
代理律所:Getech Law LLC
发案地:美国伊利诺伊州
发明专利侵权具体信息:
注意!注意!此次维权的产品是发明专利!也就是说,无论外形相似不相似的产品,只要在原理上与该发明专利的技术相似,就会构成侵权可能!
产品示例:
2.发光手套
本案维权原告是一位国人卖家,本次案件涉及的是名下发光手套专利维权;这款手套由透气柔软的面料制成,轻便且亲肤,适合任何工作季节。
手套采用可调节的肩带设计,可以拉伸以适应各种大小的手,这款产品主打便捷照明;整体属于LED灯设计,灵活佩戴,适合夜间钓鱼、修理、山地露营、徒步、骑行、跑步和其他户外夜间活动等。有了此款手套,无论是夜间户外活动、紧急维修还是日常探索,发光手套都能以其人性化的设计与高效的照明性能,成为不可或缺的得力助手。
案件信息:
起诉时间:2024.8.21
案件号:24-cv-7564
维权类型:专利
专利号:US8523377B2
原告品牌:发光手套
品牌:Shenzhen Jisu Technology Co., Ltd.
代理律所:Bishop Diehl & Lee, Ltd.
发案地:美国伊利诺伊州
专利侵权具体信息:
产品示例:
3.Nippon SealCo手动清洁器
Nippon Seal (Shenzhen) Co., Ltd.是一家主要从事批发和零售业的企业;此次维权产品是一款手动清洁仪,在使用过程中,清洁仪的表面与灰尘亲密接触,并通过来回移动引导灰尘进入仪器内部,实现高效集尘。同时,仪器内部还配备了先进的锁尘机制,确保灰尘被牢牢锁住,直至用户需要清理时,再便捷地开启设备进行清洁。
旗下这款手动清洁器采用了易清洗材质,能够收集和排放灰尘;将清洁表面和灰尘进行接触,灰尘会被收集在集尘室内,很方便使用。
案件信息:
起诉时间:2024.10.30
案件号:24-cv-11211
维权类型:专利
专利号:US8117706B2
原告品牌:手动清洁器
品牌:Nippon Seal (Shenzhen) Co., Ltd.
代理律所:Dewitty And Associates, Chtd.
发案地:美国伊利诺伊州
发明专利侵权具体信息:
产品示例:
4.无线充电器
本案维权原告是一位国人卖家,专注于做3C产品研发销售;此次涉案的无线充电器是由一个多表面、多维度的面板组成,能够接受可充电设备如手机和手表,允许设备通过表面接触进行充电。
案件信息:
起诉时间:2024.11.1
案件号:24-cv-11301
维权类型:专利
专利号:D1019552
原告品牌:无线充电器
品牌:Dongguan Juyuan Precision
代理律所:Dewitty And Associates, Chtd.
发案地:美国伊利诺伊州
专利侵权具体信息:
产品示例:
总结:
卖家们上架的产品自查过程中若是发现自己的产品与该专利相似度超过70%,尽快下架涉嫌侵权产品链接!不要抱着侥幸的心理售卖一些明知侵权的产品。总觉得自己应该是幸运的那一个,然后品牌维权之时谁都没有保护伞。
以上就是本次的专利分享,注意发明专利!部分产品都拥有不少外观专利,稍不留神就会踩雷,卖家在上架前一定要做好专利检索工作。发现不妥抓紧应对。不慎被起诉怎么办?在收到平台通知后,可立刻委托律师分析处理,快至1-2个月可解决。
无论是谈判和解或是应诉,我们亚易知识产权都有相当丰富的经验且很强的专业能力。若您需要专业的侵权和解/应诉服务,或是想了解自己的产品有无侵权,欢迎联系我们亚易知识产权免费咨询。
若您想要了解其他产品有无专利,或是遇到侵权问题不知该如何解决,欢迎联系咨询~
更多专利问题
扫描下方二维码
针对性,一对一免费咨询分析
亚易知识产权已成为亚马逊美客多TEMU三个平台SPN服务商。
一手好标等你来选 购买好标找亚易
抱团交流
一个集大神卖家与逗趣同行于一体的交流群,扫码添加客服微信(备注“进群”哦)。
目前100000+人已关注加入我们
下一篇:Keith 律所新代理版权画强势来袭!兔子水彩插画、牛仔竞技海报速看避雷!
上一篇:一款“放弃美国市场”的AI社交App,月流水碾压C.ai
文章为作者独立观点,不代表AMZ520立场。如有侵权,请联系我们。
