国内专利诉讼集中爆发!解压钥匙扣、充气露营床垫阀门、暖手宝,附发明专利规避策略

近期,国内专利诉讼案件数量激增
尤其是针对发明专利的案件愈发频繁
卖家们必须高度关注
案件号:24-cv-11813
立案时间:2024年11月16日
原告:F**g
代理律所:Dewitty And Associates, Chtd.
原告因其专业生产玩具和日常用品而闻名。维权的产品是一款色彩鲜艳的方形按压式钥匙扣,具备泡泡感官玩具的特性,按压时能发出清脆的爆裂声。这款钥匙扣不仅有助于缓解抑郁情绪,还适用于多动症和自闭症患者,能随时随地有效减轻压力和焦虑。

维权的专利
▼

案件号:24-cv-11553
立案时间:2024年11月8日
原告:Zh**oods Inc.
代理律所:GLACIER LAW LLP
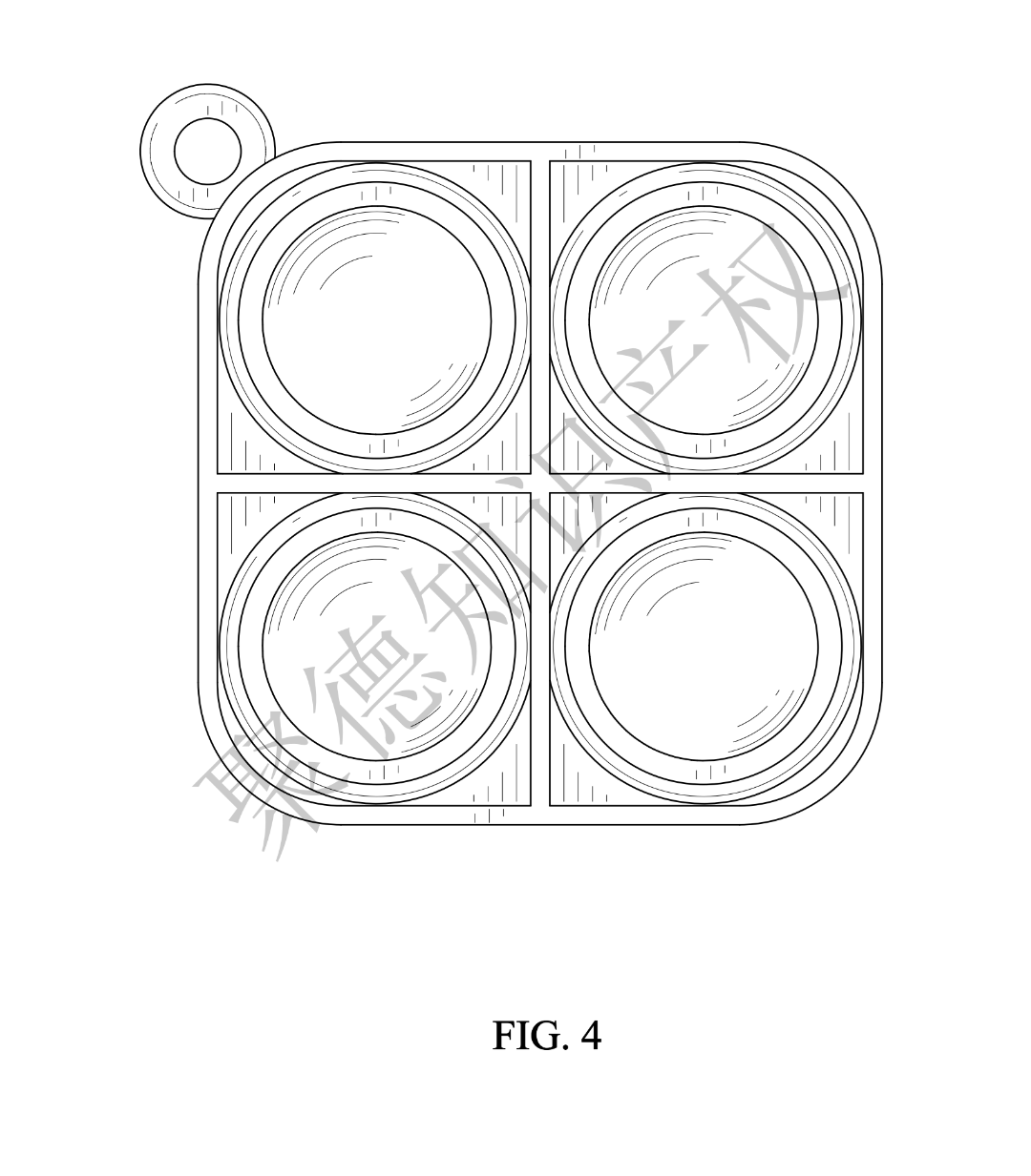
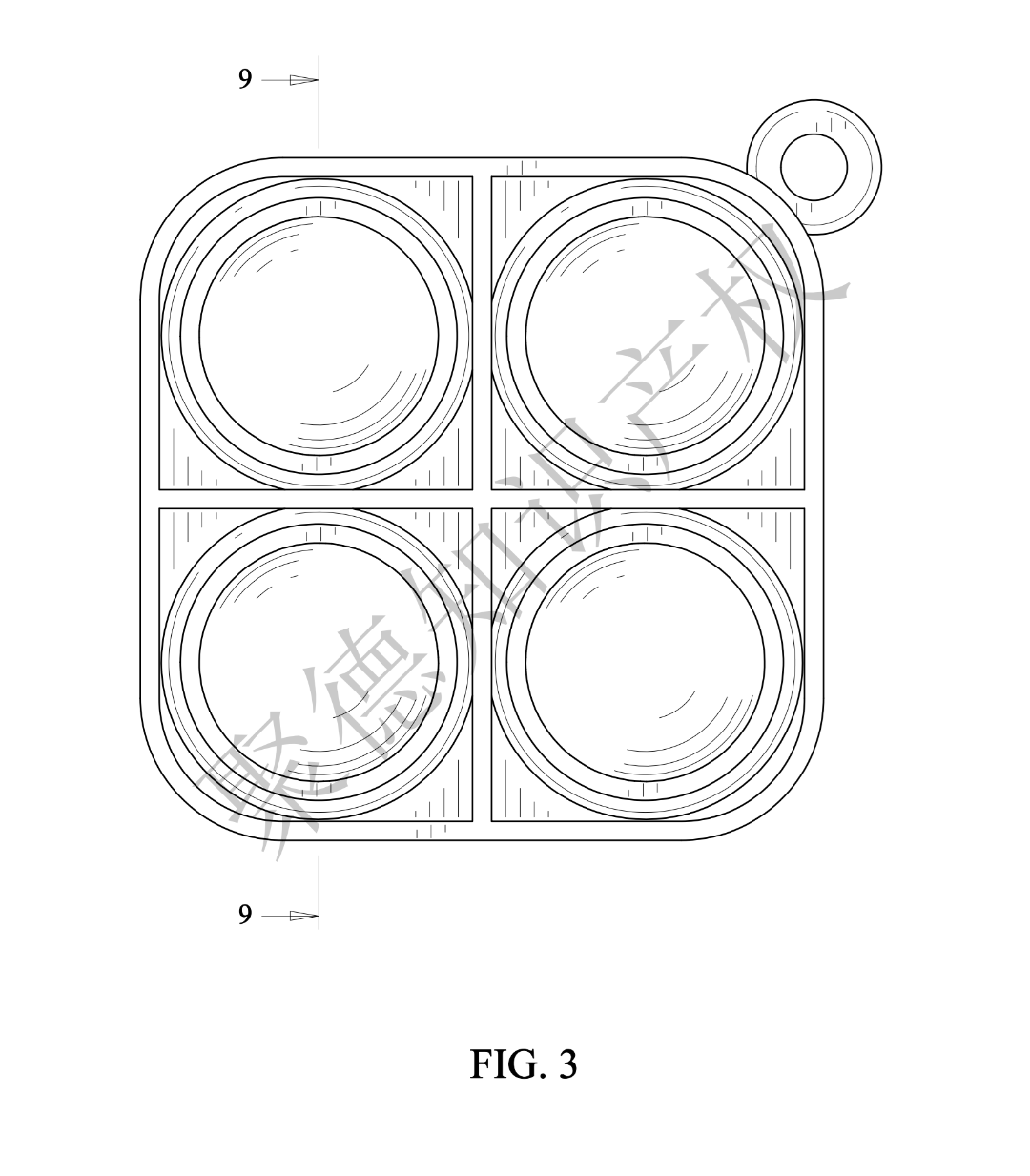
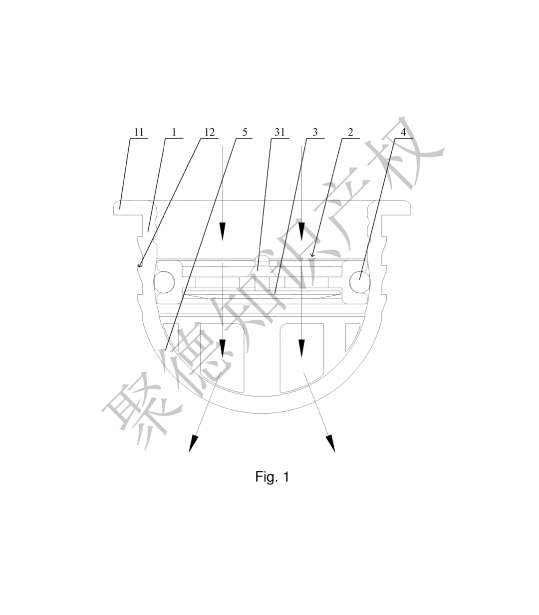
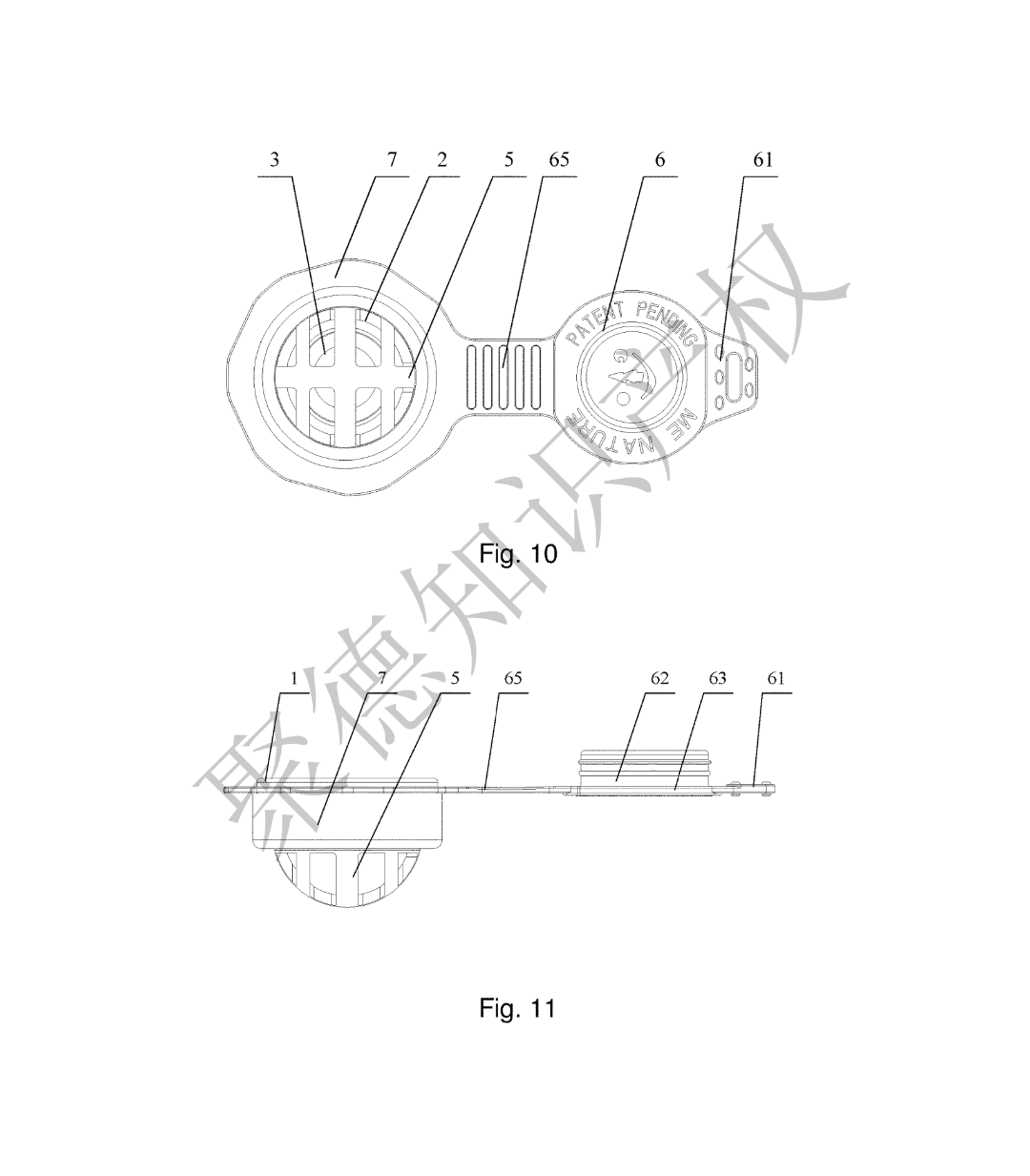
原告自1992年成立以来,专注于运动和户外产品的研发生产,拥有30年行业经验。作为户外体育行业的全球领先供应商,原告以高品质和创新设计著称,专精于气垫和户外箱包。在全球范围内,原告拥有超过100项专利技术。此次诉讼涉及的是原告的一项自充气露营床垫的阀门发明专利。

维权的专利
▼

阀芯盘设于通道内并可相对于阀体转动,可以将阀芯盘设计成固定在通道内,使其无法相对于阀体进行转动。这样的修改可以规避专利中关于阀芯盘可转动的技术特征。
案件号:24-cv-11570
立案时间:2024年11月12日
原告:G**o Ltd.
原告官网:Palmer Law Group, P.A.
原告的暖手宝设计符合人体工学,边缘弧度贴合手掌,适合户外或日常使用。磁性设计让双单元组合灵活,每个单元可独立加热,适合单手或双手。三档温度调节和快速加热功能,让用户在冬季保持温暖。

维权的专利
▼

该专利采用的可拆卸结构设计为卡扣与卡槽的组合,通过调整两个暖手宝单元间的这种可拆卸连接方式,可以有效规避专利侵权问题。
别划走,后面还有精彩回顾
推荐阅读
抱团交流
一个集大神卖家与逗趣同行于一体的交流群,扫码添加客服微信(备注“进群”哦)。
目前100000+人已关注加入我们
上一篇:36氪出海·活动|世界杯后,走进卡塔尔:中东经济多元化转型的热土
文章为作者独立观点,不代表AMZ520立场。如有侵权,请联系我们。




