这些家居日常产品已成专利侵权重灾区,稍不注意就中招!

无线充电支架(24-cv-11301)
液体分装器(24-cv-11325)
蜡烛灯(24-cv-11454)
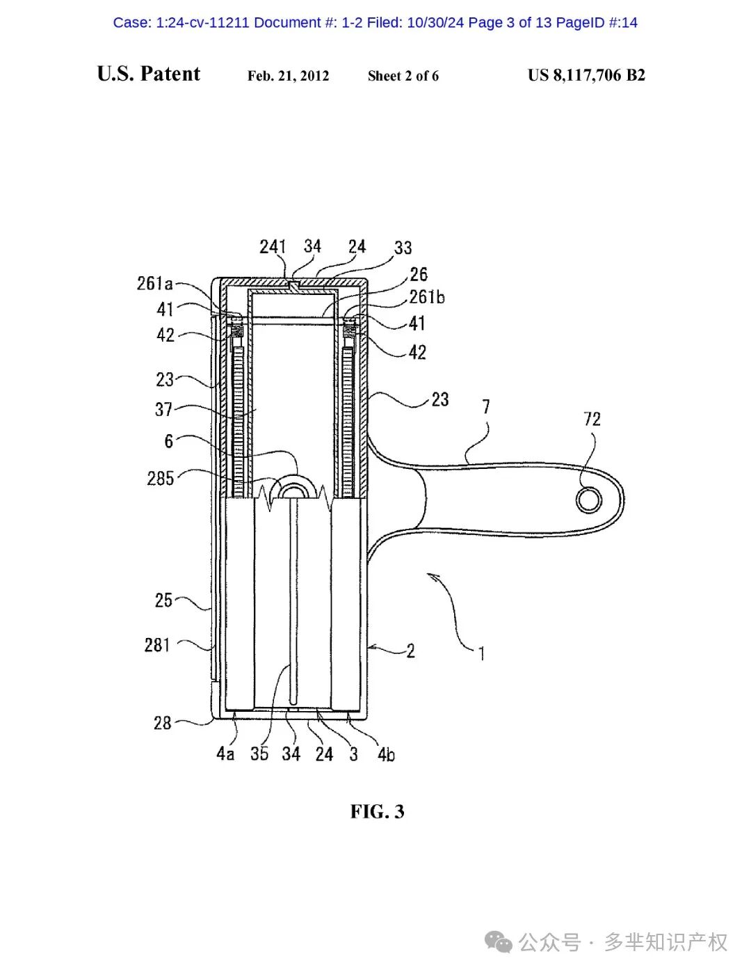
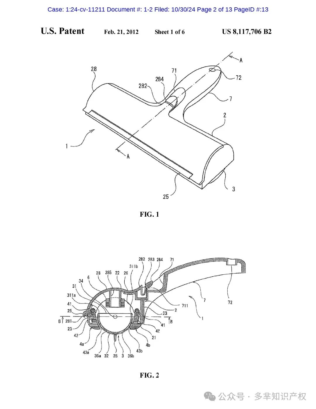
Nippon Seal Co., Ltd. 是一家总部位于日本大阪的公司,成立于1922年,是全球领先的纺织品供应公司之一。该公司专注于提供高质量的纺织品和礼仪刷,其礼仪刷产品是世界上首创,并广泛应用于各国。原告为该公司在中国深圳设立的办事处。

该专利产品是一款手动清洁工具,能轻松收集和排出灰尘,可在狭窄空间清洁,无声且使用舒适,不产生如胶带等废弃物。其工作原理是将集尘体接触待清洁表面并来回移动收集灰尘,旋转受缓冲部件限制避免产生噪音,通过手柄可进入狭窄空间,握住手柄时可操作盖子排出收集的灰尘。
左右滑动查看更多

原告是一家位于东莞的公司,是美国专利D1019552“折叠无线充电支架” 的受让人和所有者,该专利于2023年6月15日申请,2024年3月26日下证。截止发稿,原告暂未提起TRO动议,预计1-2周内有进展。
该专利设计是一个多表面、多维面板,能够容纳诸如手机和手表等可充电设备,通过表面接触为设备充电,并且具有可折叠的特性,方便携带和使用。充电板两侧的夹持机构可收缩夹持,对手机进行固定。

原告方:BISHAL BHANDARI and GOBOUT LLC
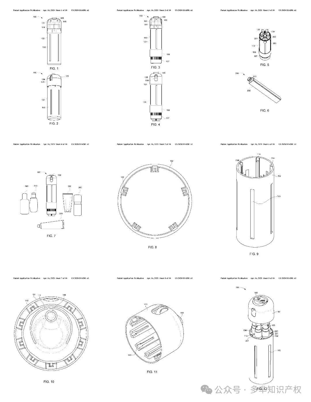
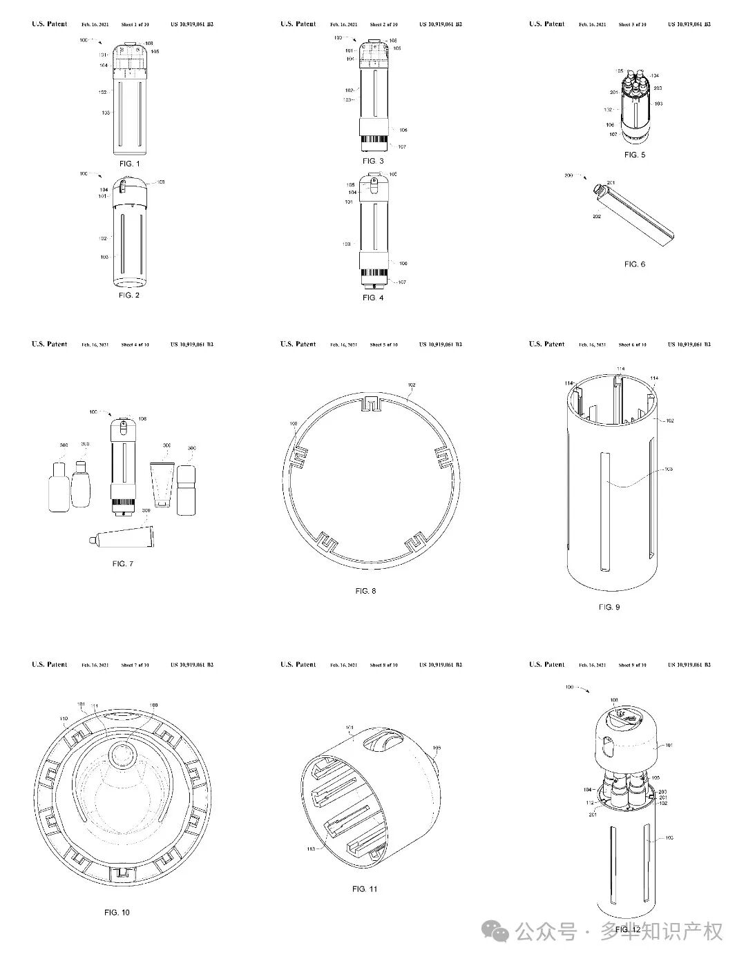
GoBout LLC是一家专注于定制、储存及分配各类洗漱精品的企业,由Bishal Bhandari创立,主要产品是便携液体分配器,可以分配多种液体如洗发水、沐浴露等。原告Bishal Bhandari是GoBout LLC的唯一所有者和总裁,也是涉案专利的发明者。

该专利涉及一款便携式液体分配器,具有多个胶囊,每个胶囊可用于单独储存一种液体,通过可拆卸的泵盖实现液体的分配,用户可根据需求选择和分配特定胶囊中的液体。还可包括通过紧配合套筒或磁力吸引连接在外壳封闭端的除臭剂,可为喷雾或滚珠式。
左右滑动查看更多

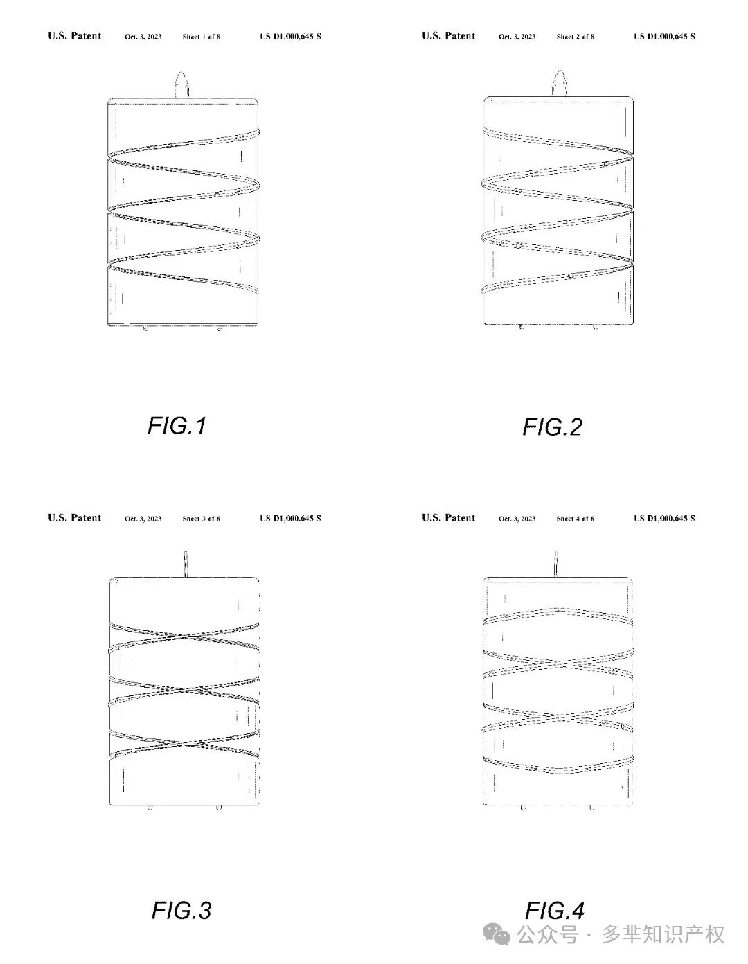
原告为国人卖家,是涉案美国外观专利D1000645的所有者,该专利是一款蜡烛灯,于2021年5月27日申请,2023年10月3日下证。
这款蜡烛灯由LED小彩灯组成,可提供微小而明亮的光点。能模拟逼真的火焰,会像传统的火焰蜡烛一样闪烁和摇摆。由LED发光,不会真正着火,在儿童和宠物周围使用安全。与塑料蜡烛相比,能产生更柔和、更自然的光泽。
左右滑动查看更多

以上为本期侵权案件的全部内容,请各位卖家做好排查工作,及时关注最新资讯,关注我们或者加入群聊,第一时间收看TRO案件、侵权预警文章!
如何判断产品是否涉及专利侵权,如何规避与应对侵权纠纷?可查看文章👉:美国专利侵权判定标准与赔偿机制解读,中国企业该如何规避与应对美国专利侵权诉讼纠纷?
如有不幸遇到侵权或者想要发起维权的朋友,可以第一时间联系我们,我们会针对不同案情提供最专业的服务。
↓↓多芈跨境电商新机遇探索群↓↓
欢迎各位卖家朋友入群✨
我们会分享各种跨境资讯、跨境干货、
TRO案件等文章供大家参考、交流、学习!
如果有疑问,也欢迎提出!

往期回顾
---商标注册---
---跨境平台入驻---

抱团交流
一个集大神卖家与逗趣同行于一体的交流群,扫码添加客服微信(备注“进群”哦)。
目前100000+人已关注加入我们
上一篇:品类横盘不影响做爆款,这家厂商的第3款千万月流水产品来了
文章为作者独立观点,不代表AMZ520立场。如有侵权,请联系我们。

