圣诞季节性产品已接近尾声!5款切纸器美国专利还能不能掀起幺蛾子?!
本期推文末端已向各位卖家推荐“合作伙伴”,感兴趣可扫码添加哦~
圣诞季节性产品,今年实属没有什么新鲜玩意,开发动力极具下将。
这不,后台多名卖家私信,想要知道圣诞裁缝刀会不会侵权?
所以本期推文直接推送5款美国专利,无论是外观专利还是发明专利,一个都不拉!

首先,肯定不得不提起该产品的灵感来源品牌The Original Little ELF
Amazon链接Asin:B07V738J4Y

美国版权信息如下:

那专利方面,目前有哪些呢?
接下来Alice将一一分享:
1、美国专利号US2018345516A1(发明)
美国专利号D890591

2、美国专利号USD968190S

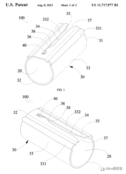
3、美国专利号US11717977B1(发明)

4、美国专利号USD985353S

5、美国专利号USD915507S

谨小慎微、
账号安全,且行且珍惜。
好了,以上则为本期“圣诞切纸器”的全部侵权内容。谨防专利版权侵权
请及时关注侵权资讯,排查自有选品库,谨防专利/版权侵权。
温馨提示:
专利侵权风险:☆☆☆☆☆
优质服务商推荐
推荐
优质服务商
青枫法务(知识产权) 主营:TRO侵权案件和解应诉 专利商标版权注册

关注ALice,侵权不迷路
,有侵权问题直接私信来call!
抱团交流
一个集大神卖家与逗趣同行于一体的交流群,扫码添加客服微信(备注“进群”哦)。
目前100000+人已关注加入我们
文章为作者独立观点,不代表AMZ520立场。如有侵权,请联系我们。
