立即停卖!这类产品将被严查,卖家需抓紧应对!
女人这一生最大的事业,就是坚持护肤,维持自己的颜值。年轻从来就不是女人的问题,在这时代,我们女人一定做到年龄成谜,脸蛋身材无敌。小编今天要讲的侵权产品中也有和这个品类有关。相关的卖家朋友们注意别踩坑!
Solawave按摩棒
Solawave Inc.是一家专注于护肤技术的公司,总部位于美国;Solawave的产品线涵盖了多种护肤工具和外用产品,例如:外用精华液、光疗面膜、按摩棒、粉刺治疗设备;Solawave的产品在市场上广受好评,尤其在各大平台上,因用户真实体验而快速走红。
侵权雷区:专利侵权
案件信息:
起诉时间:2024.10.7
案件号:24-cv-9622、24-cv-9635
维权类型:专利
专利号:D1024350
原告品牌:Solawave按摩棒
品牌:Solawave Inc.
代理律所:GBC
发案地:美国伊利诺伊州
品牌网址:https://www.solawave.co/
专利侵权具体信息:
产品示例:
宠物刷子
案件原告Heng Zhu是一位国人卖家,主要做各种宠物用品生产销售;本次维权的产品是一款宠物刷子,刷子结合了除毛、清洁和按摩多重功效,能够有效的帮助宠物去除毛发污垢。
侵权雷区:专利侵权
案件信息:
起诉时间:2024.10.4
案件号:24-cv-01809
维权类型:专利
专利号:D1020133
原告品牌:宠物刷子
品牌:Heng Zhu
代理律所:Dewittyip
发案地:美国佛罗里达州
专利侵权具体信息:
产品示例:
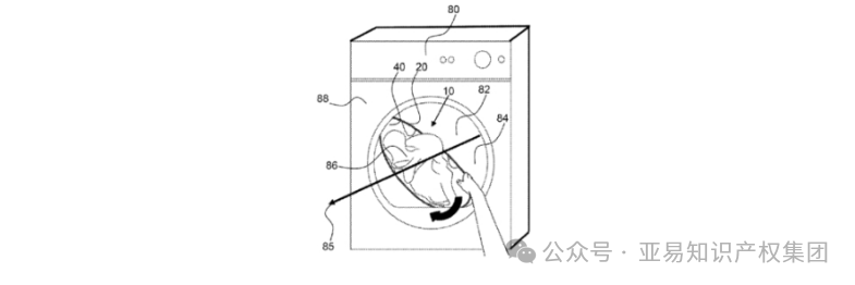
弹出式洗衣篮
原告是一家小型家族企业,发案维权的产品为“弹出式洗衣篮”,由于产品外观形似乌龟,又被成为“洗衣乌龟”;该产品已经获得了发明专利;维权产品主要用于日常的洗衣收纳,产品能够折叠,便于携带。
侵权雷区:专利侵权
案件信息:
起诉时间:2024.10.4
案件号:24-cv-09479
维权类型:专利
专利号:US11572655B1
原告品牌:弹出式洗衣篮
品牌:1348671 B.C. LTD.
代理律所:Bishop Diehl & Lee, Ltd.
发案地:美国伊利诺伊州
专利侵权具体信息:
产品示例:
WICUE USA, INC.多色液晶手写板
WICUE USA, INC.是原告在亚马逊上用于销售多色液晶手写板的品牌,这款产品色彩鲜艳,可以提高孩子们的注意力,激发孩子们的想象力;同时产品采用LCD彩色屏幕技术,更易保存。
侵权雷区:专利侵权
案件信息:
起诉时间:2024.9.26
案件号:24-cv-9029
维权类型:专利
专利号:US11143898B2
原告品牌:Wicue多色液晶手写板
品牌:WICUE USA, INC.
代理律所:YK Law LLP
发案地:美国伊利诺伊州
专利侵权具体信息:
产品示例:
总结:
随着社会的发展,专利侵权的投诉和举报日益增加。这一方面体现了现在企业的维权意识不断增加,但也说明了社会上大量合法商标权益正在被越来越多的违法者侵害。
以上是近期起诉侵权的部分品牌,专利侵权常见且极易被察觉,卖家一定要做好工作,避免再次被“噩梦”吞噬!有卖相关产品的卖家抓紧自查,若发现有侵权风险,应立即下架并及时提现,以免资金遭冻结。
品牌维权案络绎不绝,几乎每天都有新的案件爆出。卖家想远离侵权风险,一定要做好知识产权侵权预警,商标、专利、版权都不可疏忽。
无论是谈判和解或是应诉,我们亚易知识产权都有相当丰富的经验且很强的专业能力。欢迎联系我们亚易知识产权免费咨询。
更多商标 专利问题
扫码添加客服
免费咨询
侵权检测工具及多国商标专利自助查询教程(免费领取)
助你安全销售不侵权
扫一扫
惊喜来袭!!
发布一款卖家预防产品侵权查询工具,正式上线,
扫码即可下单查询,10月优惠价低至9.9元!
智检易专业检索相同相似外观、规避新品上架风险、专利工程师1V1、提供产品创新建议!
更多咨询扫码下方二维码。
抱团交流
一个集大神卖家与逗趣同行于一体的交流群,扫码添加客服微信(备注“进群”哦)。
目前100000+人已关注加入我们
文章为作者独立观点,不代表AMZ520立场。如有侵权,请联系我们。
