紧急排查:《芝麻街》动画、玩具枪、宠物喂水瓶侵权风险

侵权案件似乎永无止境
一浪接一浪地涌现
跟随小Jude的步伐
一起规避这些侵权风险
案件号:24-cv-09713
立案时间:2024年10月8日
原告:Sesame Workshop
原告官网:https://sesameworkshop.org/
代理律所:Tme Law, P.C.
原告致力于创作儿童教育电视节目,其代表作《芝麻街》自1969年11月10日首次播出以来,便深受儿童和成人的喜爱,成为儿童电视领域的开创之作。这部广受欢迎的系列作品巧妙融合了真人表演、幽默喜剧、动画和木偶戏等多种元素。

维权的版权
▼

维权的商标
(部分维权商标)
▼
案件号:24-cv-09718
立案时间:2024年10月8日
原告:LOVITEDO LLC
代理律所:Keener And Associates, P.C.
大家可能都对这家公司有所耳闻,他们在专利维权方面非常积极,每次针对的侵权对象都不尽相同。而这一次,他们的维权焦点是一款玩具枪的发明专利。

对应的专利
▼

专利要求1
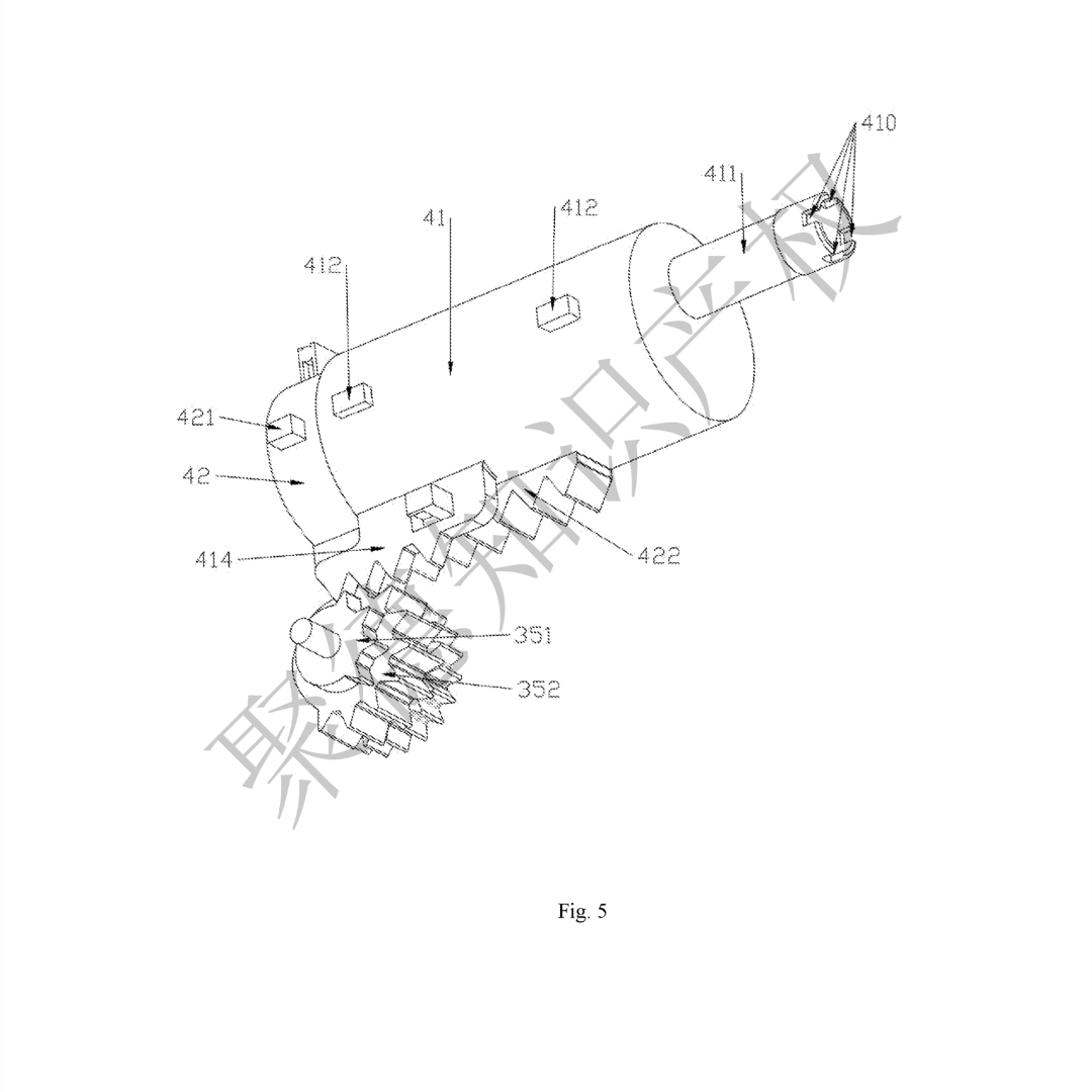
一种玩具枪,包括枪壳,进一步包括驱动机构、齿轮组、充气组和枪管,其中充气组在枪壳内以滑动方式排列,驱动机构驱动齿轮组旋转;
充气组包括一个圆柱体和一个活塞,活塞在圆柱体内以滑动方式排列,圆柱体的一端固定设有一个喷气嘴,该喷气嘴插入枪管的一端,齿轮组驱动活塞在圆柱体内往复移动,同时驱动圆柱体在枪壳内往复移动。
案件号:24-cv-09356
立案时间:2024年10月2日
原告:Weiming Sun
代理律所:Dewitty And Associates, Chtd.
本次维权行动的核心产品是一款创新的便携式折叠喂水瓶,专为宠物爱好者设计。这款喂水瓶以便携性和便捷的折叠功能,成为宠物在户外活动或旅行时的理想饮水伴侣。其精心设计的水槽确保了宠物能够轻松地直接饮用,操作过程简单直观。当折叠起来时,它的体积非常紧凑,轻松放入背包、手提包或车内的任何角落。

对应的专利
▼

对于侵权行为,从发生到收到通知一般存在一到两周的延迟。通常,只有当原告获得临时限制令后,涉案的卖家才会得到正式通知。
由于侵权行为一旦确认,您的账户资金会被冻结,建议曾销售涉嫌侵权品牌的卖家尽快进行提现操作。因为冻结资金的多少往往与原告律师所要求的赔偿金额成正比。请记住,即使您已经提取了资金,仍然需要与原告进行和解谈判,以确保您的店铺账户能够恢复正常运营。提前提现是为了减少您在谈判过程中的不利地位。
如果您发现自己面临侵权诉讼,请立即联系小Jude。我们的团队将为您提供专业的店铺状况评估,并量身定制解决方案。
别划走,后面还有精彩回顾
推荐阅读
抱团交流
一个集大神卖家与逗趣同行于一体的交流群,扫码添加客服微信(备注“进群”哦)。
目前100000+人已关注加入我们
上一篇:美线动态 | 亚马逊爆仓严重,卖家需提前做好出货计划
文章为作者独立观点,不代表AMZ520立场。如有侵权,请联系我们。




