9.29美国站点:切纸机,婴儿秋千,汽车横杆,LED蜡烛,卫浴洁具,制冰模具等
广告招商
PART/ 01
专利编号:USD1043304S1
专利名称:Paper cutter 切纸机
申请日:2024-03-08
公开(公告)日:2024-09-24
当前申请(专利权人):LIU***
PART/ 02
专利编号:USD1043142S1
专利名称:Baby swing 婴儿秋千
申请日:2024-06-20
公开(公告)日:2024-09-24
当前申请(专利权人):REN****
PART/ 03
专利编号:USD1044099S1
专利名称:LED candle LED蜡烛
申请日:2024-06-12
公开(公告)日:2024-09-24
当前申请(专利权人):SHENZHEN***
发明人:CHEN***
PART/ 04
专利编号:USD1043529S1
专利名称:Crossbar for car 汽车横杆
申请日:2024-06-12
公开(公告)日:2024-09-24
当前申请(专利权人):FOSHAN***
发明人:YE***
PART/ 05
专利编号:USD1043172S1
专利名称:Bathroom fixture 卫浴洁具
申请日:2024-06-03
公开(公告)日:2024-09-20
当前申请(专利权人):WENZHOU***
发明人:QIU***
PART/ 06
专利编号:USD1043789S1
专利名称:Security camera 安全摄像头
申请日:2024-05-31
公开(公告)日:2024-09-24
当前申请(专利权人):SHENZHEN***
发明人:HUNAG***
PART/ 07
专利编号:USD1044147S1
专利名称:Bird feeder 喂鸟器
申请日:2024-05-20
公开(公告)日:2024-09-24
当前申请(专利权人):QUANZHOU***
发明人:JIANG***
PART/ 08
专利编号:USD1043770S1
专利名称:Ice making mold 制冰模具
申请日:2024-05-14
公开(公告)日:2024-09-24
当前申请(专利权人):SHENZHEN***
发明人:YUAN***
PART/ 09
专利编号:USD1043792S1
专利名称:Projector 投影仪
申请日:2024-05-11
公开(公告)日:2024-09-24
当前申请(专利权人):SHENZHEN***
发明人:ZHU***
PART/ 10
专利编号:USD1043287S1
专利名称:Shade actuator rod 遮阳帘致动杆
申请日:2024-05-09
公开(公告)日:2024-09-24
当前申请(专利权人):STOKES**
PART/ 11
专利编号:USD1043137S1
专利名称:Hat hanger 帽架
申请日:2024-04-30
公开(公告)日:2024-09-24
当前申请(专利权人):ZHANG***
PART/ 12
专利编号:USD1043757S1
专利名称:Air pump 气泵
申请日:2024-04-23
公开(公告)日:2024-09-24
当前申请(专利权人):SHENZHEN***
发明人:ZENG***
PART/ 13
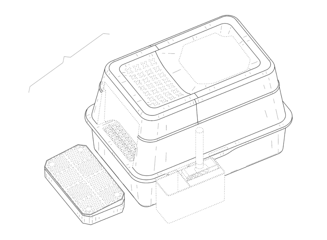
专利编号:USD1044169S1
专利名称:Cat litter box 猫砂盆
申请日:2024-04-23
公开(公告)日:2024-09-24
当前申请(专利权人):ZENB***
PART/ 14
专利编号:USD1043288S1
专利名称:Wrench 扳手
申请日:2024-04-16
公开(公告)日:2024-09-24
当前申请(专利权人):ZHOU***
PART/ 15
专利编号:USD1044011S1
专利名称:Massage device 按摩器
申请日:2024-04-18
公开(公告)日:2024-09-24
当前申请(专利权人):HAIMEN***
发明人:SHI***
点击蓝字 关注我们
木瓜侵权
木瓜力荐“奥力虎”Aolihu电动工具头部实力制造商!
木瓜力荐“咔哆/爱宠”全球专利布局私模产品制造商!
木瓜力荐“青枫”Tro律师函/和解应诉服务商!
更多跨境广告位持续招租中
抱团交流
一个集大神卖家与逗趣同行于一体的交流群,扫码添加客服微信(备注“进群”哦)。
目前100000+人已关注加入我们
上一篇:外观专利侵权预警413期:无线轨迹球鼠标(9月17日下证)
文章为作者独立观点,不代表AMZ520立场。如有侵权,请联系我们。
