9.23美国站热销产品,有如下专利侵权风险!涉及多类目产品
广告招商

PART/ 01


专利编号:USD1041921S1
专利名称:Hanger 衣架
申请日:2024-06-25
公开(公告)日:2024-09-17
当前申请(专利权人):GLOBAL****
发明人:LI*** TU*** HUANG***
PART/ 02


专利编号:USD1042007S1
专利名称:Fry pan Fry pan
申请日:2024-06-18
公开(公告)日:2024-09-17
当前申请(专利权人):SHENZHEN****
发明人:WU***
PART/ 03


专利编号:USD1042757S1
专利名称:Baby bath seat 婴儿洗澡椅
申请日:2024-06-13
公开(公告)日:2024-09-17
当前申请(专利权人):TAIZHOU***
发明人:CHEN***
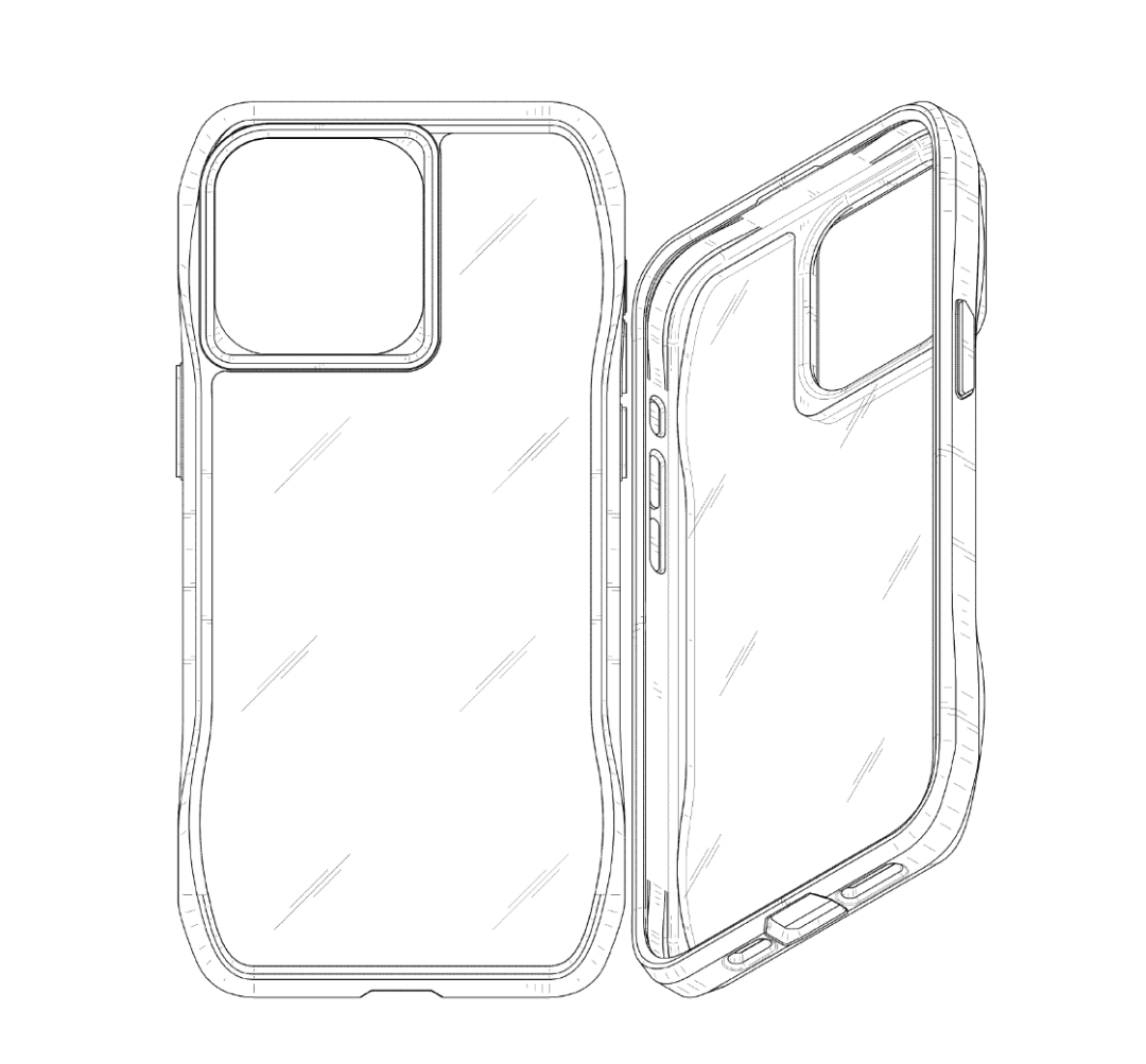
PART/ 04


专利编号:USD1042433S1
专利名称:Smartphone case 智能手机壳
申请日:2024-04-01
公开(公告)日:2024-09-17
当前申请(专利权人):ZHONGSHAN***
发明人:DANI***
PART/ 05


专利编号:USD1042304S1
专利名称:Crossbar for car 汽车横杆
申请日:024-06-06
公开(公告)日:2024-09-16
当前申请(专利权人):FOSHAN WODE***
发明人:YE***
PART/ 06


专利编号:USD1041928S1
专利名称:Rocking chair 摇椅
申请日:2024-06-11
公开(公告)日:2024-09-17
当前申请(专利权人):LINHAI ***
发明人:QIN***
PART/ 07


专利编号:USD1042294S1
专利名称:Car wiper spring 汽车雨刮器弹簧
申请日:2024-05-20
公开(公告)日:2024-09-17
当前申请(专利权人):SHENZHEN***
发明人:FU***
PART/ 08


专利编号:USD1041949S1
专利名称:Towel rack 毛巾架
申请日:2023-11-28
公开(公告)日:2024-09-17
当前申请(专利权人):KAIPING***
发明人:TAN***
PART/ 09


专利编号:USD1042772S1
专利名称:Humidifier 加湿器
申请日:2023-11-30
公开(公告)日:2024-09-17
当前申请(专利权人):ZHANG***
PART/ 10


专利编号:USD1042702S1
专利名称:Punching bag 出气筒
申请日:2024-03-19
公开(公告)日:2024-09-17
当前申请(专利权人):KUN***
PART/ 11


专利编号:USD1041940S1
专利名称:Chair 椅子
申请日:2022-06-06
公开(公告)日:2024-09-17
当前申请(专利权人):KNOLL***
发明人:CITTERIO***
PART/ 12


专利编号:USD1042988S1
专利名称:Pet water dispenser 宠物饮水机
申请日:2024-01-22
公开(公告)日:2024-09-17
当前申请(专利权人):HE***
PART/ 13


专利编号:USD1041958S1
专利名称:Pillow 枕头
申请日:2024-04-15
公开(公告)日:2024-09-17
当前申请(专利权人):LI***
PART/ 14


专利编号:USD1043020S1
专利名称:Shopping cart 购物车
申请日:2023-12-05
公开(公告)日:2024-09-17
当前申请(专利权人):ZHANG***
PART/ 15


专利编号:USD1042719S1
专利名称:Flying insect trap 飞行昆虫陷阱
申请日:2023-10-15
公开(公告)日:2024-09-17
当前申请(专利权人):SHENZHEN ***
发明人:ZHOU*** HU***

点击蓝字 关注我们

木瓜侵权


木瓜力荐“奥力虎”Aolihu电动工具头部实力制造商!

木瓜力荐“咔哆/爱宠”全球专利布局私模产品制造商!

木瓜力荐“青枫”Tro律师函/和解应诉服务商!

更多跨境广告位持续招租中


抱团交流
一个集大神卖家与逗趣同行于一体的交流群,扫码添加客服微信(备注“进群”哦)。

目前100000+人已关注加入我们












上一篇:同比增长70%!今年亚马逊MCF订单突增, 单渠道FBA卖家需要注意哪些问题?
文章为作者独立观点,不代表AMZ520立场。如有侵权,请联系我们。