一上架就卖爆!这类产品“红到发紫”,但却藏有封店危机!
据Justuno发布的报告显示,预计到2027年全球宠物市场规模将达3500亿美元。还有业内人士指出,届时宠物用品的电商渗透率或将位列所有产品类目的第4位,成为各大市场的一大消费热点。

宠物用品市场“红到发紫”,爆款自然是层出不穷。比如Neakasa智能猫砂盆上架不久就卖爆,更是在今年Prime Day斩获2400万元的GMV,目前在亚马逊上月销仍高达2000+。

爆款产品想要做得长久,必须要有专利护航,才能免遭跟卖和侵权的侵蚀。Neakasa智能猫砂盆也不例外,国内外观专利已于2024年8月16日获得授权。


虽然暂未查询到该猫砂盆的美国外观专利,但不排除在申请中的可能,毕竟在今年8月份该公司名下新增了2件美国外观专利,其中一件正是其店铺在售的宠物理毛器外观专利,可见品牌方的专利保护意识还是很强的。
从Neakasa可以窥见,宠物市场爆单机会多,侵权风险也很高,很多热销的产品都已布局专利,建议想要进入该赛道的卖家注意规避,以免踩雷!
亚马逊上猫砂盆在售相关Listing多达4000+,月销过百甚至破千的产品不在少数。

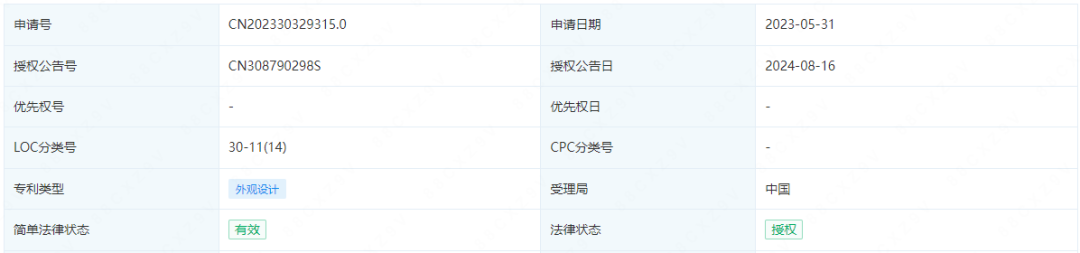
今年下证的猫砂盆外观专利不少:
宠物玩具是铲屎官们必备的产品之一,在亚马逊上输入关键词“PET TOY”搜索,显示有20000+相关listing在售。竞争激烈但也不影响卖家们疯狂出单,多款产品月销过千甚至破万。

热销背后往往藏有巨大的侵权风险,许多宠物玩具已申请专利,近期就有不少专利下证:
宠物碗是养宠的必备工具之一,虽然竞争不小,但也不影响疯狂出单。亚马逊上在售相关Listing多达10000+,其中有不少产品月销过千。

查询到的部分美国外观专利:
宠物刷既可以将快掉落的旧毛掉毛先刷下来,又能在刷毛的同时给宠物进行按摩促进血液循环,是很多铲屎官会选择的宠物产品。亚马逊上多款产品月销留评双双过千,相当好卖。

查询到的部分外观专利:
舒适柔软的宠物床可为宠物提供良好睡眠环境,是许多铲屎官会选择的产品。亚马逊上相关Listing多达4000+,不少产品月销过千破万。

查询到的部分外观专利:
宠物围栏可以为宠物打造舒适的小天地,吸引不少铲屎官购买。亚马逊上在售相关Listing达1000+,月销过千的产品不在少数。

查询到的部分外观专利:
以上是部分热销宠物产品的外观专利,可谓是危机重重,建议卖家在选品或销售时一定要做好排查工作。积特整理了保姆级美国专利查询教程,供大家自查专利侵权风险:
外观专利侵权的判定标准为大体相似,即普通大众通过对比,是否会将涉案产品误认为专利产品,如易产生误认,则侵权风险高。简而言之,若您所售产品与上述提及的外观专利高度相似,将会存在侵权可能。
需要注意的是:美国外观专利主要保护实线部分,比如下方专利保护的是实线部分的形状,若是产品的部分结构与该形状高度相似,也会有侵权风险。

另外,判断外观专利侵权除了看产品外观是否高度相似,还要留意专利的申请日期,若产品链接上架日期在对方专利的公开申请日之前则侵权存在争议性。
规避侵权建议:
1.不管是计划上架的新品,还是相对热卖的产品(不论售卖时间长短),都要做好专利检索,避免出售与他人外观专利高度相似的产品;
2.若有好的创意、好的技术或方法,一定要尽早注册专利,不仅能在发生侵权纠纷时保证自身权益,还能防止恶意抢注。
另外,积特有在陆续整理已下证专利的产品,可助大家更好地规避侵权风险:

有需要的卖家可扫描下方二维码免费获取,想要了解自己的产品有无侵权风险或遇到侵权问题不知该如何解决,也可扫码咨询~


抱团交流
一个集大神卖家与逗趣同行于一体的交流群,扫码添加客服微信(备注“进群”哦)。
目前100000+人已关注加入我们
下一篇:亚马逊实战高阶班“极速爆款训练营”盛大开启,你和顶级操盘手之间只差这一套课程
上一篇:摆脱牛马人生!大学生在TikTok卖贴纸获百万收入!
文章为作者独立观点,不代表AMZ520立场。如有侵权,请联系我们。
