3起专利新案!折叠无线充有发明专利?爆款转印杯固定夹也凉凉!

【卖家精灵&跨境侵权哥折扣码】:
QQG72:单人版(1个账号)原价72折,2688立减760,优惠价1928
QQG78:标准版(1+3)原价78折,4416立减971,优惠价3445(标准版以上也是78折码)
使用流程:
https://www.sellersprite.com/cn/price
1.选择包年——支付宝/对公账户购买
2.在折扣券输入优惠码,点击检测有效性
3.检查订单价格,提交订单并支付。
01
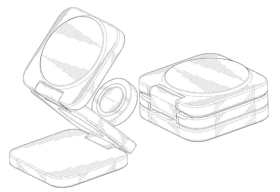
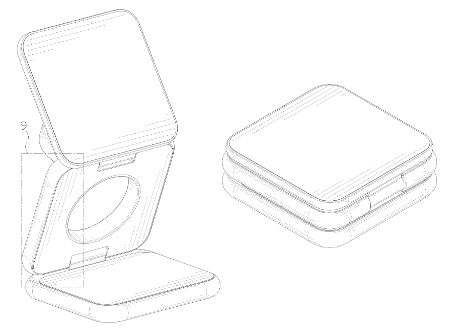
折叠无线充电器

起诉时间:2024/8/5
案件编号:24-cv-22971
原告方:国内卖家
侵权产品:折叠无线充电器
侵权类型:专利侵权
我们检索到原告方名下有多个折叠无线充电器的专利,其中还有发明专利!
美国外观专利:USD1028886S1

美国外观专利:USD1040101S1

美国外观专利:USD1030658S1

美国外观专利:USD1030648S1

美国发明专利:US11936224B1

本发明提供一种可折叠无线充电支架,包括至少两个通过导线电连接的无线充电模块。一种铰接组件,包括铰接套筒和可旋转的铰接轴; 相邻两个无线充电模块之一的周缘上开设有安装槽口,铰接套的周侧壁与另一个无线充电模块固定连接。铰接套设有第一开口、第二开口及走线孔。关节轴具有旋转部及凸出于旋转部外表面的安装凸耳。旋转部通过第二开口可旋转地嵌入关节套内。安装凸耳暴露于第二开口并固定连接无线充电模块。导线穿过第一开口及走线孔。
有做这类充电器的卖家建议仔细对照,类似结构均有侵权风险!
02
热升华转印杯固定夹

起诉时间:2024/8/14
案件编号:24-cv-08177
原告方:国内卖家
侵权产品:转印杯固定夹
侵权类型:专利侵权
专利编号:USD1032351S1

03
空调窗户通风套件

起诉时间:2024/8/15
案件号:24-cv-07164、2024-cv-07287
原告方:国内卖家
侵权产品:空调窗户通风套件
侵权类型:外观专利侵权
专利编号:USD941982S1


全面系统学习跨境侵权相关知识
戳链接了解详情:a.第三期知识产权系列课程上线了!b.课程视频节选
产品侵权检索 可包年包月 还有套餐!
戳链接了解详情:a.侵权审核包月怎么包? b.查侵权套餐,是个什么情况?
发明专利 外观专利 分析规避
出具分析报告,提供规避建议,详情请私聊侵权哥
律所起诉维权 资金冻结
应诉or和解,费用低至1500rmb起
美国版权 英国外观专利 注册
费用低,时效快,你的爆款值得被保护!

抱团交流
一个集大神卖家与逗趣同行于一体的交流群,扫码添加客服微信(备注“进群”哦)。
目前100000+人已关注加入我们
下一篇:全球速卖通关于加强儿童玩具及婴幼儿用品在特定国家销售管控公告
上一篇:圣诞元素画版权作品维权,今年第8起,案件编号:2024-cv-08028,2024-cv-08081
文章为作者独立观点,不代表AMZ520立场。如有侵权,请联系我们。
