“黑神话悟空”火遍全网?不少跨境卖家已经嗅到了商机!

编辑 | 哦莫
在8月20日,一款国产3A游戏名为《黑神话:悟空》在全球同步上线,这类游戏不仅提供娱乐,更承载着深刻的艺术与社会内涵,影响主流文化,甚至塑造一种新的文化潮流。
这款游戏出自于深圳市游科互动科技有限公司(简称:游戏科学),“黑神话悟空”以西游记为背景的游戏,游戏场景以中国神话故事为背景。
融入陕北说书等非遗文化,对山西玉皇庙、重庆大足石刻、浙江时思寺等全国多处名胜古迹进行实景扫描,也引发了文旅界“打卡热”。

并且该游戏在短短两天就迅速成为Steam、WeGame等多平台销量榜首,多个相关词条也登上微博热搜!
根据小编了解到,在该游戏正式上线前,《黑神话:悟空》就与英伟达、致态、联想、京东、海信、联想、滴滴青桔、瑞幸等11家品牌达成联名合作,覆盖了多个行业品类。

黑神话悟空有多火?在8月19日,瑞幸咖啡推出的“黑神话腾云美式”联名套餐,更是发售即售罄!

瑞幸甚至还在杭州滨江宝龙城打造了“黑悟空主题店”,店里都是黑神话装置和物料,氛围感拉满。

甚至还有各种网友发了一些黑悟空搞怪抽象图~
网友:怎么你们的页面跟我的不一样?


热心网友:不知道哎,他们说缺个猴子我就来了~
短短两天,“黑神话悟空”不仅在中国爆火,更是火遍海外,在亚马逊等跨境电商平台上,也已经出现悟空的各种周边。

在商标意识方面,游科公司就开始申请布局,文字商标“BLACK MYTH”、“wordmarkBLACK MYTH WUKONG”也在审查当中,涵盖了等多个商标类目。
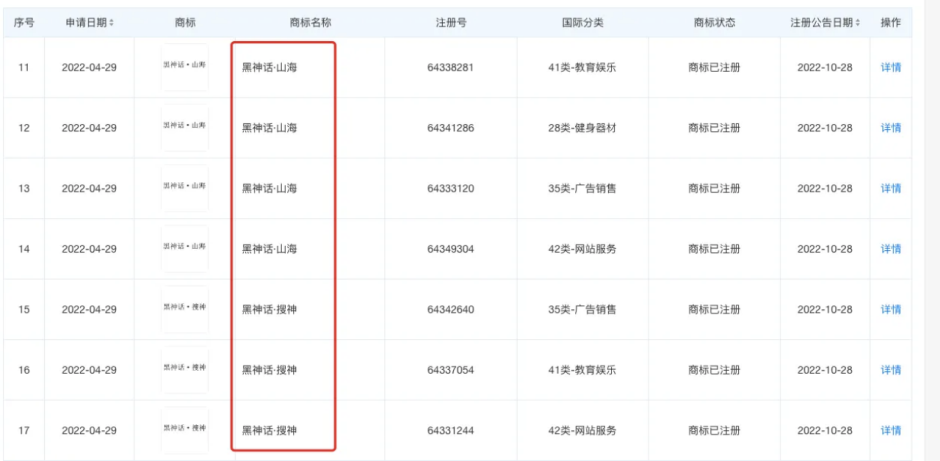
而在国内也已经做好了商标的准备,游戏科学已申请注册了“黑神话·山海、黑神话·大荒、黑神话·搜神、黑神话·小倩、黑神话·钟馗、黑神话·姜子牙”等多个关联商标。
《黑神话:悟空》这个IP火了,相关的产品自然也成了爆款,而不少跨境卖家也已经嗅到了商机。
如果卖家在售卖“黑神话悟空”相关产品的情况下,也需要注意版权以及商标的保护意识,未经授权售卖相关产品可能会导致侵权风险。
如果涉及案件侵权,可联系我们进行和解,以下是斯通布里过往的和解成功案例时效,基本都在一个月左右或更早完成和解:
如果卖家有大额冻结事件,请勿盲目和解,可以联系我们,我们将会进行全面分析,寻求最佳的解决方案。
写道最后
如果想要了解更多的VAT以及商标注册等问题,可以在微信公众号里联系我们,我们将为您提供最优质的咨询服务。
抱团交流
一个集大神卖家与逗趣同行于一体的交流群,扫码添加客服微信(备注“进群”哦)。
目前100000+人已关注加入我们
上一篇:《黑神话:悟空》联名手柄10秒卖光!出海吗?来速卖通!
文章为作者独立观点,不代表AMZ520立场。如有侵权,请联系我们。
