《黑神话:悟空》上线,品牌和跨境卖家请踏上“取经路”!
点击蓝字,立即关注
《黑神话:悟空》
总销售额超15亿元
8月20日上午10点,国产游戏《黑神话:悟空》全球同步正式上线,这是一款由中国游戏开发商游戏科学开发的动作角色扮演游戏,故事的背景源于名著《西游记》。
《黑神话:悟空》是首部国产3A游戏大作,当天上午占据热搜第一,截止21日上午9:11,引发19.3亿的阅读,500多万的互动。36氪提到,根据国游畅销榜统计,截止当日晚间八点总销量超过450万份,总销售额超过15亿元。游戏上线前,全球共有54家媒体给出了均分82分的评价。
《黑神话:悟空》引发如此高关注和高讨论是有原因的,财经杂志报道,对于3A游戏,中国游戏玩家一直有很高的期待,一定程度上3A游戏代表着国内游戏工业化水平、制作能力的高低。很多游戏玩家从2020年的第一支预告发布开始,等待了4年,等一部走向世界的作品。

图/微博
瑞幸×《黑神话:悟空》
联名周边售罄
在游戏上线前一天,瑞幸咖啡和《黑神话:悟空》推出了联名咖啡和限定产品,周边迅速售罄,瑞幸的系统差点崩溃。瑞幸的首席增长官表示,男性的购买力颠覆了团队的认知。不仅仅是瑞幸,百度地图、滴滴青桔、联想、海信电视等品牌都和这个游戏IP联名。

图/瑞幸咖啡

图/瑞幸咖啡
此次瑞幸咖啡和《黑神话:悟空》的联名,需要购买2杯套餐才能获得3D限定海报光栅卡、联名杯套和联名纸袋,定价在28.6元起。19日下午13:21,瑞幸发布补货通知,称预估制作周边需要约15天。目前,二手交易平台出现出售海报、杯套和纸袋的情况,打包售价最高达100元。《黑神话:悟空》带来的消费,不是源于简单的追捧,而是游戏玩家对情怀的买单。游戏玩家对情怀兑现带来的价值,早就超过了游戏本身。

图/瑞幸咖啡

图/瑞幸咖啡
《黑神话:悟空》联名
或许成为瑞幸出海的跳板
晚点LatePost在8月19日报道,瑞幸咖啡计划于2024年四季度至2025年一季度启动大规模出海计划,重点考虑东南亚和美国市场;目前在海外,瑞幸只在新加坡开设了38家直营门店。
此前,瑞幸曾被泰国公司抢注商标,于是起诉“泰国瑞幸”。一审,法院判处中国瑞幸胜诉,泰国瑞幸不服并上诉。2023年年底,二审宣判,中国瑞幸败诉并被要求赔偿经济损失100亿泰铢(约合人民币20亿元)。
如今瑞幸和《黑神话:悟空》联名,吸引了一批平时没有喝咖啡习惯的游戏玩家。再者,《黑神话:悟空》的受众不仅仅是国人玩家,还有国外玩家,据36氪报道:“根据二柄APP的统计,截至8月19日23点28分,除了西班牙和波兰,在剔除免费游戏下,《黑神话·悟空》已经成为各大地区单机游戏的全球销量Top1。”甚至有国外玩家开始恶补《西游记》小说。
有人评价《黑神话:悟空》对于国内外玩家的影响:“以前国人玩3A大作,被分区高价,还没中文;而《黑神话:悟空》一出场,默认中文语音,国区全球最低价。”
在这里,中国游戏玩家再也不用使用翻译,悟空直接用“WuKong”,龙不再叫“Dragon”,而是“Loogn”。《黑神话:悟空》成功出海,也是西游IP的成功出海,更是中国文化的成功出海。这款中国游戏全球走红,外交部发言人对此表示:反映了中国文化的吸引力。
瑞幸与其联名,能够带动自身品牌在海外火爆。但显然,为了避免商标被抢注,中国瑞幸需提前进行海外知识产权布局,避免巨额损失。
电商卖家
如何应对话题爆火
随着《黑神话:悟空》在全球火爆,相关产品也在国内外电商平台迅速上架。在Esty跨境电商网站,搜索《黑神话:悟空》的英文翻译“black myth wukong”,以及金箍棒的英文“golden cudgel”,可以看到一系列关于《黑神话:悟空》的相关产品。

图/esty
不仅如此,相关产品在8月21日售卖价格为SGD66.94,8月22日已经涨价为SGD74.29,其中还标注了“black myth wukong”。


图/esty
在Amazon和Alibaba搜索关键词,也可以查看到相关产品。

图/Amazon

图/Alibaba
在国内电商平台上,显示《黑神话:悟空》话题霸榜。不少电商卖家也感受到了这一游戏话题的红利。但是需要注意的是,在未获得《黑神话:悟空》授权的情况下,售卖周边产品,极大可能会被起诉侵权,并随时可能被冻结账号、封店。

图/淘宝
在国家商标局官网上,搜索“黑神话悟空”,可以查到已注册商标,分别是28类和9类,申请时间分别为2020年06月30日、2021年11月20日。


图/国家商标局
在美国专利商标局USPTO官网上,搜索“black myth wukong”,可以看到相关商标已被申请注册,包括第9类电子产品、第28类游戏玩具、第41类教育娱乐服务等。

图/USPTO
在英国英国知识产权局(IPO)官方网站,也可以看到“Black Myth Wukong”已注册商标。卖家需要注意其注册时间和申请类目。



图/IPO
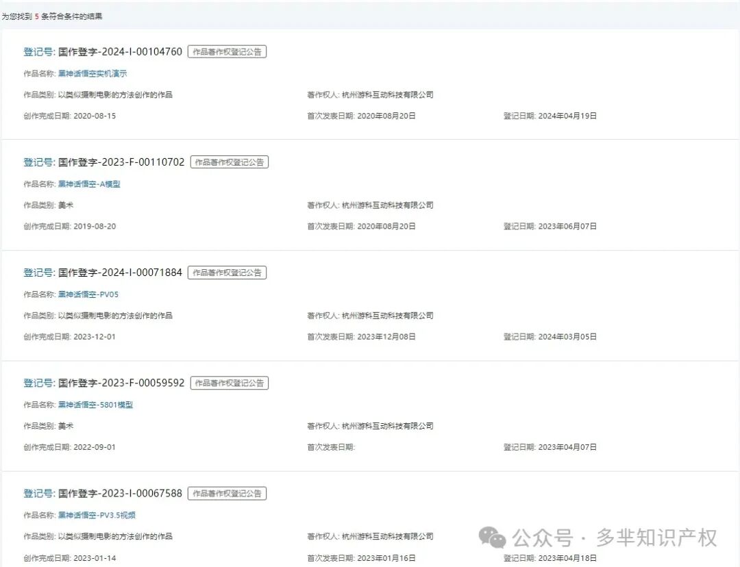
在中国版权登记查询服务平台,可以检索到相关版权,最早在2023年登记。

图/中国版权登记查询服务平台
访问美国版权局,也可以查看到相关版权已申请出版;页面显示,《黑神话:悟空》发布日期预告片的出版日期为2023年12月8日。


图/美国版权局
《黑神话:悟空》的火爆确实会给电商平台带来流量红利,但卖家也需要注意商标侵权问题和游戏IP版权问题,直接使用游戏图片进行周边售卖,可能会造成巨额赔偿。
也有证券分析师告诉36氪:“3A的价值链,不在本体在周边。”头部游戏有丰富的IP价值,预计《黑神话:悟空》也会出官方的周边产品,这也将收获一大批国内外玩家的追捧。
“踏上取经路”
“比到达灵山更重要”
对于瑞幸咖啡来说,此次联名或许会成为出海的跳板,更需吸取以往教训,提前做好商业布局和商标注册,避免因商标保护的地域限制而造成巨额损失。后续可能有更多的品牌和《黑神话:悟空》联名,甚至模仿瑞幸这一出海战略,更需要注重商标保护。市场未动,商标先行,大企业需要在早期就做好知识产权布局,建立和完善商标保护体系,有利于品牌在市场的发展。
而对于电商卖家来说,规避侵权是重中之重。首部3A国产游戏带来流量红利毋庸置疑,但直接印刷使用并在电商平台上售卖必然会造成侵权。
首部国产3A游戏大作《黑神话:悟空》成功出海,游戏大厂米哈游称其为国产游戏“全村人的希望”。更重要的是,这早就不仅仅代表着中国游戏的发展迈向新的阶梯,它还代表着中国文化的输出,带动跨境电商的发展。
不管是中国游戏的发展、品牌的出海布局,还是跨境电商的发展,都需要长期的修行。正如游戏开放商游戏科学强调的:“直面天命,重走西游。”
即使每走一步都做充足的准备,我们仍旧需要破除万难,踏上“取经”的道路,远远不止“九九八十一难”,但正如《黑神话:悟空》的制作人冯骥所说:“踏上取经路,比到达灵山更重要。”
在取经路中,每个人都有属于自己的《黑神话:悟空》,别忘了还有知识产权能够为大家保驾护航,希望你也有一场开心的“游戏体验”。
↓↓TRO案件沟通合作群↓↓
欢迎各位卖家朋友入群✨
旨在方便大家一起组团
一起分析问题
一起做好侵权预警
如果有疑问,也欢迎提出!
(群聊人数已满可添加小编微信进群)
往期回顾
---商标注册---
---跨境平台入驻---
抱团交流
一个集大神卖家与逗趣同行于一体的交流群,扫码添加客服微信(备注“进群”哦)。
目前100000+人已关注加入我们
上一篇:警惕!Keith版权再出击,日本武士以及复古插画维权!
文章为作者独立观点,不代表AMZ520立场。如有侵权,请联系我们。
