8.21 《黑神话:悟空》首日上线, 天命人,久等!
夏日,加载中
广告招商
国产首款大型3A游戏大作《黑神话:悟空》在8月20日上午10点正式上线!作为国产游戏崛起的标志性作品,《黑神话:悟空》以《西游记》为背景,使用虚幻引擎5,展现了极高的画面精度,每个场景都堪称照片级别。
外媒表示悟空这款游戏可能重新定义中国的游戏行业。
黑神话之悟空 官方微博发文:“重走西游,就在今日。《黑神话:悟空》现已在 PS5 / STEAM / EPIC GAMES STORE / WEGAME 平台解锁,放马西行,直面天命
微博热搜榜第一 ,相关热度和搜索量都达到新高.
截至上午11时,悟空这款游戏在平台的同时在线玩家达104.5万,超越之前的《CS2》直接登顶Steam热玩榜。一时风头无俩。
借着这款游戏的热度,相关周边也是如雨后春笋般,很多卖家都想乘上这场东风。
相关周边产品如下:
商标
除了周边以外,相关商标也早在2020年注册了相关商标,几乎涵盖了所有品类,欧美均已注册。
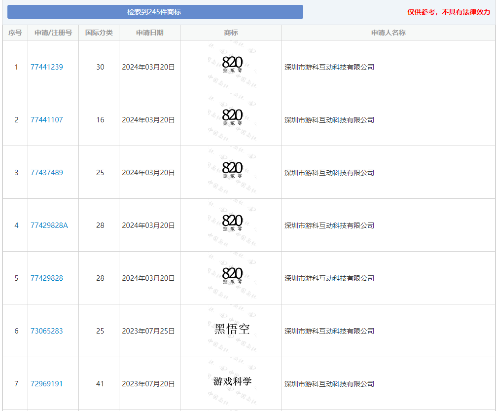
至于国内那注册的更全面,游戏开发者深圳市游科互动科技有限公司早在2021年就已经全类别申请注册黑悟空”商标。总共245项商标,包括黑神话的其他系列像大荒、山海、搜神、小倩、钟馗、姜子牙均已注册。
即使注册成功,在异议阶段也会被对方给否决掉
版权
经过小瓜检索,发现版权也已经在紧张注册ing~
目前已注册的版权已有八项:
1.VA0002394863 2.PA0002462795 3.PA0002462798 4.VA0002394978 5.VA0002394864 6.PA0002462796
7.PA0002461338 8.PA0002462794
随着《黑神话:悟空》的上线,中国也在3A单主机游戏市场上有了一席之地。这一次,游戏的默认语言不再是英文,而是中文
兴奋以及骄傲的同时,提醒售卖相关产品的卖家小伙伴们,注意商标以及版权风险~~
END
木瓜 侵权
木瓜侵权主营业务:(添加木瓜微信,加入侵权交流群)
①跨境侵权排查,检索/判定服务(侵权检索套餐)
②全球美国·欧洲,英国专利版权商标申请
③1688专利产品推广
④TRO和解起诉应诉
⑤亚马逊不侵权报告
木瓜力荐“奥力虎”Aolihu电动工具头部实力制造商!
木瓜力荐“咔哆/爱宠”全球专利布局私模产品制造商!
木瓜力荐“青枫”Tro律师函/和解应诉服务商!
更多跨境广告位持续招租中
抱团交流
一个集大神卖家与逗趣同行于一体的交流群,扫码添加客服微信(备注“进群”哦)。
目前100000+人已关注加入我们
下一篇:“12315+12345”举报,卖家赶跟卖效果100%!
上一篇:新案件汇总!美国说唱歌手 ICE CUBE 商标维权以及 Keith 代理武士版权画维权发案!速看避雷!
文章为作者独立观点,不代表AMZ520立场。如有侵权,请联系我们。
