新老产品专利齐齐下证!7月最后一批美国专利请查收

【卖家精灵&跨境侵权哥折扣码】:
QQG72:单人版(1个账号)原价72折,2688立减760,优惠价1928
QQG78:标准版(1+3)原价78折,4416立减971,优惠价3445(标准版以上也是78折码)
使用流程:
https://www.sellersprite.com/cn/price
1.选择包年——支付宝/对公账户购买
2.在折扣券输入优惠码,点击检测有效性
3.检查订单价格,提交订单并支付。
以下是2024年7月30日最新获得美国专利局授权的部分外观设计专利,在美国专利局搜索时需要将专利号首部的US以及尾部的S1去掉,例如专利编号:USD1022069S1应调整为D1022069,再进行搜索。

专利编号:USD1037368S1
专利名称:Magnetic toy set磁性玩具套装
申请日期:2024-02-06
下证日期:2024-07-30

专利编号: USD1037383S1
专利名称: Push up board 俯卧撑板
申请日期: 2024-01-02
下证日期: 2024-07-30

专利编号: USD1036944S1
专利名称: Cooler bag 保温袋
申请日期: 2022-10-19
下证日期: 2024-07-30

专利编号: USD1037543S1
专利名称: Reading lamp 阅读灯
申请日期: 2024-03-13
下证日期: 2024-07-30

专利编号: USD1036866S1
专利名称: Scalp brush 头皮刷
申请日期: 2023-12-21
下证日期: 2024-07-30

专利编号: USD1036949S1
专利名称: Grape cutter 葡萄切割机
申请日期: 2023-12-11
下证日期: 2024-07-30

专利编号: USD1036886S1
专利名称: Toilet paper holder 卫生纸架
申请日期: 2024-05-15
下证日期: 2024-07-30

专利编号: USD1036942S1
专利名称: Picnic basket cooler 野餐篮冷却器
申请日期: 2021-06-09
下证日期: 2024-07-30

专利编号: USD1037596S1
专利名称: Draining mat 排水垫
申请日期: 2023-01-09
下证日期: 2024-07-30

专利编号: USD1036848S1
专利名称: Pet carrier backpack 宠物背带背包
申请日期: 2022-09-20
下证日期: 2024-07-30

专利编号: USD1036859S1
专利名称: Household storage basket 家用储物篮
申请日期: 2022-07-29
下证日期: 2024-07-30

专利编号: USD1037533S1
专利名称: Desk lamp 台灯
申请日期: 2021-12-31
下证日期: 2024-07-30

专利编号: USD1037571S1
专利名称: Hummingbird house 蜂鸟屋
申请日期: 2023-10-20
下证日期: 2024-07-30

专利编号: USD1037362S1
专利名称: Puzzle board 拼图板
申请日期: 2023-08-30
下证日期: 2024-07-30

专利编号: USD1037538S1
专利名称: Night light 小夜灯
申请日期: 2023-10-12
下证日期: 2024-07-30

专利编号: USD1036885S1
专利名称: Toilet paper holder 卫生纸架
申请日期: 2024-05-15
下证日期: 2024-07-30

专利编号: USD1037542S1
专利名称: Candle lamp 蜡烛灯
申请日期: 2024-03-04
下证日期: 2024-07-30

专利编号: USD1037539S1
专利名称: Lamp 灯
申请日期: 2022-07-13
下证日期: 2024-07-30

专利编号: USD1037560S1
专利名称: Hot air brush 热风刷
申请日期: 2024-03-27
下证日期: 2024-07-30

专利编号: USD1037149S1
专利名称: Wireless charger with light带灯无线充电器
申请日期: 2024-01-12
下证日期: 2024-07-30

专利编号: USD1037516S1
专利名称: Shoe light 鞋灯
申请日期: 2022-11-22
下证日期: 2024-07-30

专利编号: USD1036814S1
专利名称: Hat 帽子
申请日期: 2021-12-22
下证日期: 2024-07-30

专利编号: USD1036884S1
专利名称: Paper towel holder 纸巾架
申请日期: 2023-06-28
下证日期: 2024-07-30

专利编号: USD1036847S1
专利名称: Pet bag 宠物包
申请日期: 2022-03-10
下证日期: 2024-07-30

专利编号: USD1037506S1
专利名称: Artificial twig tree with light 带灯光的人造树枝树
申请日期: 2022-12-12
下证日期: 2024-07-30

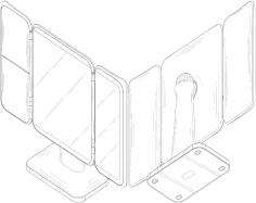
专利编号: USD1036872S1
专利名称: Three-fold mirror 三折镜
申请日期: 2022-07-25
下证日期: 2024-07-30

专利编号: USD1037322S1
专利名称: Stainless steel ice cube 不锈钢冰块
申请日期: 2023-03-14
下证日期: 2024-07-30

专利编号: USD1037536S1
专利名称: Candle lamp 蜡烛灯
申请日期: 2023-02-20
下证日期: 2024-07-30

专利编号: USD1037394S1
专利名称: Children's punching bag 儿童出气筒
申请日期: 2024-02-01
下证日期: 2024-07-30

专利编号: USD1037579S1
专利名称: Cat litter box 猫砂盆
申请日期: 2024-03-07
下证日期: 2024-07-30

专利编号: USD1037537S1
专利名称: Rabbit night light 兔子小夜灯
申请日期: 2022-04-14
下证日期: 2024-07-30

专利编号: USD1037574S1
专利名称: Pet food feeder 宠物喂食器
申请日期: 2023-01-05
下证日期: 2024-07-30

专利编号: USD1036895S1
专利名称: Wedge pillow set 楔形枕头套装
申请日期: 2023-04-20
下证日期: 2024-07-30

专利编号: USD1037530S1
专利名称: Wall lamp 壁灯
申请日期: 2023-01-05
下证日期: 2024-07-30
优质服务推荐


抱团交流
一个集大神卖家与逗趣同行于一体的交流群,扫码添加客服微信(备注“进群”哦)。
目前100000+人已关注加入我们
下一篇:警惕!TRO案件避雷第23期:24-cv-04296折叠婴儿床背包
文章为作者独立观点,不代表AMZ520立场。如有侵权,请联系我们。
