最新美国专利下证产品!
①跨境侵权排查,检索/判定服务(侵权检索套餐)
②美国·欧洲,英国专利版权申请
③亚马逊(Amazon)选品
④1688专利产品推广
⑤美国律师代理发案
⑥美国律师出具不侵权报告


产品标题:Sports bottle运动水壶
公开(公告)号:D1030415
申请日:2024-02-20
授权日: 2024-06-11
当前申请(专利权)人:Wang ***
发明人:Wang ***

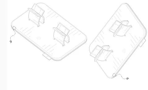
产品标题:Storage rack 储物架
公开(公告)号:D1030381
申请日:2024-02-07
授权日: 2024-06-11
当前申请(专利权)人:Yang ***
发明人:Yang ***

产品标题:Wire clip 线夹
公开(公告)号:D1030467
申请日:2024-01-03
授权日: 2024-06-11
当前申请(专利权)人:Wang ***
发明人:Wang ***

产品标题:Flat hair clip 发夹
公开(公告)号:D1031161
申请日:2024-01-29
授权日: 2024-06-11
当前申请(专利权)人:Teleties ***
发明人:Muscato ***

产品标题:Vacuum sealing machine真空封口机
公开(公告)号:D1030829
申请日:2023-12-19
授权日: 2024-06-11
当前申请(专利权)人:Fang***
发明人:Zhang ***

产品标题:Cat exercise wheel猫运动轮
公开(公告)号:D1031187
申请日:2023-11-30
授权日: 2024-06-11
当前申请(专利权)人:Xuchang***
发明人:Guo***

产品标题:Inflatable dinosaur costume充气恐龙服装
公开(公告)号:D1030234
申请日:2023-05-29
授权日: 2024-06-11
当前申请(专利权)人:Yang***
发明人:Yang***

产品标题:Ice cube tray冰块托盘
公开(公告)号:D1030234
申请日:2023-03-06
授权日: 2024-06-11
当前申请(专利权)人:Shenzhen Maichg***
发明人:Su***

产品标题:Disco ball cowboy hat迪斯科球牛仔帽
公开(公告)号:D1030256
申请日:2023-03-06
授权日: 2024-06-11
当前申请(专利权)人:Chen***
发明人:Chen***

产品标题:Corn husker玉米剥壳机
公开(公告)号:D1030424
申请日:2022-09-23
授权日: 2024-06-11
当前申请(专利权)人:Huang***
发明人:Huang***
这些产品有下证的美国外观专利,有上架同款的卖家需要及时下架处理!!
木瓜侵权主营业务:(添加木瓜微信,加入侵权交流群)
①跨境侵权排查,检索/判定服务(侵权检索套餐)
②美国·欧洲,英国专利版权申请
③亚马逊(Amazon)选品
④1688专利产品推广
⑤美国律师代理发案
⑥美国律师出具不侵权报告

木瓜力荐“奥力虎”Aolihu电动工具头部实力制造商!
木瓜力荐“咔哆/爱宠”全球专利布局私模产品制造商!
木瓜力荐“青枫”Tro律师函/和解应诉服务商!
更多跨境广告位持续招租中
抱团交流
一个集大神卖家与逗趣同行于一体的交流群,扫码添加客服微信(备注“进群”哦)。
目前100000+人已关注加入我们
文章为作者独立观点,不代表AMZ520立场。如有侵权,请联系我们。
