来一个冷门类目产品-快读吊牌枪专利!
本期推文末端已向各位卖家推荐“两大合作伙伴”,感兴趣可扫码添加哦~
专利
快速纽扣固定器,虽然有款产品直接在亚马逊售卖销量1000+。但是独立站版权Alice评估感觉是侵权度较低的。

疑似国人品牌,所以asin就不再复制粘贴了。
下面直接揭露相关的专利吧。
专 利 方 面
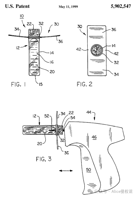
US5902547A(已过期)

US2011226833A1(2032年到期)

USD636951(2025年到期)

还好不侵权美国专利。
但是中国专利注册的不要太多哦!做速卖通平台的就要小心了哦!
Amazon您随意。
谨小慎微、
账号安全,且行且珍惜。
好了,以上则为本期“吊牌枪”的全部侵权内容。谨防专利版权侵权!
请及时关注侵权资讯,排查自有选品库,谨防专利/版权侵权。
温馨提示:
专利侵权风险:☆☆☆☆☆
优质供应商强烈推荐
主营:小蓝海 全球专利布局 自主研发设计 私模定制 全品开发 欢迎扫码添加

优质服务商推荐
推荐
优质服务商
青枫法务(知识产权) 主营:TRO侵权案件和解应诉 专利商标版权注册

关注ALice,侵权不迷路
,有侵权问题直接私信来call!
抱团交流
一个集大神卖家与逗趣同行于一体的交流群,扫码添加客服微信(备注“进群”哦)。
目前100000+人已关注加入我们
文章为作者独立观点,不代表AMZ520立场。如有侵权,请联系我们。
