五合一烧烤工具,符合两点就侵权!


【卖家精灵&跨境侵权哥折扣码】:
QQG72:单人版(1个账号)原价72折,2688立减760,优惠价1928
QQG78:标准版(1+3)原价78折,4416立减971,优惠价3445(标准版以上也是78折码)
使用流程:
https://www.sellersprite.com/cn/price
1.选择包年——支付宝/对公账户购买
2.在折扣券输入优惠码,点击检测有效性
3.检查订单价格,提交订单并支付。






专利情况
美国发明专利US10098507B1
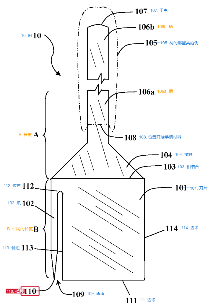
该专利解决的技术问题是需要一种抹刀,该抹刀可以通过将其自身插入物品和表面之间或将其串起来来提起物品。
本文描述抹刀,包括柄,还包括(在其工作端)基本平坦且具有顶侧、底侧、两个侧边缘和远端边缘的刀片。
本发明的抹刀还包括一个邻近刀片设置的尖头,由空隙通道隔开。刀片和叉头连接到柄的远端; 尖头可以在刀片的右侧或左侧。叉齿可以是单个尖齿,也可以是多个尖齿。
专利总结
虽然FlipFork的产品是五合一多功能,但它的专利并不要求那么多功能并存,只要带有“叉头”和“刀片”两个特征就会有侵权风险!

全面系统学习跨境侵权相关知识
戳链接了解详情:a.第三期知识产权系列课程上线了!b.课程视频节选
产品侵权检索 可包年包月 还有套餐!
戳链接了解详情:a.侵权审核包月怎么包? b.查侵权套餐,是个什么情况?
律所起诉维权 资金冻结
应诉or和解,费用低至1500rmb起
优质服务推荐
抱团交流
一个集大神卖家与逗趣同行于一体的交流群,扫码添加客服微信(备注“进群”哦)。

目前100000+人已关注加入我们












文章为作者独立观点,不代表AMZ520立场。如有侵权,请联系我们。