剧王《庆余年2》开播!多个角色被抢注商标?

编辑 | 哦莫
热门电视剧《庆余年》于2019年开播,成为当年的爆款电视剧,时隔五年《庆余年2》终于在今年的5月16号上映。
《庆余年2》到底有多火?在开播前,腾讯视频对《庆余年2》的预约热度达到了前所未有的高度,预约人数高达1704.3万,成为第一部预约人数达到千万级别的电视剧!
这部剧在开播不久后,收视率直登榜首,成为平台历史首个开播当日进入“爆款俱乐部”的剧集。

随着《庆余年》电视剧的爆火,相关商标申请也会成为一波潮流,作为流量的大IP,这部剧的商标保护又如何呢?
根据小编了解到,庆余年的版权方是阅文集团旗下“上海玄霆娱乐信息科技有限公司”,已经申请接近80个“庆余年”的商标。

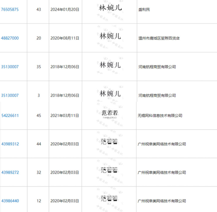
除了剧名外,在早期《庆余年》的多个人气角色也被注册了商标!
其中包括“林婉儿、范若若、陈萍萍”等多个角色名已经被抢注了商标,涉及多个类目,其中部分已经注册成功。

商标抢注是指不法分子在合法权益人尚未注册商标之前,恶意先行注册该商标,无论是庆余年的剧名还是角色名称,都被多家公司注册了商标。
关于商标抢注,小编带大家科普一下相关知识,该如何应对商标抢注的措施:
企业应在产品上市前尽早进行商标注册,防范商标抢注风险,对于有潜力的新产品和品牌,提前在多个类别和国家进行注册。
企业需定期监测商标使用情况,及时发现并处理商标侵权行为。
遇到商标抢注问题时,可通过商标异议、争议解决程序以及诉讼等法律手段维护合法权益。
对有国际市场需求的企业,建议在主要目标市场同步进行商标注册,防止在国外遭遇商标抢注。
无论是国内还是跨境的卖家,商标注册一定要趁早,可以起到更好的防御作用,如果遇到商标注册等相关问题,也可以随时联系我们。
写道最后
如果想要了解更多的VAT税号注册以及商标注册的问题,可以在微信公众号里联系我们,我们将为您提供最优质的咨询服务。
抱团交流
一个集大神卖家与逗趣同行于一体的交流群,扫码添加客服微信(备注“进群”哦)。
目前100000+人已关注加入我们
下一篇:平稳过渡:菲律宾政策变动,Shopee已在悄悄调整战略
上一篇:【干货】亚马逊优惠券新规详解! 亚马逊卖家们如何解决报错?
文章为作者独立观点,不代表AMZ520立场。如有侵权,请联系我们。
