别忘了!泳池过滤器原创鼻祖bestway!
本期推文末端已向各位卖家推荐“两大合作伙伴”,感兴趣可扫码添加哦~
如果不是最佳泳池排渣器热点上来,有可能ALice就忘了Bestway这个品牌了。
此乃鼻祖啊!

美国专利
Bestway®USA一直致力于设计和生产高品质、创新的充气娱乐产品,同样的,除了浮排超多在售以外,很多泳池周边产品都会主创设计。

别看包装印刷的品牌是Flowclear,照样归属Bestway所有!
独立站:https://bestwayusa.com/
专 利 方 面
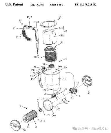
FlowClear 泳池表面撇渣器发明专利信息如下:
美国发明专利US10378228B2;
欧洲发明专利EP3382126A1;EP3382126B1;


专利风险一目了然。
卖家们要多多注意了哦!
谨小慎微、
账号安全,且行且珍惜。
好了,以上则为本期”泳池撇渣器”的全部侵权内容。谨防专利版权侵权!
请及时关注侵权资讯,排查自有选品库,谨防专利/版权侵权。
温馨提示:
专利侵权风险:☆☆☆☆☆
优质供应商强烈推荐
主营:小蓝海 全球专利布局 自主研发设计 私模定制 全品开发 欢迎扫码添加

优质服务商推荐
推荐
优质服务商
青枫法务(知识产权) 主营:TRO侵权案件和解应诉 专利商标版权注册

关注ALice,侵权不迷路
,有侵权问题直接私信来call!
抱团交流
一个集大神卖家与逗趣同行于一体的交流群,扫码添加客服微信(备注“进群”哦)。
目前100000+人已关注加入我们
文章为作者独立观点,不代表AMZ520立场。如有侵权,请联系我们。
