外国人也开始贴牌假装原创了!卖家们一定要仔细分清何为原创!
本期推文末端已向各位卖家推荐“两大合作伙伴”,感兴趣可扫码添加哦~
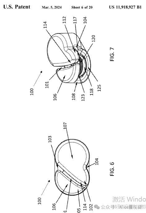
说起绳索发射器,那就不得不提起David律所代理的ZipString发射器了。
别的不讲,单单是冻结,害苦了多少卖家!

维权类型:商标(ZipString)+图片版权
权利人官网:https://zipstring.com/
当然,
其美国发明专利已于今年3月份下证:US11918927B1 ,其他专利还在公告期中...


Loop Lasso
现在市面上又来了另外一款源自Loop Lasso品牌的弹射器玩具。其实是假冒产品!
独立站:https://looplasso.com/

虽然他的亚马逊品牌备案店铺标注orignal此类原创字眼。但是根据功能和外观对比,无疑是ZipString的仿品哈。

(此图为官网动态视频截图)
Loop Lasso除了新增内置酷炫灯光设计以外,其他设计与ZipString相比再无任何不同了。
其他卖家切勿直接跟卖...
谨小慎微、
账号安全,且行且珍惜。
好了,以上则为本期”发射器”的全部侵权内容。谨防专利版权侵权!
请及时关注侵权资讯,排查自有选品库,谨防专利/版权侵权。
温馨提示:
专利侵权风险:☆☆☆☆☆
优质供应商强烈推荐
主营:小蓝海 全球专利布局 自主研发设计 私模定制 全品开发 欢迎扫码添加

优质服务商推荐
推荐
优质服务商
青枫法务(知识产权) 主营:TRO侵权案件和解应诉 专利商标版权注册

关注ALice,侵权不迷路
,有侵权问题直接私信来call!
Alice侵权说1
抱团交流
一个集大神卖家与逗趣同行于一体的交流群,扫码添加客服微信(备注“进群”哦)。
目前100000+人已关注加入我们
下一篇:Facebook产品更新 | Instagram 提醒广告将推出产品更新
文章为作者独立观点,不代表AMZ520立场。如有侵权,请联系我们。
