跨境风暴!千张服装版权图、筋膜枪发明专利及几何台灯外观专利维权集中爆发

最近,跨境领域的侵权案件引起了广泛关注。尤其在服装类目的维权领域更是波澜起伏。令人意想不到的是,一度沉寂的筋膜枪市场,竟然再次被推向了风口浪尖,其背后还隐藏着发明专利。
案件号:24-cv-01807
立案时间:2024年3月4日
代理律所:Bayramoglu Law Offices LLC
原告于2009年创立了该品牌,如今已经成为了中国女装跨境电商行业标杆企业。该品牌在独立站运营,为全球女性提供了5000多种独特的款式,包括连衣裙、上衣、泳衣、珠宝和首饰等。
案件起始于2023年3月4日,但截至目前为止,公开的信息仅包含一份版权号码。虽然没有详细说明版权的侵权行为内容,但根据版权号码检索,肯定的是版权的权利人是来自香港,且所有登记的内容都是关于照片产品的。
原告共有114个版权,一组版权中最高登记了750张照片,最低也有140张,总计3975张。也就是说,其官网上的模特图、服装图等都受到版权保护。

该品牌曾控诉过TEMU的卖家抄袭了2000多个设计和12000多张照片,而这次诉状明确指出,侵权对象重点是阿里巴巴的卖家,要小心哦。
包括但不限于
▼
案件进度
▼
原告在3月4日提出TRO,3月27日获得批准;
4月5日再次提出延长TRO,4月8日获得批准;
4月19日第二次提出延长TRO,4月22日获得批准;
5月3日第三次延长TRO,5月6日获得批准,临时限制令有效期至5月20日。
按照程序规定,同一案件中TRO只能延长一次,每次延长后TRO的有效期不超过14天,总共不超过28天。因此,TRO的有效期至4月22日就该结束了。原告共延长了3次TRO,这一程序是不合理的。
案件号:24-cv-21791
立案时间:2024年5月8日
原告:Hyper Ice, Inc.&Hyperice IP Subco, LLC.
原告官网:https://hyperice.com/
代理律所:Epstein Drangel LLP
Hyper Ice成立于2011年,是一家专业从事运动康复和健康科技产品的领先制造商,旨在是帮助运动员和普通消费者提高运动表现和康复速度。Hyper Ice产品已被全球60多个国家的世界顶尖运动员和消费者使用。

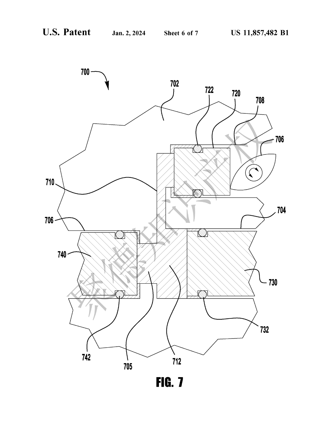
他们为最新的专利“具有可变冲程长度的按摩设备”维权。该专利于2024年1月2日颁发,专利号为11,857,482,优先权归属于申请号14/317,573。简而言之,筋膜枪的维权行动再次出击!
维权专利
?

权利要求1
▼
一个敲击式按摩器包括:
一个外壳;
一个活塞,具有近端和远端,活塞的远端具有一个近似圆柱形的孔;
一个至少部分位于外壳内并与活塞的近端操作连接的电机,其中电机被配置为使活塞以第一速度作往复运动;
一个驱动机构,控制活塞的预定行程长度;以及
一个快速连接系统,包括活塞的远端和第一个按摩头,其中快速连接系统被配置为通过按摩头的近端被滑入孔来将第一个按摩头固定到敲击式按摩器上,而活塞以第一速度作往复运动的预定行程长度。
在这个案件中,只要销售的筋膜枪的结构满足权利要求1中的规定,就会构成侵权。根据全面覆盖原则,通过按摩头的近端被滑入孔来将第一个按摩头固定到敲击式按摩器上,而活塞以第一速度作往复运动的预定行程长度。
案件号:24-cv-03794
立案时间:2024年5月9日
原告:G***g
代理律所:Avek Ip, LLC
原告是一位来自北京的卖家,专门负责设计和销售Table Lamp台灯。这款台灯采用了极简主义设计,外观呈现出青铜色饰面,矩形金属框架中心有一个开口,配有长方形燕麦织物灯罩,展现出时尚且富有几何美感的外观。

对应的专利
?

以上的侵权案件中,第一个涉及的是版权问题,它主要保护的是原创作品的独创性表达,如服装设计的图案和样式。而接下来的两个案件则涉及到专利权的保护,它们都属于专利的范畴,但在具体内容和保护方式上却存在显著的差异。
第二个案件是关于发明专利的侵权。发明专利主要保护的是产品的内部结构,即使产品的外观与已有专利完全不同,只要其内部结构、工作原理与发明专利所描述的一致,就构成侵权。
第三个案件则涉及外观专利的侵权。外观专利保护的是产品的外观设计,只要产品的外观与已有专利在视觉上相似或相同,即使改变了外观的颜色、图案,也会构成侵权。
在版权侵权案件中,赔偿标准通常根据侵权行为的性质和严重程度而有所不同。无意侵权时,赔偿额度通常在750美元至30,000美元之间,而恶意侵权的赔偿额度则可能高达15万美元。而专利侵权案件中,赔偿方式则更为直接,通常按照侵权产品的销售额的10%来计算,这一比例已经相当高。
这仅仅是基本的赔偿标准,实际的赔偿金额还会受到被冻结的资金、侵权产品的实际销量、销售金额、侵权行为的严重程度、对方律师团队等多种因素的影响。这些因素的复杂性和不确定性,使得不同案件之间的赔偿金额难以直接进行比较。
别划走,后面还有精彩回顾
推荐阅读
抱团交流
一个集大神卖家与逗趣同行于一体的交流群,扫码添加客服微信(备注“进群”哦)。
目前100000+人已关注加入我们
下一篇:Facebook产品更新 | Instagram 提醒广告将推出产品更新
文章为作者独立观点,不代表AMZ520立场。如有侵权,请联系我们。




