融蜡灯?先别急着开....先开完这篇再说!
本期推文末端已向各位卖家推荐“两大合作伙伴”,感兴趣可扫码添加哦~
直接上干货!

1、United States Design Patent No.: US D1017877
下证日期:2024/03/12

2、United States Design Patent No.: US D1017872
下证日期:2024/03/12

3、United States Design Patent No.: US D1016370
下证日期:2024/02/27

4、United States Design Patent No.: US D1015583
下证日期:2024/02/20

5、United States Design Patent No.: US D1013932
下证日期:2024/02/06

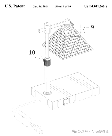
6、United States Design Patent No.: US D1011566
下证日期:2024/01/16

7、United States Design Patent No.: US D1011599
下证日期:2024/01/16

8、美国发明专利US 20240066171 A1,
专利正处于公开阶段...

谨小慎微、
账号安全,且行且珍惜。
好了,以上则为本期“融蜡灯”的全部侵权内容。谨防专利版权侵权
请及时关注侵权资讯,排查自有选品库,谨防专利/版权侵权。
温馨提示:
专利侵权风险:☆☆☆☆☆
优质供应商强烈推荐
主营:小蓝海 全球专利布局 自主研发设计 私模定制 全品开发 欢迎扫码添加

优质服务商推荐
推荐
优质服务商
青枫法务(知识产权) 主营:TRO侵权案件和解应诉 专利商标版权注册

关注ALice,侵权不迷路
,有侵权问题直接私信来call!
抱团交流
一个集大神卖家与逗趣同行于一体的交流群,扫码添加客服微信(备注“进群”哦)。
目前100000+人已关注加入我们
下一篇:Ziggy Zig 产品版权,火影元素版权,融蜡灯Warmer Lamp外观专利等,在TRO维权~
上一篇:2024出海经营如何实现突围?TikTok for Business聚焦五大趋势赢得生意增长
文章为作者独立观点,不代表AMZ520立场。如有侵权,请联系我们。
