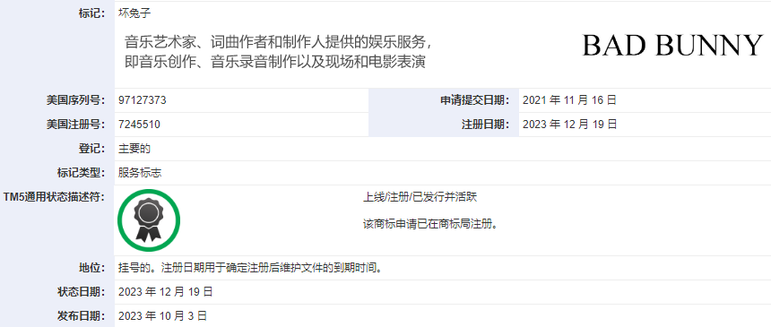
曝光:Bad Bunny商标侵权、排水塞专利及旗帜网灯专利保护案
案件号:24-cv-00334
立案时间:2024年2月16日
原告:Stensrud Incorporated et
代理律所:Kenneth Alan Feinswog
原告出生于1994年,以艺名巴德·兔(Bad Bunny)闻名,是一名来自波多黎各的说唱歌手和唱片制作人。他被誉为“拉丁陷阱音乐之王”。
维权的商标
▼
案件号:24-cv-00059
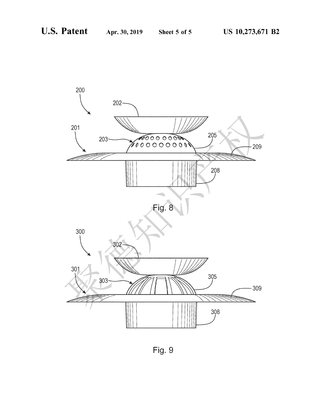
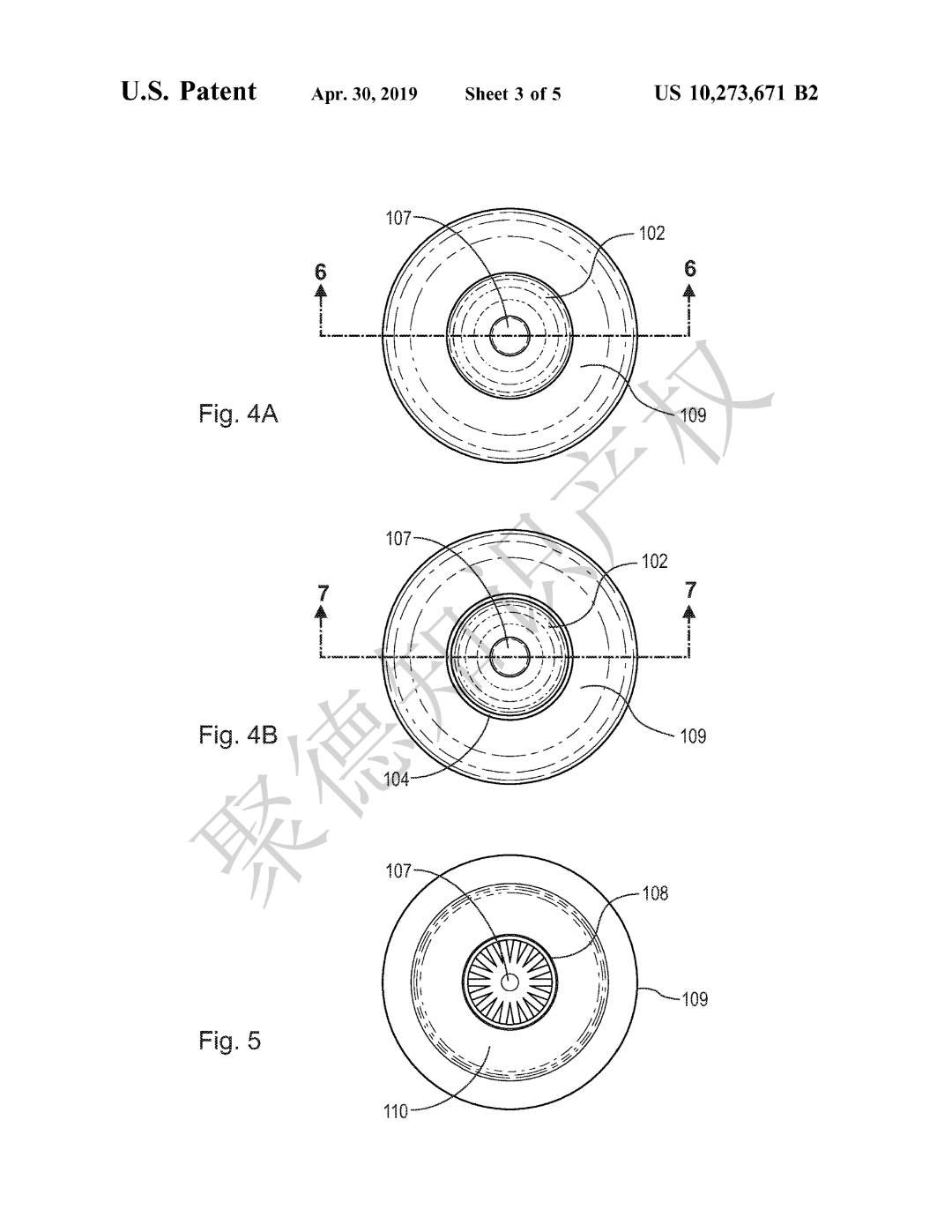
原告:UMBRA LLC
原告官网:https://www.umbra.com/
UMBRA创立于对原创设计的热情和致力于为家庭创造独具特色的家居用品。公司总部位于加拿大,UMBRA已发展成为产品设计领域的全球领袖,其产品远销超过120个国家。公司在欧洲、美国、巴西和中国等地设有办事处。
此案初为隐匿案件,直至近期才公开涉案的维权产品——一款创新排水塞。该产品独具匠心,结合了排水塞和接发器的功能于一身,有效防止头发堵塞排水管。用户简单地把这个装置插入浴缸排水孔,并通过向下压动装置中心,即可启用接发器或是作为浴缸塞使用。
维权的专利
▼





案件号:24-cv-02099
立案时间:2024年3月13日
原告:** Co. Ltd.
代理律所:Ni, Wang & Massand, PLLC
该企业自1998年成立以来,已成为中国领先的专业照明制造商之一。该企业拥有60,000平方米的现代化工厂,企业在河南省经营的生产基地是华北地区最大的圣诞装饰灯制造厂,专注于生产LED灯泡、微型灯泡、铜线、PVC电缆以及橡胶电缆等。企业所推出的照明产品包括群集灯、LED水稻灯、串灯、冰柱灯、网状灯、幕布灯、绳灯、树灯、枝条灯、亚克力装饰灯和管形图案灯等众多类型。
涉及此次维权事件的产品与是公司比较有特色的LED旗帜网灯。
维权的专利
▼







当卖家面临品牌方的侵权诉讼时,首先应当即刻下架所有涉嫌侵权的商品。对于存货量较大的情况,建议短期内暂停所有销售活动。
在完成商品下架后,卖家应立即寻求律师协助。律师根据店铺当前的状况进行综合评估,包括考虑账户被冻结的资金、已销售的侵权商品数量以及侵权产品带来的销售收入等因素,这些都将影响是选择和解还是进行应诉的决策。
根据法律程序,被告通常需要在收到侵权通知后21天内主动联络原告方,如果未按时回应,会遭受法庭的缺席判决。但是,一般来说原告方会等到被告方集体和解,然后才向法院申请缺席判决。不过,还是建议尽快处理,因为延迟解决侵权问题,会导致最后需要支付更高的赔偿金额。
按照法律程序规定,被告在接到侵权通知后,通常有21天时间主动与原告方取得联系。如果在限期内未做出回应,可能会面临法院的默认判决。不过,往往原告会等到被告的集体和解,而后再向法院申请缺席判决。但建议被告不宜拖延,早日解决侵权问题,可以避免赔偿金额因迟延而增加的风险。
别划走,后面还有精彩回顾
推荐阅读
抱团交流
一个集大神卖家与逗趣同行于一体的交流群,扫码添加客服微信(备注“进群”哦)。

目前100000+人已关注加入我们












下一篇:注意!亚马逊严查滥用变体,已有大批卖家被警告;这些站点部分消费类电子产品退货有效期缩短至14天
文章为作者独立观点,不代表AMZ520立场。如有侵权,请联系我们。