专利合集!多面体骰子,颈托,枕头,烘焙模具,汽车头枕保险箱
      关注“跨境侵权哥”微信公众号,接收每日侵权资讯;
文末扫码添加侵权哥微信,发送“加群”进卖家交流群!
:
      01
多面体骰子

美国外观专利:USD995644S1

02
颈托颈椎护圈

西班牙发明专利ES1303011U投诉,这个确实没什么办法。

03
汽车头枕保险箱

美国发明专利US11858396B2
PCT国际申请WO2023055662A1

一种适用于安装在车辆座椅上的枪支保险箱,该保险箱包括外壳,该外壳具有相对于车辆座椅的前表面定向的前表面、与前表面相对设置的后表面、两个相对设置的侧表面延伸至 前表面和后表面,在前表面和后表面之间延伸的顶表面,以及在前表面和后表面之间延伸的底表面。一个侧面具有枢轴门部分。枪支保险箱还具有可拆卸地安装在外壳内的容器,使得容器可以与外壳完全分离。容器具有主要部分和枢转地安装到主要部分以用于在关闭位置和打开位置之间往复运动的容器门。集装箱还具有连接到集装箱门的锁以防止集装箱门在锁定位置时打开并且允许集装箱门在解锁位置时打开。
04
睡眠枕头

美国外观专利USD898435S1

05
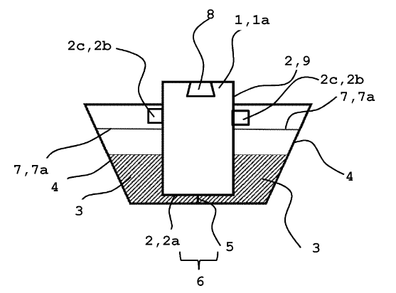
蛋糕烘培模具

| 
      欧洲发明专利申请中EP4087403A1 
 本发明涉及一种附加的烘焙模板(1),其允许通过与烘焙模板(4)合作来烘焙烘焙产品(3)。附加烤模(1)设置有外表面(2),该外表面(2)被设置和设计用于与待烤的烘烤产品(3)接触。附加烤模(1)没有用于接收要烘烤的烘烤产品(3)的内接容积。附加烘烤模(1)与单独烘烤模(4)一起使用,由此将要烘烤以用于烘烤产品(3)的生面团(3)引入烘烤模(4)的内接中空空间中,并且 将附加烘焙形式(1)引入该引入的面团(3)中,使得附加烘焙形式(1)置换一定体积的面团(3)用于烘焙形式(4)中的烘焙产品(3)。此外,附加烤模(1)在附加烤模(1)的外表面(2)上的上边缘(2b)区域中设置有至少一个外围或部分外围的横向延伸的凸边(2c)。1)。以这种方式,可以常规地防止在烘焙过程中膨胀的烘焙产品(3)的面团覆盖或突出附加烘焙模(1),由此具有附加烘焙模(1)的附加烘焙模(1) 珠子 (2c) 与膨胀的面团一起上升。这样,烘烤过程的温度和时间管理以及烘烤模板(1、4)的处理被简化并且被填充的烘烤产品(3)的制备效率显着提高。  | 
    
     全面系统学习跨境侵权相关知识
戳链接了解详情:a.第三期知识产权系列课程上线了!b.课程视频节选
产品侵权检索 可包年包月 还有套餐!
戳链接了解详情:a.侵权审核包月怎么包? b.查侵权套餐,是个什么情况?
律所起诉维权 资金冻结
应诉or和解,费用低至1500rmb起
优质服务推荐


抱团交流
一个集大神卖家与逗趣同行于一体的交流群,扫码添加客服微信(备注“进群”哦)。
                                                目前100000+人已关注加入我们
                                                      
                                                      
                                                      
                                                      
                                                      
                                                      
                                                      
                                                      
                                                      
                                                      
                                                      
                                                上一篇:TikTok Shop美国:店铺税务信息不实或未处理将暂扣24%储备金;Shopee墨西哥站调整特货渠道物流成本丨跨境日报
文章为作者独立观点,不代表AMZ520立场。如有侵权,请联系我们。
                                    
