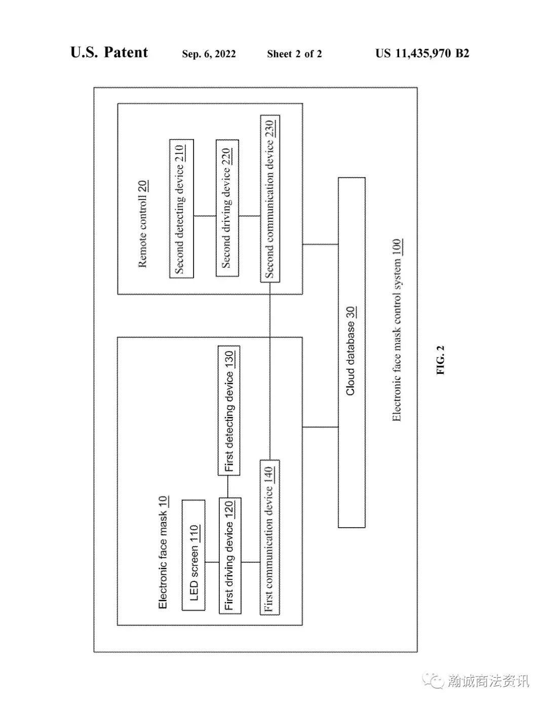
深圳卖家发起电子发光面具专利维权案!相似外观或功能的产品请尽快下架
案号:23-cv-17065














广东瀚诚律师事务所
跨境电商法律服务团队:
王悦(Avery):
CALL:13592870932【微信同号】;QQ:3573880489
詹海媚(Jannie):
CALL:13510237903【微信同号】;QQ:2045603640
王卓新律师:
CALL:15012983050【微信同号】 ;QQ:415708025
张颖馨律师:
CALL:13802252641【微信同号】;QQ: 271535048
刘海峰律师:
CALL:13823288903【微信同号】;QQ: 24878146
更多跨境电商法律资讯,请点击下方关注瀚诚商法资讯公众号:
附注:本文部分图片取自网络,若侵犯您的权益,请及时与我们联系,谢谢!
点个在看你最好看
抱团交流
一个集大神卖家与逗趣同行于一体的交流群,扫码添加客服微信(备注“进群”哦)。
目前100000+人已关注加入我们
下一篇:尘埃落定!菲律宾对卖家征收1%预扣税法规出台;报告:泰国、印度、墨西哥成国内跨境电商的高潜市场;印尼贸易部将召见TikTok
文章为作者独立观点,不代表AMZ520立场。如有侵权,请联系我们。

