再度曝光!卖家遭起诉,红光治疗仪、ArmedPet肌肉手臂和锅铲夹钳维权

在12月期间,一系列潜在的维权案件在默默发酵,如今这些案件逐渐浮出水面。
案件信息
案件号:23-cv-16994
立案时间:2023年12月21日
原告:Y**g
代理律所:Renner, Otto, Boiselle & Sklar
这是一个涉及隐秘案情的案件,原告是一位中国卖家。小Jude检索到该原告已经成功申请了两项与激光治疗仪相关的美国外观专利。
第一项专利涉及腕带激光治疗仪,其工作原理是通过红光穿透皮肤,刺激身体组织的愈合、再生和疼痛缓解。该腕带激光治疗仪具备充电功能,方便随身佩戴,可在繁忙时段轻松缓解双手酸痛。
专利的优先权是在2019年7月1日申请的中国专利,专利号为:CN201930345863.6。尽管在2019年7月30日才申请了美国外观专利,但在2021年7月27日已经得到了授权下证。

第二项专利涉及手持式疼痛缓解治疗仪器,其光面板上配有13个红光孔,与腕带激光治疗仪的工作原理相似,即红光照射在皮肤上以进行治疗。该治疗仪器的面板配备有液晶显示屏,可显示时间、电量等信息,下方还设有控制按钮。该专利是在2019年6月27日申请的,在2021年11月9日才授权下证。

案件信息
案件号:23-cv-15059
立案时间:2023年12月17日
原告:Export Commodity LLC
原告官网:goodbuy.ai/collections/all
代理律所:Sullivan & Carter LLP
Export Commodity成立于2018年,迎合了2020年COVID-19大流行期间的迫切需求,快速扩展至3D打印领域,为人们提供了必需的个人防护设备和实用品。在这个关键时刻,公司不仅致力于满足紧急需求,还注重创新和轻松愉快产品的开发。因此,ArmedPet品牌应运而生,专注于设计和制作富有乐趣、实用性和关爱的宠物产品。
ArmedPet品牌首次推出的产品采用了简单可调整的设计,通过在宠物鸡身上佩戴,独具创意地使它们看起来像是有人类或恐龙手臂。这一创新灵感取得了巨大成功,广受亚马逊、Etsy和eBay等主要市场平台用户的喜爱和欢迎。

维权商标
▼

维权版权
▼

案件信息
案件号:23-cv-16432
立案时间:2023年12月1日
原告:Allstar Marketing Group, LLC
原告官网:https://allstarmg.com/
代理律所:Sullivan & Carter, LLP
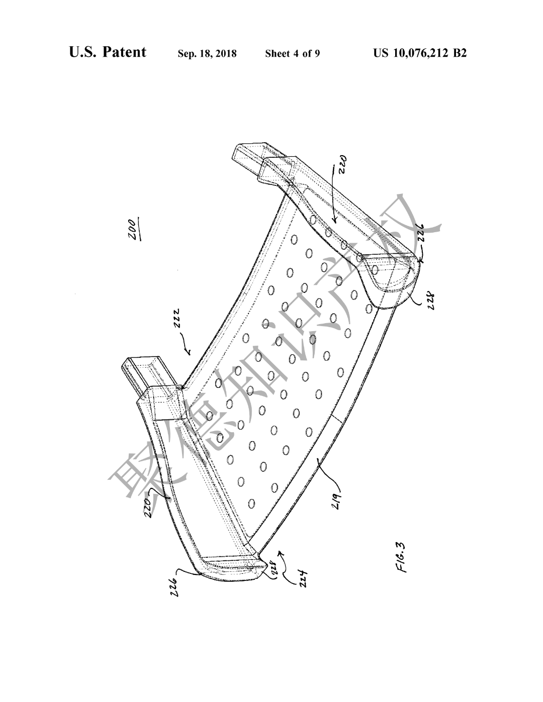
原告正在维权的产品是一款独特的二合一厨房工具,即锅铲夹钳。相较于传统厨房钳,这款工具进行了全新的升级,不仅具备独特的刮刀翻转功能,还具有卓越的夹紧固定能力,使其在厨房操作中更加得心应手。

维权商标
▼
该维权产品的商标为“Clever Tongs”,属于21类目家庭用具,涵盖了厨房用的钳子和抹刀,以及相关的服务钳。

锅铲夹钳发明专利
▼
这款产品的设计创新,不仅使其能够轻松完成刮刀的任务,还能作为夹子灵活运用,为用户提供更为便利、多功能的厨房体验。

产品的火爆并非偶然,卖家务必避免陷入侵权的“陷阱”中。记住,一个品牌不会毫无原因地突然受欢迎。如果你在销售红光治疗仪、ArmedPet肌肉手臂和锅铲夹钳等产品,请仔细考虑是否继续销售,继续销售很大可能会被起诉。
与此同时,很多原告在起诉侵权时选择隐瞒案件信息,这让我们难以及时了解侵权的具体内容,也增加了规避侵权风险的难度。因此,大家务必保持警惕,尤其是对于那些突然走红的产品。
如果已经侵权,可以采取以下建议:
停止侵权行为:立即中止销售侵权产品。
移除侵权内容:在销售平台上彻底删除与侵权产品相关的信息,包括商品列表、描述和图片。
联系原告:主动与原告或其代理联系,表达真诚歉意,并考虑把冻结金额当和解金赔偿对方。(这点适合冻结金额较少的卖家)
寻找帮助:寻求专业法律援助。由于每个案件都是独特的,被起诉的卖家需要根据店铺情况、冻结金额、处理时间、侵权程度等因素来选择最合适的处理方式。
别划走,后面还有精彩回顾
推荐阅读
抱团交流
一个集大神卖家与逗趣同行于一体的交流群,扫码添加客服微信(备注“进群”哦)。
目前100000+人已关注加入我们
上一篇:【TRO 23-cv-16432】这款亚马逊家居爆品发起商标+版权维权,跨境卖家们速排查下架并提现!
文章为作者独立观点,不代表AMZ520立场。如有侵权,请联系我们。




