突然爆火!这款披萨铲风险如何?

关注“跨境侵权哥”微信公众号,接收每日侵权资讯;
文末扫码添加侵权哥微信,发送“加群”进卖家交流群!

这款披萨铲最近有点火爆,它带有一个类似传送带的设计,可以把披萨平稳的转移,不会使披萨变形或者馅料散落。


确实是一个很有创意并且很实用的设计,这种产品没有专利我是不信的。经检索,我们发现如下专利:
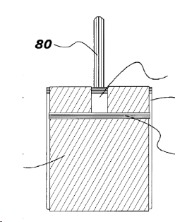
美国发明专利US6068313A
专利公开了一种比萨桨装置,其可用于在制备表面和比萨石或其它加热表面之间转移比萨或其它食品。该装置包括支撑手柄部分、用于支撑比萨饼或具有支撑表面的其他食品的抹刀部分、环形带和环形带手柄。当用于披萨时,披萨可以在制备表面上制备。准备好烹饪时,将比萨饼移到传送带上并运送到预热的比萨饼石上。该装置用于通过在比萨下方向前移动该装置来将比萨从制备表面转移。通过保持环形带手柄静止,使环形带围绕刮刀部分旋转。与环形带旋转相结合的向前运动导致比萨饼被传送到比萨饼桨装置而不受干扰。将装置向后拉,同时保持环形带手柄静止,使比萨饼类似地从环形带传送到比萨饼石或其他所需表面上。
从专利的概述来看基本是与这个产品相符的,不过这项专利是1999-07-12提交的申请,2019年保护期结束,专利失效不受保护了。所以现在是不会侵权这项专利的。
我们暂时也没有检索到其他关于这款产品的专利,目前来看风险较小。

全面系统学习跨境侵权相关知识
戳链接了解详情:a.第三期知识产权系列课程上线了!b.课程视频节选
产品侵权检索 可包年包月 还有套餐!
戳链接了解详情:a.侵权审核包月怎么包? b.查侵权套餐,是个什么情况?
发明专利 外观专利 分析规避
出具分析报告,提供规避建议,详情请私聊侵权哥
律所起诉维权 资金冻结
应诉or和解,费用低至1500rmb起
美国版权 英国外观专利 注册
费用低,时效快,你的爆款值得被保护!
优质服务推荐
抱团交流
一个集大神卖家与逗趣同行于一体的交流群,扫码添加客服微信(备注“进群”哦)。

目前100000+人已关注加入我们












文章为作者独立观点,不代表AMZ520立场。如有侵权,请联系我们。