超细节的婴儿鼻屎耳屎清洁工具oogiebear专利侵权分析
*文末扫码添加侵权哥好友并备注“加群”即可加入卖家交流群*

oogiebear 在这里为您提供最好的全面婴儿护理。这款有机婴儿胸部揉搓套装非常适合旅途中的父母进行终极婴儿鼻子护理程序!使用 oogiebear® 吸鼻器(也适合小耳朵!)安全有效地去除小鼻子上的顽固粘液和干燥的鼻屎。
专利情况
WO2015069559A1 用于提取干燥的鼻粘液或耳垢的装置

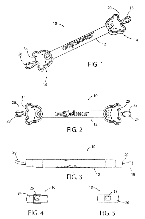
本专利共包扩3个部分的内容,分别为:提取耳垢提取部件、止动件、手柄。
1、提取部分16包括限定开口或孔28的环26。环26被配置为允许从耳道中提取耳垢或从鼻孔中提取粘液;
2、在手柄部分 12 的一端,位于手柄部分 12 和碗状物 18 之间的是第一止动件 20,其宽度垂直于手柄部分 12 的长度和碗状物 18 插入耳道或鼻孔的方向,防止止动件20插入碗18所插入的鼻孔或耳道,并限制碗18可插入鼻孔或耳道的深度。
3、图示的手柄部分12是细长构件,其具有大致矩形的轮廓,其长度、宽度和厚度在使用过程中便于抓握装置10。

专利分析
侵权哥认为,该专利的核心是止动件的设计,也就是图中熊脑袋的部分,实际上不仅仅是熊,任何其他合理形状都处于专利的保护范围之内,其主要用途是为了防止过度深入婴儿鼻孔或耳朵,以免对婴儿造成伤害。

符合以上特征则有侵权风险!
全面系统学习跨境侵权相关知识
戳链接了解详情:a.第三期知识产权系列课程上线了!b.课程视频节选
产品侵权检索 可包年包月 还有套餐!
戳链接了解详情:a.侵权审核包月怎么包? b.查侵权套餐,是个什么情况?
发明专利 外观专利 分析规避
出具分析报告,提供规避建议,详情请私聊侵权哥
律所起诉维权 资金冻结
应诉or和解,费用低至1500rmb起
美国版权 英国外观专利 注册
费用低,时效快,你的爆款值得被保护!

抱团交流
一个集大神卖家与逗趣同行于一体的交流群,扫码添加客服微信(备注“进群”哦)。
目前100000+人已关注加入我们
下一篇:邮政旗下物流科技企业上市;Temu和SHEIN美国用户逼近亚马逊
上一篇:唏嘘!曾经的品牌出海案例典范Jingus倒塌的悄无声息
文章为作者独立观点,不代表AMZ520立场。如有侵权,请联系我们。
