抓紧自查!圣诞热卖品侵权,大批listing面临下架危机!
本周分享最新起诉的两个专利案件!
案件一:太阳能灯串发明专利侵权案
原告Hong Kong Xingtai International Trade Co. Ltd是来自中国香港的一家贸易公司,在香港和比利时均设有分部,于10月30日起诉专利侵权,由BISHOP DIEHL & LEE, LTD律所代理,案件号 23-cv-15481,主要为一款户外太阳能灯串照明系统专利维权。
案件情况及侵权分析:
来自香港的贸易公司起诉太阳能控制系统维权立案在2023年10月30号发起,案件编号2023-cv-15481,本次案件主要针对的是太阳能系统的专利进行,太阳能控制系统的专利比较早,早在2010年10月就已下证,本次该案涉及侵权店铺127个,暂未冻结账户。
品牌起诉理由:发明专利侵权
引证的具体侵权专利如下:
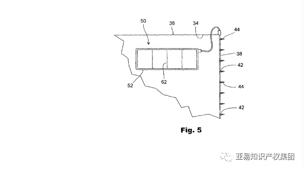
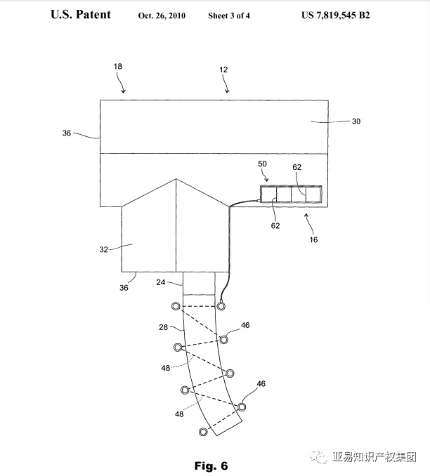
案件主要涉及以下美国发明专利,专利名称Outdoor solar decorative lights,专利号US7819545B2:
案件二:迪娜·亚历山大罗夫娜·厄尔版权侵权案件
原告DINA ALEXANDROVNA EARL,是联邦版权保护的所有者,保护原告的图像和插图的创造性内容。厄尔是一位受过专业训练的艺术家,她对野生动物和美术的热爱使她发展出了一种非常详细的作品风格。最新案件在23年11月2号发起,案件编号23-cv-15598。
案件情况及侵权分析:
Dina Alexandrovna Earl,最新案件在2023年11月2号发起,案件编号23-cv-15598 ,本案涉及的版权是两张可爱的动物图片,除此之外,原告还有其他更多优秀画作的版权,请卖家们仔细排查,避免侵权!
品牌官网:https://dina-earl.pixels.com
起诉理由:版权侵权
版权侵权引证的具体侵权图案如下:
总结:
本次两大品牌的起诉律所分别如下:
·太阳能灯串发明专利侵权案律所:BISHOP DIEHL & LEE, LTD.
·厄尔版权侵权案律所:Keith
每年11月圣诞购物进入热销阶段,如今正值旺季冲刺关键时刻,listing不容有失。律所很容易在这个时候盯上圣诞热卖品!
侵权雷区囊括商标、专利、版权极易踩雷,卖家一定要做好自查工作,一旦发现相关的产品侵权后立即下架!避免避免踩中侵权雷区面临封店资金冻结的风险!
若您需要专业的侵权咨询服务,或是想了解自己的产品有无侵权,欢迎留言咨询~
更多侵权个案
扫描下方二维码
针对性,一对一免费咨询分析
抱团交流
一个集大神卖家与逗趣同行于一体的交流群,扫码添加客服微信(备注“进群”哦)。
目前100000+人已关注加入我们
下一篇:凭什么Ta做的品牌总能火?赛维时代“批量”造爆款的出海内功 | Q3榜单来了
上一篇:产品相关丨小币种收款难?壹云汇助力出海企业实现收款自由!
文章为作者独立观点,不代表AMZ520立场。如有侵权,请联系我们。
