礼物包装纸分配器,胶带分配器,专利侵权风险要注意!
关注“跨境侵权哥”微信公众号,接收每日侵权资讯;
文末扫码添加侵权哥微信,发送“加群”进卖家交流群!
:

Wrap Buddies适合任何喜欢送礼但难以管理礼品包装过程的人。礼品包装卷的每一侧都有一个伙伴将礼品卷牢固地固定在桌面边缘,这样您就知道您的卷在哪里,并可以轻松地从中取出纸张。它们在您切割时固定住纸张,使您的线条更直、更干净。它们使礼品包装成为一项更无压力的工作,从而释放您的创造力。
单个Wrap Buddies可以用来分配胶带,两个同时使用时不止可以用作包装纸的分配,在厨房等其他环境中也可以使用:
专利情况
美国发明专利US10472114B2

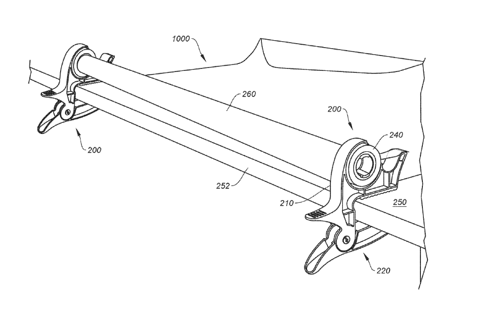
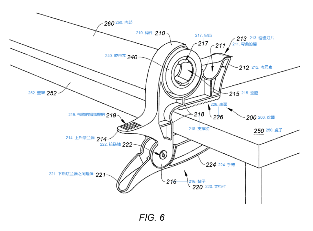
本发明的一个示例性实施例涉及一种便于用包裹材料包裹和捆扎物品的系统。

该系统包括一对不同且独立的设备,没有物理连接结构将它们连接在一起作为一个整体单元,一个设备适合于相对固定,与另一个设备面对间隔关系靠在桌子的垂直侧边架上,每个设备 适于接合包装纸卷的相应端部以在其间支撑包装纸卷。每个装置还包括上框架构件,该上框架构件适于以承受压力接触水平台面,并且包括形成在其面向内侧面上的细长心轴,该细长心轴从面向内侧面在横向于其的方向上延伸并且适合于 插入包装纸卷的中空内端。

上框架构件还包括在与心轴相反的一侧形成在其中的凹腔,该腔适于将带卷保持在其中以在用包装纸对物品进行编带时获得所需的带长度,以及后上凸缘构件提供 用于由用户的拇指抓握的抓握表面。每个装置还包括在铰链轴处附接到上框架构件的可枢转的夹持构件,该夹持构件适于抵抗弹簧压力被致动以便相对于上框架构件打开并将装置附接到该上框架构件的垂直侧边架。工作台,夹持构件和上平面构件在承受压力的情况下接触各自的工作台顶面和底侧表面,使得心轴平行于工作台顶面。

简单来说,这项专利的结构就是一个桌面固定夹子加一个包装卷纸的固定结构。类似结构均有侵权风险!
全面系统学习跨境侵权相关知识
戳链接了解详情:a.第三期知识产权系列课程上线了!b.课程视频节选
产品侵权检索 可包年包月 还有套餐!
戳链接了解详情:a.侵权审核包月怎么包? b.查侵权套餐,是个什么情况?
发明专利 外观专利 分析规避
出具分析报告,提供规避建议,详情请私聊侵权哥
律所起诉维权 资金冻结
应诉or和解,费用低至1500rmb起
美国版权 英国外观专利 注册
费用低,时效快,你的爆款值得被保护!
优质服务推荐


抱团交流
一个集大神卖家与逗趣同行于一体的交流群,扫码添加客服微信(备注“进群”哦)。
目前100000+人已关注加入我们
文章为作者独立观点,不代表AMZ520立场。如有侵权,请联系我们。
