德国设计磨刀器!公开阶段的专利也要特别注意!
本期推文末端已向各位卖家推荐“两大合作伙伴”,感兴趣可扫码添加哦~
磨刀器产品对于大部分卖家来讲相对比较陌生,毕竟在往年厨具产品中,磨刀器产品是不冒尖的。也就是说想要热爆,绝对少见!

今天要介绍的这两款磨刀器都是来自同一个德国品牌:HORL

独立站:https://www.horl.com/us/en/
Amazon品牌备案店铺:https://www.amazon.com/stores/HORL1993/page/C726C975-ACA7-4DB8-B892-1ABA0F5A9639?ref_=ast_bln
专 利 方 面
自2018年开始初创商标保护以后,权利人后脚就开始进行全球专利布局,当然,德国品牌肯定是德国专利是要有的。其他站点权利人也没忘注册。以下是两款产品的专利信息,均是有效保护期状态。
美国专利:US2023294246A1;
加拿大专利:CA3192888A1 ;CA3194502A1;
德国专利:DE102020123501B3 ;DE102020123499A1;
欧洲专利:EP4210906A1 ;EP4210905A1;
日本专利:JP2023539927A ;JP2023539928A;
世界专利:WO2022053517A1;WO2022053479A1


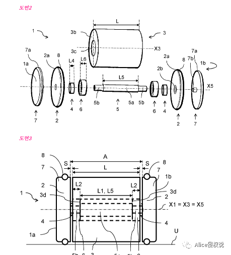
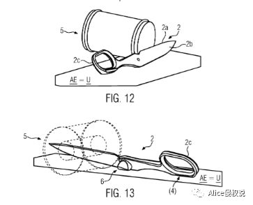
由于专利图已经勾画的十分清晰了,
所以适用途径及发明专利原理ALice就不再复述了...
卖家们就休要再眼红了哦!
有一说一
跟卖有风险,卖货请谨慎
好了,以上则为本期“磨刀器”的全部侵权内容。谨防专利版权侵权
请及时关注侵权资讯,排查自有选品库,谨防专利/版权侵权。
温馨提示:
专利侵权风险:☆☆☆☆☆
优质供应商强烈推荐
主营:小蓝海 全球专利布局 自主研发设计 私模定制 全品开发 欢迎扫码添加

优质服务商推荐
推荐
优质服务商
青枫法务(知识产权) 主营:TRO侵权案件和解应诉 专利商标版权注册

关注ALice,侵权不迷路
,有侵权问题直接私信来call!
抱团交流
一个集大神卖家与逗趣同行于一体的交流群,扫码添加客服微信(备注“进群”哦)。
目前100000+人已关注加入我们
下一篇:旺季排雷!这两款产品正在维权!眼线笔模具+Whirlpool电器
文章为作者独立观点,不代表AMZ520立场。如有侵权,请联系我们。
