速看!规避侵权:RawSueshii作品、屏风、桶装水盖、宠物门锁,部分有被告名单

案件号:23-cv-14954
立案时间:2023年10月16日
原告:Christina L. Murray
原告官网:https://www.rawsueshiiart.com
代理律所:Keith
Christina L. Murray对动漫和迪士尼媒体的热爱激发了她创作充满活力和欢乐的作品,在她的个人品牌“RawSueshii”下创作艺术品、书籍、网络教程、贴纸和其他产品。

以下是维权的作品
?

点击查看大图
▼
案件号:23-cv-14034
立案时间:2023年9月22日
原告:Premium Home Decor LLC
代理律所:Flener IP Law, LLC
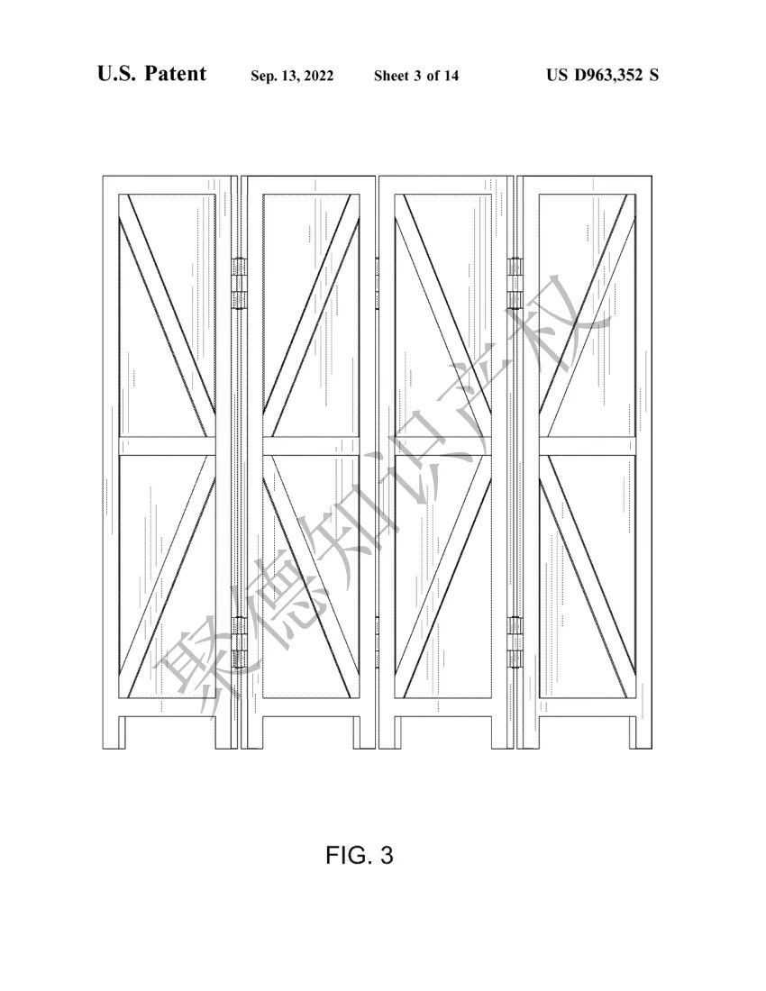
原告公司专注于高级家具装饰品的制造,拥有一系列家具装饰产品,包括屏风、木箱、置物柜等。本案中,原告公司正在进行屏风产品维权。这款屏风采用高品质木材制成,呈现出复古质朴的外观,由四块面板组成。不仅如此,这款产品还以便捷的特点而著称,用户可以直接开箱即用,无需繁琐的安装程序。
外观专利D963352:产品外形呈现“/”“\”的形状。

点击查看大图
▼
外观专利D970909:产品外形呈现“×”的形状。

点击查看大图
▼
案件号:23-cv-14304
立案时间:2023年9月29日
原告:H** Chen
原告官网:https://fineartamerica.com
代理律所:Davis & Carter LLC
这家公司位于厦门,专注于橡胶制品的制造,主要生产和销售水瓶盖。这些水瓶盖采用了多口设计,具备出色的密封性和易开启的特点。
在本案中,维权的产品是一种可多次使用的水瓶盖,它采用全硅胶材质,确保了产品的安全性和可靠性,为用户提供了放心的使用体验。

点击查看大图
▼
案件号:23-cv-06296
立案时间:2023年8月28日
原告:FLEXLATCH LLC
原告官网:https://flexlatch.com/
代理律所:Sullivan & Carter LLP
FLEXLATCH宠物门锁,可以轻松挂在门把手上,门微微打开,使猫咪可以自由进出,同时有效地避免了大型宠物进入,确保猫咪不受干扰,安享自由出入。
以下是维权的作品
?

FLEXLATCH维权案牵涉到394名被告。根据最新的法院官网信息,大多数被告尚未进行侵权处理。如果没有和解或提出应诉,相应账号可能会遭到永久冻结。
需要被告名单
可以联系小Jude
▼

在跨境电商领域,知识产权侵权屡见不鲜。卖家们常常发现自己卷入侵权纠纷,这可能涉及新品牌的起诉,也可能是同一品牌的多次起诉。在这个环境下,许多卖家可能会尝试蹭热度,模仿或涉足某个热门品牌或产品,希望能够获得更多的销售机会。殊不知,这种行为已经造成侵权了。
有些卖家有侵权行为,但发现自己没有被原告起诉就抱有侥幸心理,但这并不意味着一直处于安全状态。品牌拥有者有权在未来起诉侵权行为,而被告很可能会面临高额的赔偿、财产冻结,甚至被禁止在电商平台上经营的风险。
如果不幸被侵权方提起诉讼,收到了平台通知邮件,包含了案件号,如“23-cv-****”,这意味着原告已在美国法院对您提起了侵权诉讼。这是一个严肃的法律程序,未处理的侵权诉讼导致账户永久冻结、冻结的金额被原告划走。所以面对被起诉时,被告应该及时处理。详细的诉讼流程大家可以点击链接查看:跨境电商侵权被起诉怎么办?带你了解原告和被告的诉讼流程及常见问题
别划走,后面还有精彩回顾
推荐阅读
抱团交流
一个集大神卖家与逗趣同行于一体的交流群,扫码添加客服微信(备注“进群”哦)。
目前100000+人已关注加入我们
文章为作者独立观点,不代表AMZ520立场。如有侵权,请联系我们。




