三起新案件,电视机顶盒和电子称商标维权案以及量油尺适配器发明专利维权案件!
近400个店铺被投诉下架,宠物门锁版权案,有名单!还有一起屏风专利维权案件!
GBC携新案件组合工具商标维权来袭!大热IP 星际迷航商标维权和国人水瓶盖专利维权案,有销售相关产品的速看了!!!
爆款玩具国人原告专利维权和蕾丝花边版权案,300多家亚马逊店铺被告,后附名单!!
FOREO品牌多个专利维权,国人原告旋转展示架专利维权;以及Keith连发两起新的版权案件来袭!
警惕!折叠风扇和冷风机专利维权案件还有一起按摩器商标维权案,速看!!!
part1
「TV set-top box 电视机顶盒」
23-cv-14402 TV set-top box 电视机顶盒
Net Super Market Inc
DIRECTION IP LAW
品牌介绍
本案的产品就是电视机顶盒,就是一个连接电视机与外部信号源的设备。它可以将压缩的数字信号转成电视内容,并在电视机上显示出来。使用户能在现有电视机上观看数字电视节目,并可通过网络进行交互式数字化娱乐、教育和商业化活动。

注册商标
以下为原告注册的文字商标,未经授权,千万不能直接使用!





刊登举例
原告的注册商标是一定不能直接使用的,大家注意!

part2
「FitTrack 电子秤」
23-cv-14623 FitTrack 电子秤
FitTrack, Inc
Bishop Diehl & Lee, Ltd
品牌介绍
原告FitTrack, Inc是一家加拿大的公司。他们设计研发的这款电子体重秤使用两种不同的频率来准确找到 17 种不同的测量,包括体重指数、肌肉质量和肥胖水平,还可以在智能手机设备上保持您的测量结果。追踪身体健康指标的进度,并设置体重提醒。
注册商标
以下为原告注册的文字商标,未经授权,千万不能直接使用!

刊登举例
大家注意,原告的注册商标一定不能直接用!

part3
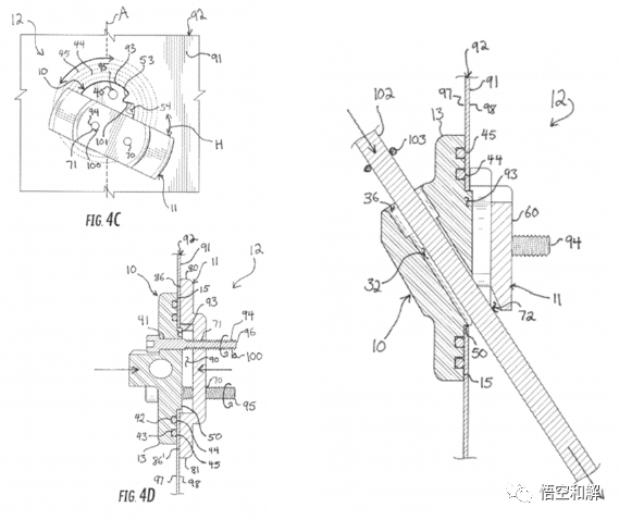
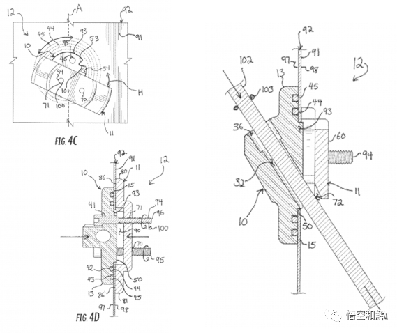
「Dipstick adapter assembly 量油尺适配器」
23-cv-23867 Dipstick adapter assembly 量油尺适配器
Metzfab Industries, LLC et al
Rbaeza
品牌介绍
原告Metzfab Industries, LLC et al是一家属制造商和金属产品设计商。METZGER是这个公司的所有人和创始人,同时他自己也是一位经验丰富的金属制造商和金属产品设计师。
注册专利
本案为发明专利维权,请有销售相关类目的卖家朋友们仔细核对,如有雷同的设计,及时下架处理!



刊登举例
类似以下刊登是有侵权风险的

更多侵权预警,欢迎关注悟空和解公众号:wukonghejie
或者抖音搜索:悟空知识产权
案件和解咨询相关业务可以直接加悟空微信:wukonghejie6
2022最全案件列表以及品牌详情尽在官网:
https://wukonghejie.com/2022-case/
也欢迎进入我们的侵权防范信息交流QQ群:1057443164(2群)
(群内有专业处理案件的同事随时给大家排忧解难,最新消息同步更新,先人一步,没事进来唠唠嗑!)
1.悟空累计处理案件超10000起
2.最全案件信息,一手资料最快发布
3.中国、美国当地均有合作律师,可随时上庭
4.前期无定金,可议价多次,不和解不收费
5.律师费市场性价比最高,当天处理,案件回复快
6.可多次议价 费用市场最低,小额案件限时优惠

抱团交流
一个集大神卖家与逗趣同行于一体的交流群,扫码添加客服微信(备注“进群”哦)。
目前100000+人已关注加入我们
文章为作者独立观点,不代表AMZ520立场。如有侵权,请联系我们。
