如何做好精细化投放,三招助你提升广告效益!
据统计,截止2021年底,亚马逊平台的站内流量越来越贵,站内广告费用占比逐步上升。随着广告成本不断攀升,卖家的利润空间在不断被压缩,以前粗放式的广告投放不再适用于当下的环境,只有精细化的广告投放才能以最少的成本获得最大的效益。
想要做好精细化的广告投放,以下问题难以忽视:
如何分析广告数据,对广告进行调整优化?
如何合理地设置广告预算,控制成本?
如何快速有效地监测广告效果?
积加ERP以解决卖家广告投放痛点为目的,研发出广告3大主要功能,为卖家提供智能的广告解决方案,帮助卖家做好广告策略,减少广告浪费,提升广告投放效益。
运营每天要分析广告表现和优化广告活动,但是广告数据很多,如果只是从零散而独立的单点数据结果出发,难以着手优化。想要优化好广告,理解广告数据背后的意义以及它们之间的逻辑关系很重要:

所以买家的行为逻辑是:

而相对应的数据逻辑是:

因此,根据买家的购物行为,在分析广告数据时,首先要关注曝光量,在曝光充足的情况下,再进一步考虑点击率和转化率。
理解基础数据逻辑后,如何高效、准确地根据各个数据指标的表现来确定优化的方向?小G向大家推荐积加ERP「广告管理」功能,可以快速查看各指标数据及其变化趋势,帮助大家做出更准确的判断。

积加ERP「广告管理」功能

积加ERP「广告管理」功能
具体如何优化,积加小G将几种常见的情况整理如下:

想让广告投放更高效,还可以巧用「广告分析-ASIN表现」功能,能够以ASIN维度来汇总展示同一ASIN在各个广告活动或广告组中的表现,表现不好的活动在对比下一目了然,可以暂停表现不好的活动下的该ASIN投放。

同一商品在不同广告活动中的表现
例如,点开ASIN前的“+”,发现ASIN在多个活动中有投放,而A活动的表现很好,B活动表现很差,白白烧钱,则可以进入B广告活动暂停该ASIN的投放。
同时如果想优化该ASIN的关键词投放,可直接点击关联关键词,该ASIN匹配到的所有关键词的表现都将展示出来,表现好的关键词可以提高竞价,表现不好的关键词则可以暂停投放。

广告优化后表现越来越好,是不是就可以不管了呢?其实不然,随着旺季流量上涨,如果没有合理设置广告预算,在流量高峰期时,广告就先跑完了,效果大打折扣!那么如何精准地分析广告预算呢?
首先,要找出超预算的广告活动,大家可以在积加商品/展示/品牌广告活动管理页面查看。

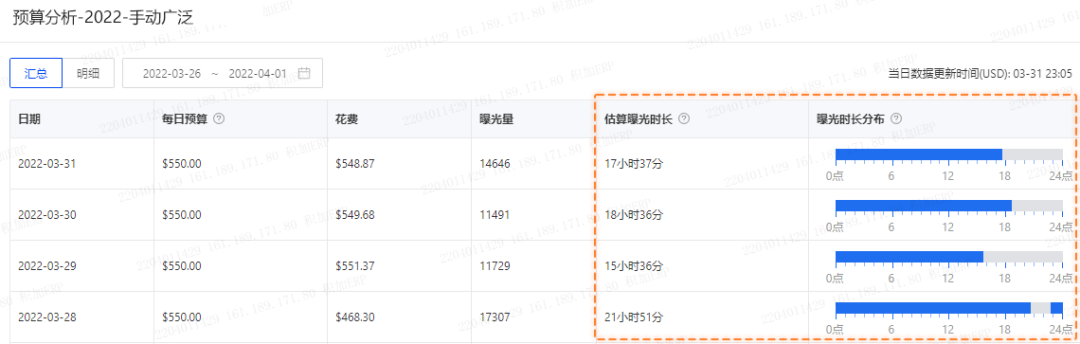
点击[超出预算]则可以看到该活动每天的广告花费及曝光时长。例如以下广告活动,每天下午15-18点广告预算就跑完了,基本无法覆盖到晚上的时段。

找到超预算的广告活动之后,又要考虑该活动:

来,跟着小G继续往下看~
首先要分析该广告的表现,看Acos的高低,如果该广告的Acos在该产品类目或公司定义的健康值之内,例如在10%-15%之间,那么说明这个广告表现已经比较优秀了,则可以根据[建议预算]适当调高。

如果该广告的Acos并没有很低,那么我们可以根据该广告活动中投放的商品实际出单高峰期,来进行动态的[分时预算调整],可以在[商品运营分析]中,查看该投放商品的24小时出单趋势图。

此时,可以在新版[分时策略NEW]中给该广告活动添加一个分时调整预算的策略,在非销售高峰期,降低预算,而在销售高峰期,适当提高预算,以此来减少广告浪费,同时增加有效曝光。

最后,还可以通过查看该活动[预算分析->明细]来检验查看当天各个时间段的曝光及预算花费情况,从而分析出更合适的预算值。

因此,对于表现好的广告活动或者广告词,在能接受的范围内,要给予充足的广告预算,才能给产品带来更好的排名和更多的销量。
广告活动的日常调整是否能达到预期效果?广告曝光增加了吗?广告转化率和广告销售额是否上涨?这需要运营进行周期性的广告数据复盘。
访问积加【广告看板】页面,查看多店铺的数据指标,一个界面总览基本指标、趋势分析、投放广告分布、广告花费/广告销售额TOP10,帮助你多维度分析复盘广告效果。同时,点击店铺或广告活动能快速跳转到管理页面,集看数与操作于一体。


不少卖家疑惑,广告指标代表什么我都懂,但是它们在什么范围内才是合理的水平呢?Acos是越低越好吗?其实不同品类产品,甚至在产品打造的不同阶段,都会有不同的标准。
小G建议卖家根据公司的实际情况,不断测试,持续优化,寻找到合适的ACOS,或者CVR\CTR值。
「关键指标排行榜」就是帮助卖家快速诊断,定位到Acos或是转化率、点击率低于公司标准的广告活动,点对点进行优化调整,节省运营分析时间。

调整完某具体指标不达标的广告活动或投放后,卖家还想要进一步针对关键词投放做出更细致全面的优化调整。小G建议卖家使用「广告表现」气泡图来快速了解广告曝光和转化情况,并做出相应的优化调整。具体调整方案如下图展示:

圆圈半径的大小代表曝光量的多少

圆圈半径的大小代表曝光量的多少
积加ERP广告智能解决方案,「广告看板」、「广告管理」、「广告预算分析」等广告实用功能帮助卖家实现在广告投放全过程精细化,在控制成本的前提下,提高商品曝光度、销量。

本文内容由积加提供
点击【阅读原文】,立即体验积加ERP!!
抱团交流
一个集大神卖家与逗趣同行于一体的交流群,扫码添加客服微信(备注“进群”哦)。
目前100000+人已关注加入我们
上一篇:2022年斋月爆单最全攻略||把握亚马逊 Ramadan Sale,助你掘金新蓝海!
文章为作者独立观点,不代表AMZ520立场。如有侵权,请联系我们。
